LEMON Manuals: Even more car manuals for everyone: 1960-2025
Home >> Acura >> 1987 >> Legend LS, Automatic >> Repair and Diagnosis >> Body & Frame >> Power Windows >> Testing >> Power Window Relay Test
April 5, 2026: LEMON Manuals is launched! Read the announcement.

Power Window Relay Test

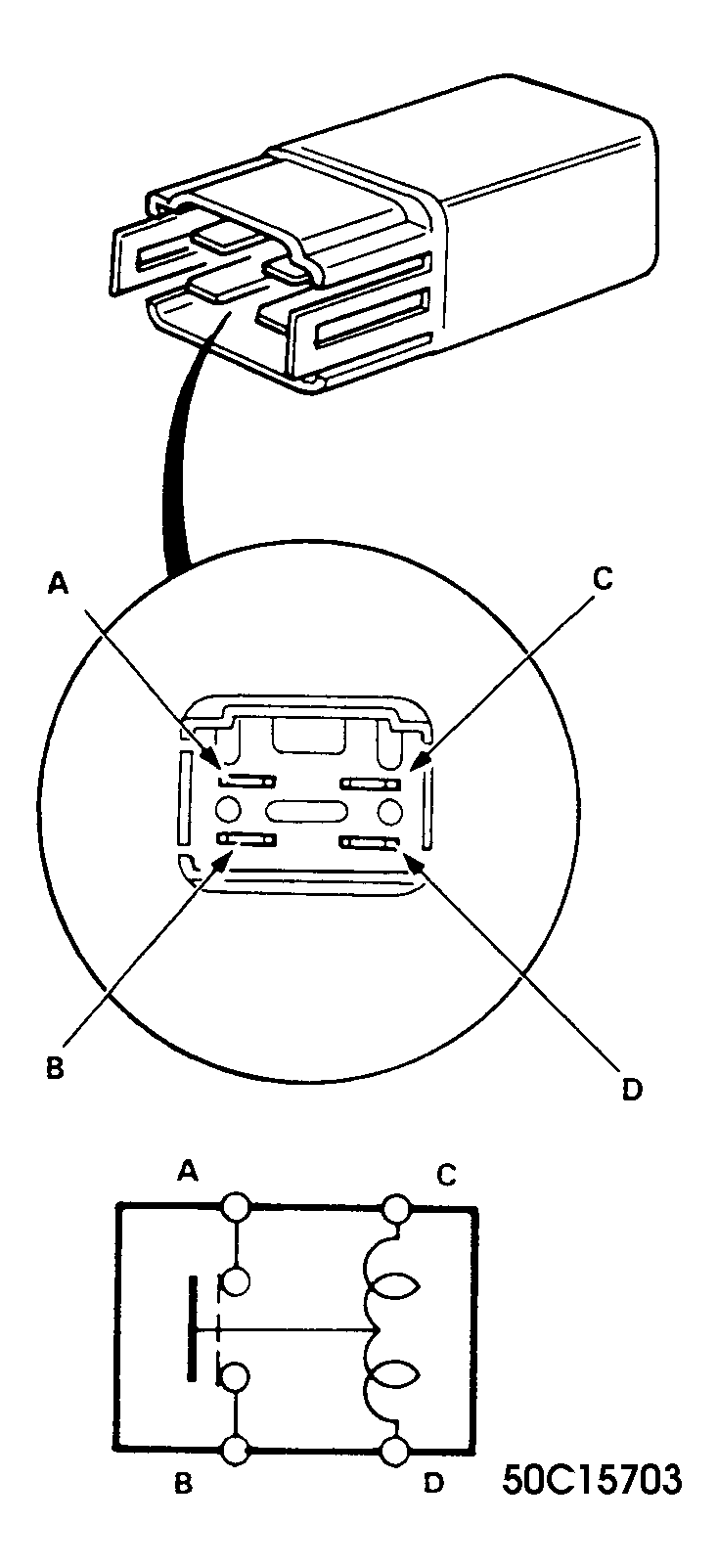
Remove power window relay from underhood fuse/relay box. Check for continuity between terminals "A" and "B" terminals when battery is connected to "C" and "D" terminals. Continuity should not exist when battery is disconnected. See Fig 1 .

Fig 1: Power Window Relay Terminal ID
G50C15703Courtesy of AMERICAN HONDA MOTOR CO., INC.