LEMON Manuals: Even more car manuals for everyone: 1960-2025
Home >> Acura >> 1988 >> Legend Base, 4D Sedan, Standard >> Repair and Diagnosis >> Engine Performance >> Ignition System >> Operation >> Ignition Timing Control
April 5, 2026: LEMON Manuals is launched! Read the announcement.

Ignition Timing Control

Ignition timing advance curve is controlled by the Electronic Control Unit (ECU). The ECU controls timing based on engine speed, intake manifold vacuum (engine load) and coolant temperature.

The ECU detects engine speed through the TDC/CRANK sensor (TDC/CRANK/CYL sensor on some models); engine load through the MAP sensor; and engine temperature through the coolant temperature sensor.

For further sensor diagnostic information, see FUEL INJECTION SYSTEM - PGM-FI article in ENGINE PERFORMANCE.

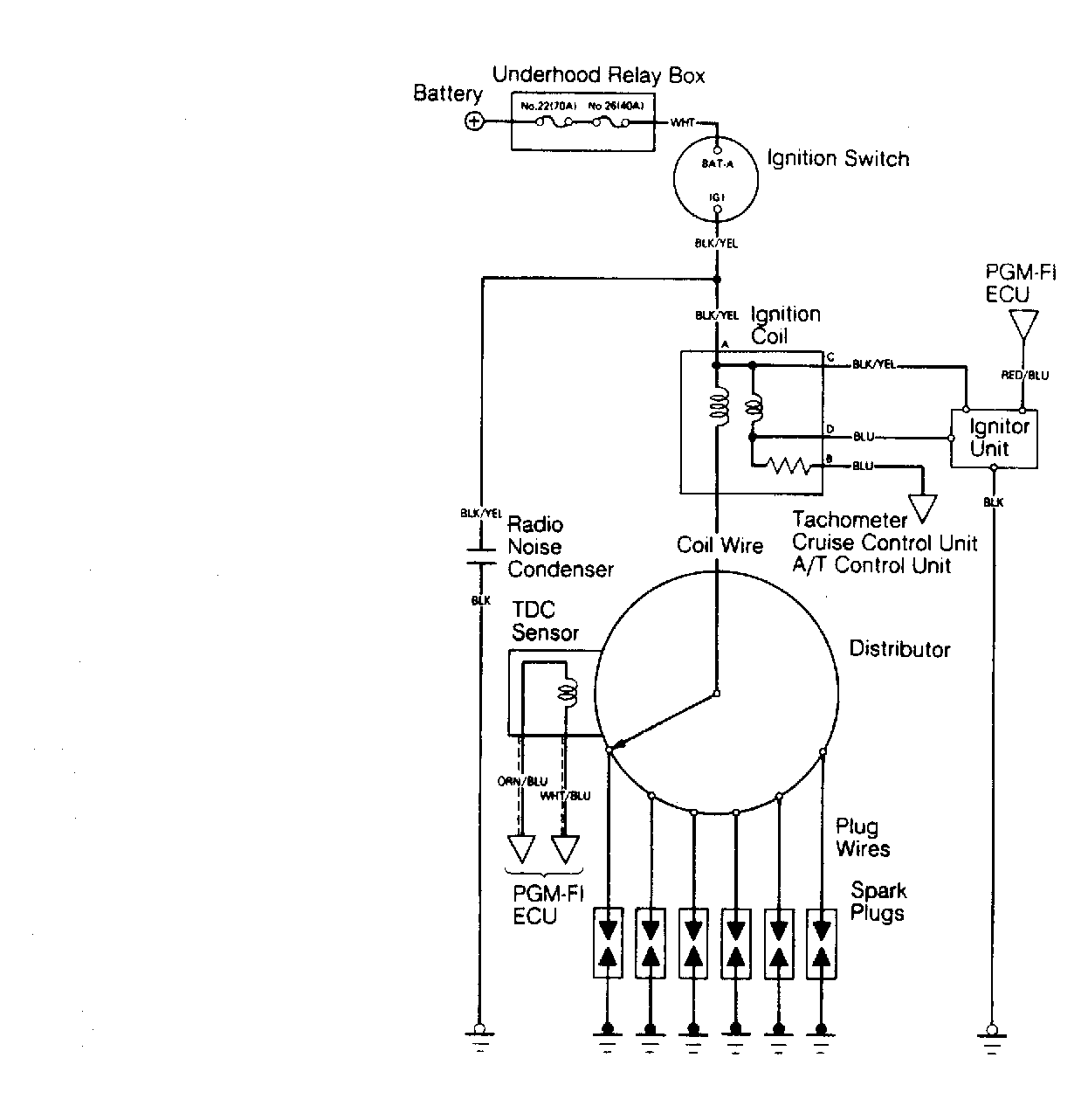
Fig 1: Ignition System Schematic (Legend & Legend Coupe)
G94156Courtesy of AMERICAN HONDA MOTOR CO., INC.