LEMON Manuals: Even more car manuals for everyone: 1960-2025
Home >> Acura >> 1994 >> Integra (GS-R) L4-1797cc 1.8L DOHC (VTEC) >> Repair and Diagnosis >> Diagrams >> Electrical Diagrams >> Powertrain Management >> Computers and Control Systems >> Main Relay (Computer/Fuel System)
April 5, 2026: LEMON Manuals is launched! Read the announcement.

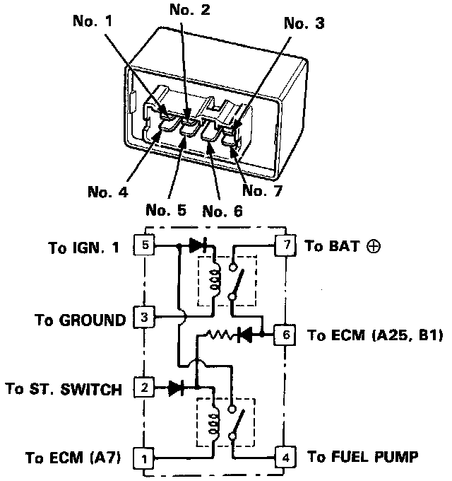
Main Relay (Computer/Fuel System)

PGM-FI Main Relay Schematic View: