LEMON Manuals: Even more car manuals for everyone: 1960-2025
Home >> Acura >> 1994 >> Integra GS-R, 4D Sedan >> Repair and Diagnosis >> Accessories & Equipment >> Warning Systems >> Integrated Control Unit >> Component Tests >> Chime
April 5, 2026: LEMON Manuals is launched! Read the announcement.

Component Tests: Chime

  1. Remove the dashboard lower cover and knee bolster.
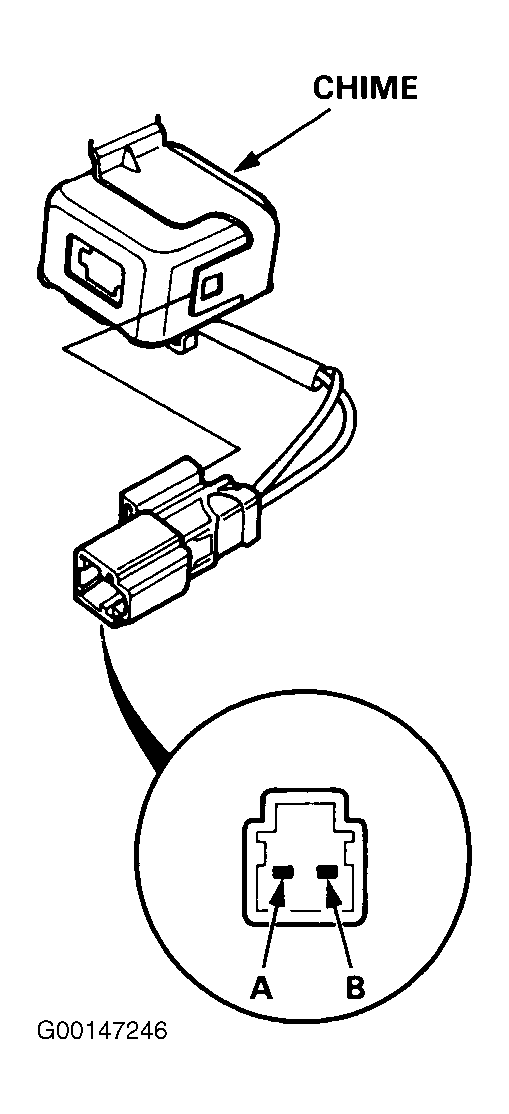
  2. Disconnect the 2-P connector from the dashboard wire harness. See Fig 1 .
  3. Test the chime by connecting battery power to the "A" terminal and ground to the "B" terminal, and cycling the power on-off repeatedly.
  4. If the chime fails to sound every time power is cycled, replace it.
Fig 1: Locating & Identifying 2-P Connector
G00147246Courtesy of AMERICAN HONDA MOTOR CO., INC.