LEMON Manuals: Even more car manuals for everyone: 1960-2025
Home >> Acura >> 1994 >> NSX Standard >> Repair and Diagnosis >> Engine Performance >> System >> Engine Controls - Self-Diagnostics >> Component Testing >> VTEC Valve Inspection
April 5, 2026: LEMON Manuals is launched! Read the announcement.

VTEC Valve Inspection

  1. Disconnect the 2P connector from the VTEC solenoid valve.
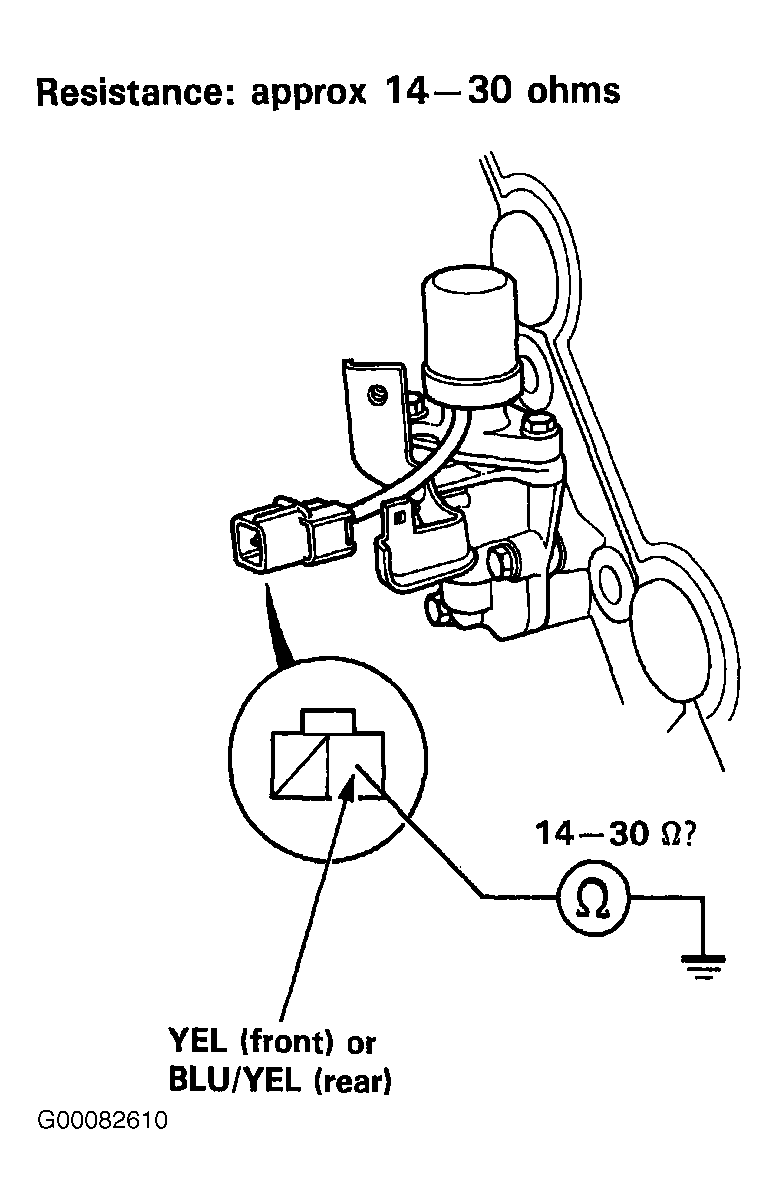
  2. Measure resistance between the YEL (front) or BLU/YEL (rear) terminal and body ground. See Fig 1 .
  3. If the resistance is within specifications, remove the VTEC valve assembly from the cylinder head, and check the VTEC valve filter for clogging. See Fig 2 . If there is clogging, replace the engine oil filter and engine oil.
  4. If filters are normal, push the VTEC solenoid valve with your finger and check its movement. See Fig 3 . If VTEC solenoid valve is normal, check the engine oil pressure.
Fig 1: Identifying VTEC Valve Connector Terminals
G00082610Courtesy of AMERICAN HONDA MOTOR CO., INC.
Fig 2: Removing/Installing VTEC Valve
G00082611Courtesy of AMERICAN HONDA MOTOR CO., INC.
Fig 3: Checking VTEC Valve Movement
G00082612Courtesy of AMERICAN HONDA MOTOR CO., INC.