LEMON Manuals: Even more car manuals for everyone: 1960-2025
Home >> Acura >> 1994 >> Vigor LS, Standard >> Repair and Diagnosis >> Body & Frame >> Power Windows >> Testing >> Switch Test >> Master Switch
April 5, 2026: LEMON Manuals is launched! Read the announcement.

Master Switch

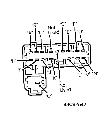
Remove power window master switch. See WINDOW SWITCH under REMOVAL & INSTALLATION. Check for continuity between specified switch terminals with switch in each position. If continuity is not as specified, replace switch. See Fig 1 . See appropriate POWER WINDOW MASTER SWITCH TEST table.

POWER WINDOW MASTER SWITCH TEST

Position Main Switch Pin Continuity
Driver's Switch
Off (1) "H"-"I"-"J"
Up (1) "H"-"N"
Down (1) "J"-"N"
Down (AUTO) (1) "J"-"N"
Right Front Switch
Off On "D"-"E"-"O"
Off "D"-"E"
Up On "E"-"L"
Off "E"-"L"
Down On "D"-"L"
Off "D"-"L"
Left Rear Switch
Off On "B"-"C"-"O"
Off "B"-"C"
Up On "C"-"K"
Off "C"-"K"
Down On "B"-"K"
Off "B"-"K"
Right Rear Switch
Off On "F"-"G-"O"
Off "F"-"G"
Up On "G"-"M"
Off "G"-"M"
Down On "F"-"M"
Off "F"-"M"
(1) Main switch position does not affect driver's switch operation.
-
Fig 1: Identifying Master Switch Terminals
G93C82547Courtesy of AMERICAN HONDA MOTOR CO., INC.