LEMON Manuals: Even more car manuals for everyone: 1960-2025
Home >> Acura >> 1995 >> Integra GS-R, 4D Sedan >> Repair and Diagnosis (Single Page) >> Engine Performance >> System >> Engine Controls - Basic Testing >> Fuel System >> Fuel Pressure >> Fuel Pump Relay
April 5, 2026: LEMON Manuals is launched! Read the announcement.

Fuel Pump Relay

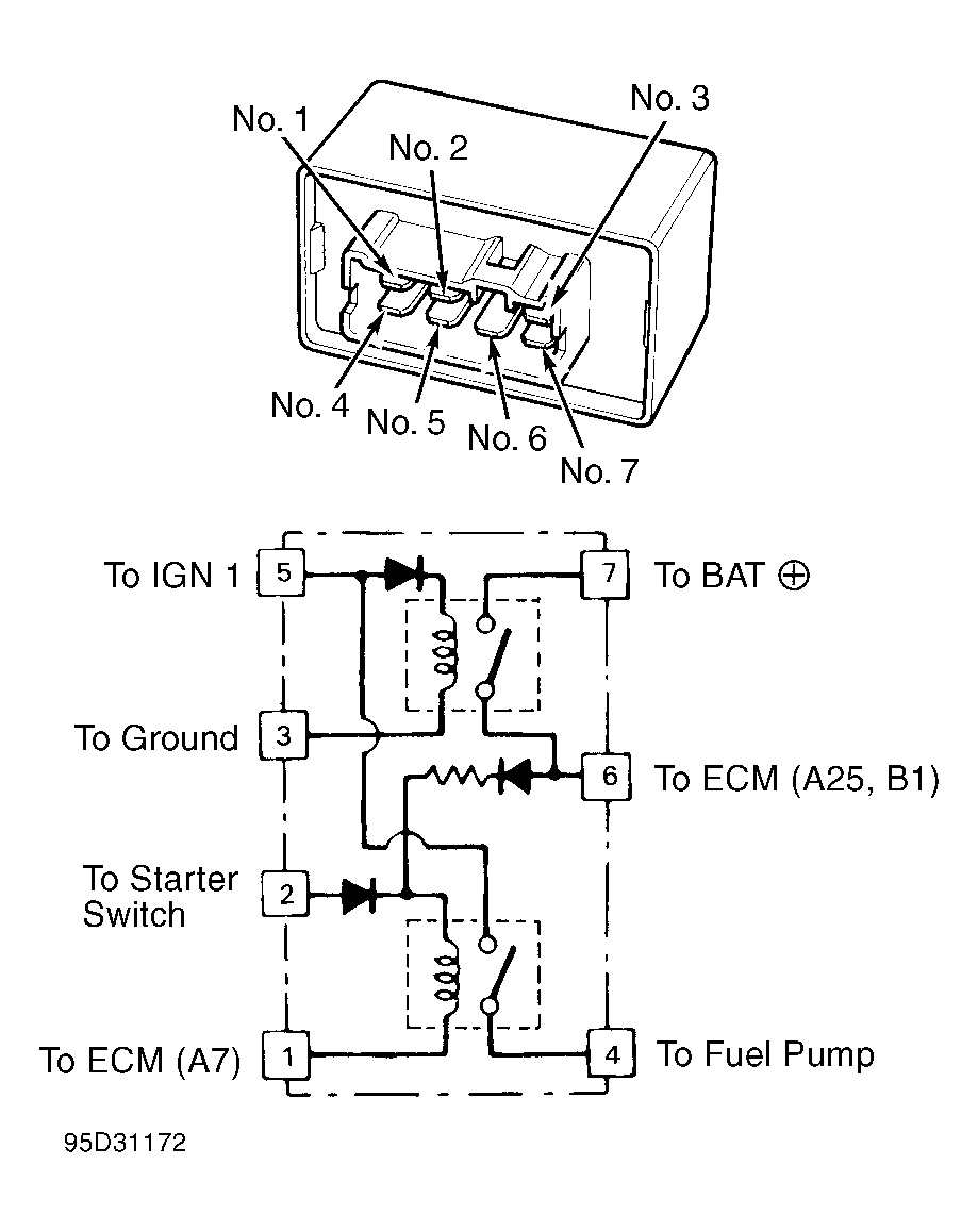
  1. Remove fuel pump relay, located under left side of dash. Connect battery voltage to relay terminal No. 2. Connect terminal No. 1 to ground. See Fig 1.
  2. Test for continuity between relay terminals No. 4 and 5. If continuity exists, go to next step. If continuity does not exist, replace relay.
  3. Connect battery voltage to relay terminal No. 5. Connect terminal No. 3 to ground. Test for continuity between relay terminals No. 6 and 7. If continuity exists, go to next step. If continuity does not exist, replace relay.
  4. Connect battery voltage to terminal No. 6. Connect terminal No. 1 to ground. Test for continuity between relay terminals No. 4 and 5. If continuity exists, relay is okay. If continuity does not exist, replace relay.
    Fig 1: Identifying Fuel Pump Relay Terminals
    G95D31172Courtesy of AMERICAN HONDA MOTOR CO., INC.