LEMON Manuals: Even more car manuals for everyone: 1960-2025
Home >> Acura >> 1996 >> SLX V6-3.2L SOHC >> Repair and Diagnosis >> Powertrain Management >> Ignition System >> Ignition Control Module >> Description and Operation
April 5, 2026: LEMON Manuals is launched! Read the announcement.

Ignition Control Module: Description and Operation


















IGNITION CONTROL MODULE (ICM)
The powertrain control module (PCM) controls engine ignition through a solid-state switching unit called the ignition control module (ICM). The software in the PCM uses input from several sensors to determine the timing, duration, and strength of the spark.
^ The crankshaft position (CKP) sensor sends the PCM a 58X signal related to the exact position of the crankshaft.
^ The camshaft position (CMP) sensor sends a signal related to the position of the camshaft.
^ The knock sensor tells the PCM if there is any problem with pre-ignition or detonation. This information allows the PCM to retard timing, if necessary.
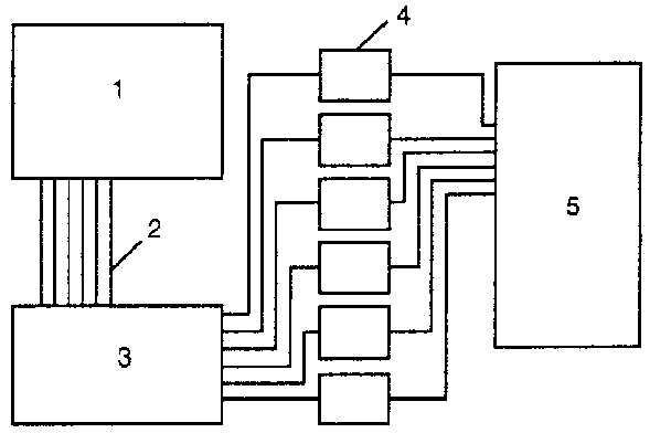
Based on these sensor signals, as well as engine load and engine coolant temperature information, the PCM controls the switching function of the ICM by sending it six 5V signals, one for each plug and ignition coil. As long as the ICM receives these signals, it allows battery voltage to the ignition coils. That voltage allows a magnetic field to build in the coils.
When the PCM (1) requires each spark plug to fire, it shuts off the 5V (2) signal to the ICM (3) for that plug by grounding it internally. This triggers the transistors in the ICM to switch off the battery voltage to the ignition coil (4), which causes the field to collapse. The lines of magnetic force pass through the secondary portion of the coil as they collapse. As they intersect the coil, they induce high voltage in the secondary ignition circuit which travels toward ground through the spark plug.