LEMON Manuals: Even more car manuals for everyone: 1960-2025
Home >> Acura >> 2000 >> 3.5RL >> Repair and Diagnosis (Single Page) >> Transmission >> Automatic Trans >> Diagnosis - M5DA >> Description & Operation >> Powertrain Control Module
April 5, 2026: LEMON Manuals is launched! Read the announcement.

Powertrain Control Module

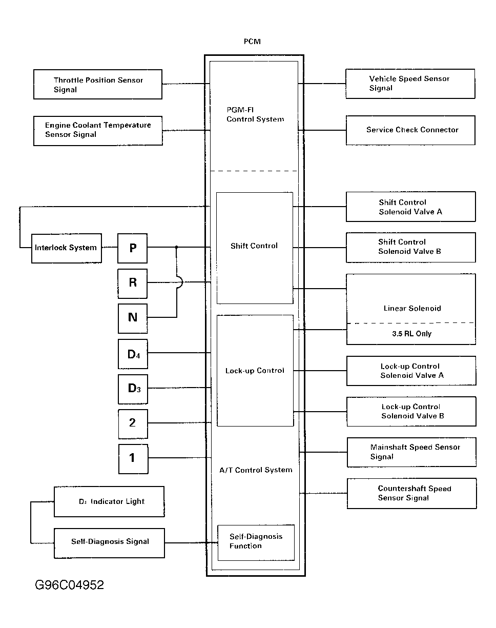
PCM receives information from various input devices and uses this information to control linear solenoid along with shift and lock-up control solenoid valves. See Figure . PCM contains a self-diagnostic system which stores Diagnostic Trouble Code (DTC) information if a failure or problem exists in transaxle electronic control or fuel injection system. DTC or flash code can be retrieved to determine transaxle problem area. PCM is located under carpet on passenger's side footwell.