LEMON Manuals: Even more car manuals for everyone: 1960-2025
Home >> Acura >> 2000 >> 3.5RL >> Repair and Diagnosis >> Electrical >> Charging Systems >> Generators & Regulators >> Bench Testing >> Rectifier Diodes
April 5, 2026: LEMON Manuals is launched! Read the announcement.

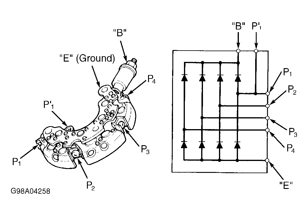
Rectifier Diodes

NOTE: The diodes are designed to allow current to pass in one direction while blocking it in the opposite direction. Since the alternator rectifier is made up of 8 diodes (4 pairs), each diode must be tested for continuity in both directions with an ohmmeter that has diode checking capability; a total of 16 checks.
  1. Check for continuity in each direction, between the B and P, and between the E (ground), and P terminals of each diode pair. All diodes should have continuity in only one direction. See Fig 1.
  2. If any of the 8 diodes fails, replace the rectifier assembly. (Diodes are not available separately)
Fig 1: Identifying Rectifier Terminals
G98A04258Courtesy of AMERICAN HONDA MOTOR CO., INC.