LEMON Manuals: Even more car manuals for everyone: 1960-2025
Home >> Acura >> 2000 >> RL V6-3474cc 3.5L >> Repair and Diagnosis >> Relays and Modules >> Relays and Modules - Cooling System >> Radiator Cooling Fan Control Module >> Description and Operation
April 5, 2026: LEMON Manuals is launched! Read the announcement.

Radiator Cooling Fan Control Module: Description and Operation

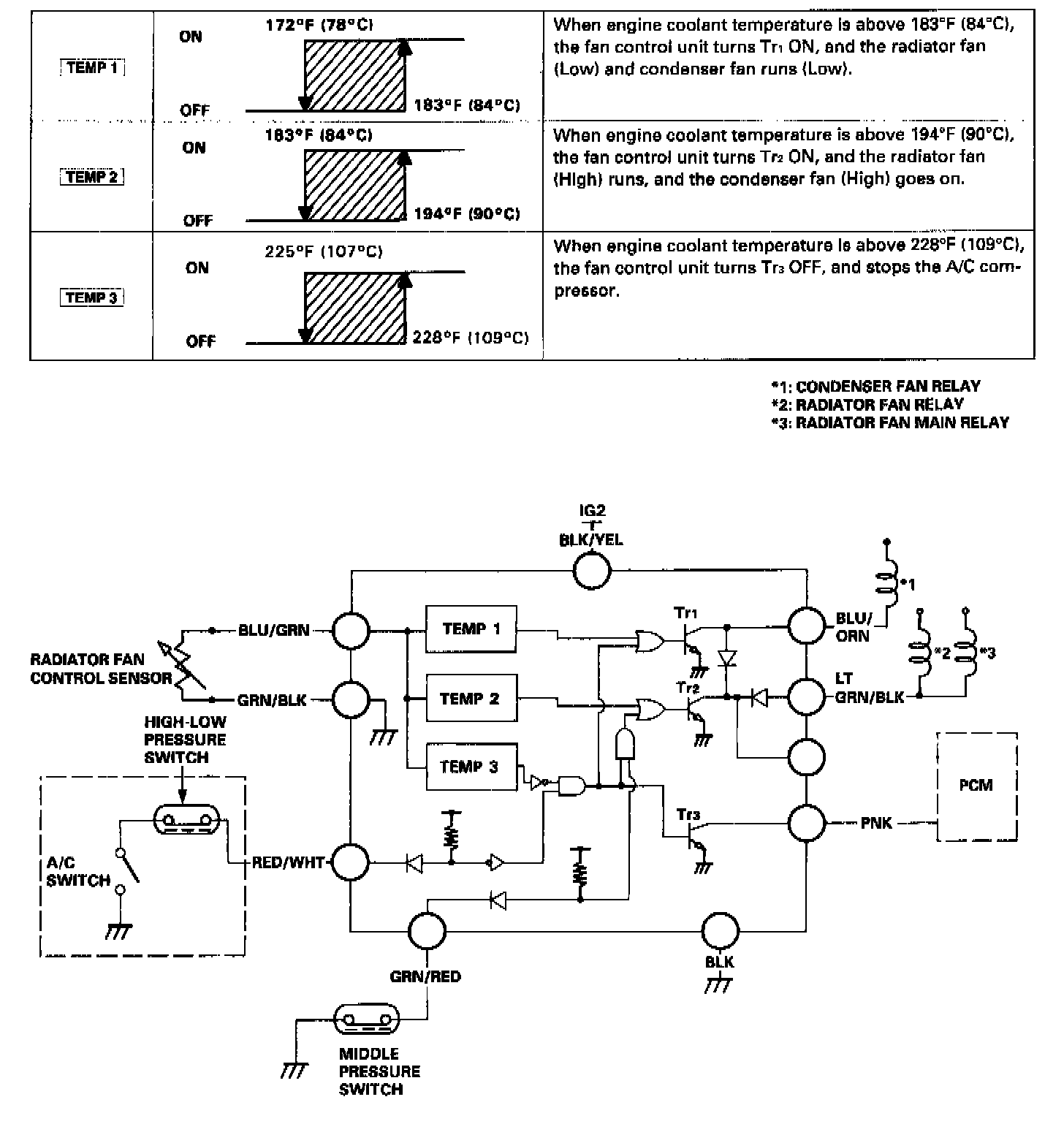
Fan Control Unit





The fan control unit makes calculations based on signals from the radiator fan control sensor. It then controls the operation of the radiator fan, condenser fan and A/C system.