LEMON Manuals: Even more car manuals for everyone: 1960-2025
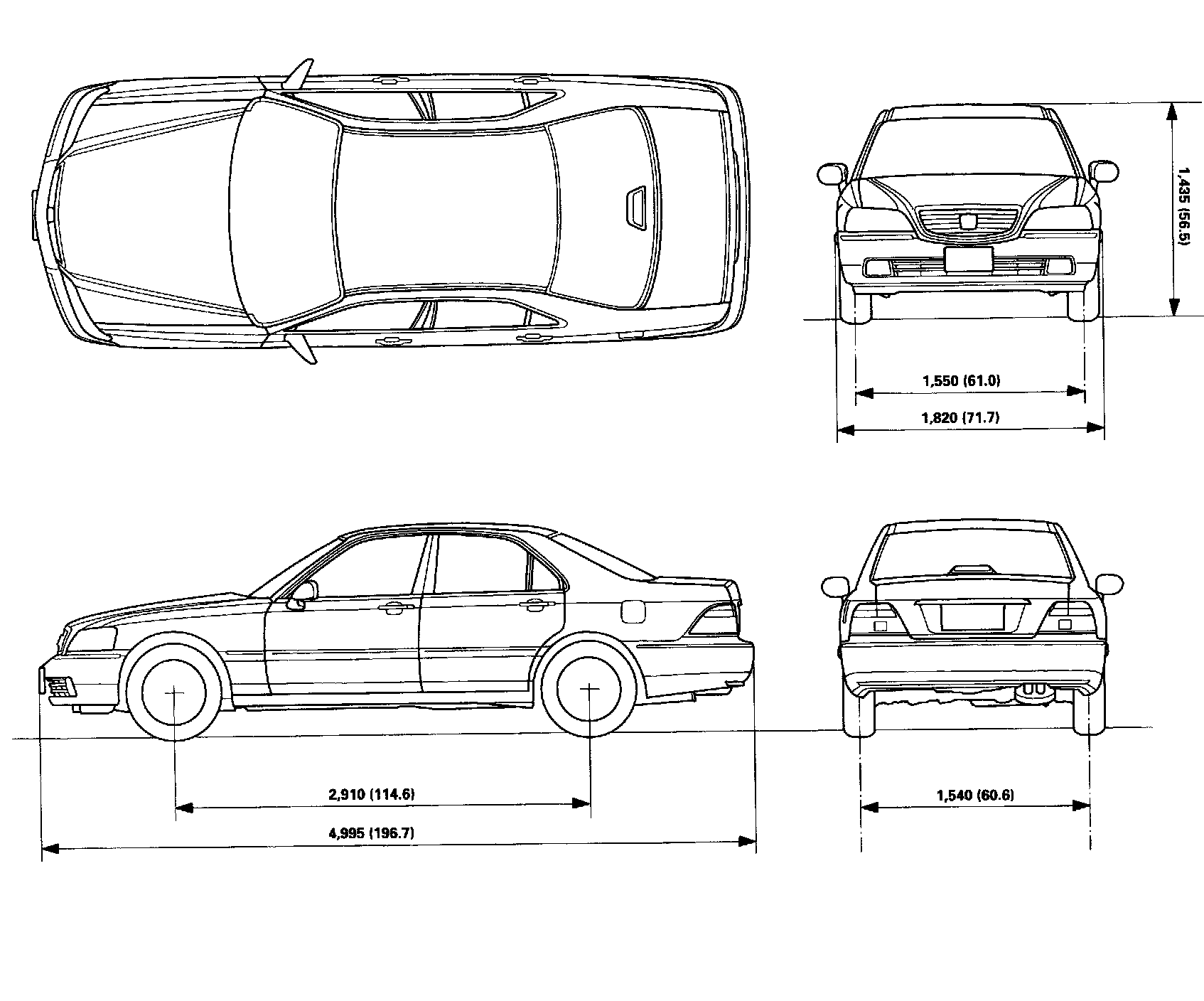
Home >> Acura >> 2000 >> RL V6-3474cc 3.5L >> Repair and Diagnosis >> Specifications >> Mechanical Specifications >> General Specifications
April 5, 2026: LEMON Manuals is launched! Read the announcement.

General Specifications