LEMON Manuals: Even more car manuals for everyone: 1960-2025
Home >> Acura >> 2002 >> 3.2CL Base >> Repair and Diagnosis (Single Page) >> Accessories & Equipment >> Gauges & Instrument Panels >> Multiplex Control Systems >> Multiplex Control System >> Multiplex Control Unit Input Test >> Door Unit:
April 5, 2026: LEMON Manuals is launched! Read the announcement.

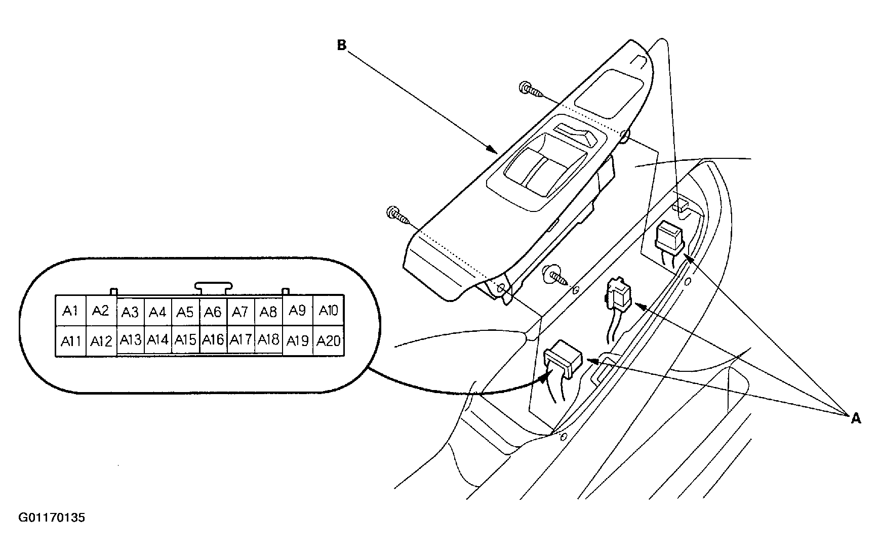
Door Unit:

  1. Remove the driver's door panel .
  2. Disconnect the connectors (A) from the door multiplex control unit (B).
  3. Inspect the connector and socket terminals to be sure they are all making good contact.
    • If the terminals are bent, loose or corroded, repair them as necessary, and recheck the system.
    • If the terminals look OK, go to step 4.
    Fig 1: Checking Door Multiplex Control Unit Terminals
    G01170135Courtesy of AMERICAN HONDA MOTOR CO., INC.
  4. Make the following input tests at connector A.
    • If any test indicates a problem, find and correct the cause, then recheck the system.
    • If all the input tests prove OK, go to step 5.
    Fig 2: Door Multiplex Control Unit Input Tests
    G01170136Courtesy of AMERICAN HONDA MOTOR CO., INC.

    Passenger's Unit 

  5. Remove the passenger's multiplex control unit from the passenger's under- dash fuse/relay box.
  6. Inspect the connector and socket terminals to be sure they are all making good contact.
    • If the terminals are bent, loose or corroded, repair them as necessary, and recheck the system.
    • If the terminals look OK, go to step 7.
    Fig 3: Checking Passenger's Multiplex Control Unit Terminals
    G01170137Courtesy of AMERICAN HONDA MOTOR CO., INC.
  7. Make the following input tests at connector B and the passenger's under-dash fuse/relay box socket.
    • If any test indicates a problem, find and correct the cause, then recheck the system.
    • If all the input tests prove OK, go to step 8.
    Fig 4: Passenger's Under-Dash Fuse/Relay Box Socket Input Tests
    G01170138Courtesy of AMERICAN HONDA MOTOR CO., INC.

    Driver's Unit: 

  8. Remove the driver's multiplex control unit from the driver's under-dash fuse/relay box.
  9. Inspect the connector and socket terminals to be sure they are all making good contact.
    • If the terminals are bent, loose or corroded, repair them as necessary, and recheck the system.
    • If the terminals look OK, go to step 10.
    Fig 5: Checking Driver's Multiplex Control Unit Terminals
    G01170139Courtesy of AMERICAN HONDA MOTOR CO., INC.
  10. Make the following input tests at connector B and the driver's under-dash fuse/relay box socket.
    • If any test indicates a problem, find and correct the cause, then recheck the system.
    • If all the input tests prove OK, troubleshoot the Multiplex Control System (see TROUBLESHOOTING ).
    Fig 6: Checking Driver's Multiplex Control Unit Terminals
    G01170140Courtesy of AMERICAN HONDA MOTOR CO., INC.