LEMON Manuals: Even more car manuals for everyone: 1960-2025
Home >> Acura >> 2002 >> 3.2CL Base >> Repair and Diagnosis >> Steering >> Steering Column >> Power Steering System >> Steering Gearbox Overhaul >> Removal
April 5, 2026: LEMON Manuals is launched! Read the announcement.

Steering Gearbox Overhaul: Removal

  1. Remove the steering gearbox (see STEERING GEARBOX REMOVAL ).

    Disassembly 

  2. Remove the boot bands (A) and tie-rod clips (B). Pull the boots away from the ends of the gearbox.
    Fig 1: Remove The Boot Bands And Tie-Rod Clips
    G01165708Courtesy of AMERICAN HONDA MOTOR CO., INC.
  3. Unbend the lock washer.
    Fig 2: Unbending The Lock Washer
    G01165709Courtesy of AMERICAN HONDA MOTOR CO., INC.
  4. Hold the flat surface sections (A) of the right side steering rack (B) with a wrench, and unscrew the both rack ends (C) with a wrench. Be careful not to damage the rack surface with the wrench. Remove the lock washer (D) and stop washer (E).
    Fig 3: Unscrewing The Both Rack Ends
    G01165710Courtesy of AMERICAN HONDA MOTOR CO., INC.
  5. Loosen the locknut (A), then remove the rack guide screw (B).
    Fig 4: Removing Locknut, Rack Guide Screw, Spring & Rack Guide
    G01165711Courtesy of AMERICAN HONDA MOTOR CO., INC.
  6. Remove the spring (C) and the rack guide (D) from the gearbox.
  7. Remove the cylinder lines from the gearbox.
    Fig 5: Removing The Cylinder Lines
    G01165712Courtesy of AMERICAN HONDA MOTOR CO., INC.
  8. Drain the fluid from the cylinder fittings by slowly moving the steering rack back and forth.
  9. Remove the two flange bolts, then remove the valve body unit (A) from the gearbox (B).
    Fig 6: Removing The Valve Body Unit
    G01165713Courtesy of AMERICAN HONDA MOTOR CO., INC.
  10. Drill a 3 mm (0.12 in.) diameter hole approximately 2.5-3.0 mm (0.10-0.12 in.) in depth in the staked point (A) on the cylinder: Do not allow metal shavings to enter the cylinder housing. After removing the cylinder end (B), remove any burrs at the staked point.
    Fig 7: Drilling A 3 mm (0.12 in.) Diameter Hole
    G01165714Courtesy of AMERICAN HONDA MOTOR CO., INC.
  11. Attach the yoke of a universal puller (A) to the steering gearbox mounts with bolts. Clamp the yoke in a vise with soft jaws as shown, then loosen and remove the cylinder end (B). Do not clamp the cylinder housing or gearbox housing in the vise.
    Fig 8: Removing The Cylinder End
    G01165715Courtesy of AMERICAN HONDA MOTOR CO., INC.
  12. Install the bearing separator (A) on the gearbox housing as shown.
    Fig 9: Pressing The Cylinder End Seal And Steering Rack Out Of The Gearbox
    G01165716Courtesy of AMERICAN HONDA MOTOR CO., INC.
  13. Place a appropriate size deep socket wrench (B) on the steering rack (C).
  14. Set the steering gearbox in a press so the left side points upward, then press the cylinder end seal (D) and steering rack out of the gearbox. Hold the steering rack to keep it from falling when pressed clear. Be careful not to damage the inner surface of the cylinder housing with the tool.
  15. Remove the cylinder end seal from the steering rack.
  16. Insert a 24" long, 3/8" drive extension (A) and the special tool into the cylinder from the left side. Make sure that the special tool is securely positioned on the backup ring edges. Be careful not to damage the inner surface of the cylinder with the special tool.
    Fig 10: Inserting Special Tool Into The Cylinder
    G01165717Courtesy of AMERICAN HONDA MOTOR CO., INC.
  17. Set the gearbox in a press, then press out the cylinder end seal (A) and backup ring (B) from the gearbox.

    Note these items when pressing the cylinder end seal: 

    • Keep the tool straight to avoid damaging the cylinder wall. Check the tool angle, and correct it if necessary, when removing the cylinder end seal.
    • Use a press to remove the cylinder end seal. Do not try to remove the seal by striking the tool. It will break the backup ring, and the cylinder end seal will remain in the gearbox.
    Fig 11: Pressing Out The Cylinder End Seal And Backup Ring From The Gearbox
    G01165718Courtesy of AMERICAN HONDA MOTOR CO., INC.
  18. Carefully pry the piston seal ring (A) and O-ring (B) off the rack piston. Be careful not to damage the inside of the seal ring groove and piston edges when removing the seal ring.
    Fig 12: Removing Piston Seal Ring & O-Ring Off The Rack Piston
    G01165719Courtesy of AMERICAN HONDA MOTOR CO., INC.
  19. Before removing the valve housing (A), apply vinyl tape (B) to the splines on the pinion shaft (C).
    Fig 13: Pressing The Valve Housing From The Pinion Shaft/Valve
    G01165720Courtesy of AMERICAN HONDA MOTOR CO., INC.
  20. Separate the valve housing from the pinion shaft/ valve using a press.
  21. With your finger check the inner wall of the valve housing where the seal ring slides. If there is a step in the wall, the housing is worn. Replace it.
    NOTE: There may be sliding marks from the seal ring on the wall of the valve housing. Replace the valve housing only if the wall is stepped.
    Fig 14: Checking The Inner Wall Of The Valve Housing
    G01165721Courtesy of AMERICAN HONDA MOTOR CO., INC.
  22. Check for wear, burrs and other damage to the edges of the grooves in the sleeve.
    NOTE: The pinion shaft and sleeve are a precision matched set. If either the pinion shaft or sleeve must be replaced, replace both parts as a set.
  23. Remove the snap ring (A) and sleeve (B) from the pinion shaft.
    Fig 15: Removing The Snap Ring And Sleeve From The Pinion Shaft
    G01165723Courtesy of AMERICAN HONDA MOTOR CO., INC.
  24. Using a cutter or an equivalent tool, cut and remove the four seal rings from the sleeve. Be careful not to damage the edges of the sleeve grooves and outer surface when removing the seal rings.
    Fig 16: Removing The Four Seal Rings From The Sleeve
    G01165724Courtesy of AMERICAN HONDA MOTOR CO., INC.
  25. Using a cutter or an equivalent tool, cut the valve seal ring (A) and O- ring (B) at the cutting groove position (C) in the pinion shaft. Remove the valve seal ring and O-ring. Be careful not to damage the edges of the pinion shaft groove and outer surface when removing the valve seal ring and O-ring.
    Fig 17: Cutting The Valve Seal Ring And O-Ring At The Cutting Groove Position In The Pinion Shaft
    G01165725Courtesy of AMERICAN HONDA MOTOR CO., INC.
  26. Remove the valve oil seal (A) and wave washer (B) from the pinion shaft.

    Note these items during disassembly: 

    • Inspect the ball bearing (C) by rotating the outer race slowly. If there is any excessive play or wear, replace the pinion shaft and sleeve as an assembly.
    • The pinion shaft and sleeve are a precise fit; do not intermix old and new pinion shafts and sleeves.
    Fig 18: Removing The Valve Oil Seal And Wave Washer From The Pinion Shaft
    G01165726Courtesy of AMERICAN HONDA MOTOR CO., INC.
  27. Press the valve oil seal (A) and bushing (B) out of the valve housing using a hydraulic press and special tool.
    Fig 19: Pressing The Valve Oil Seal And Bushing Out Of The Valve Housing
    G01165727Courtesy of AMERICAN HONDA MOTOR CO., INC.
  28. Clean the disassembled parts with solvent, and dry them with compressed air. Do not dip rubber parts in the solvent.

    Reassembly 

  29. Apply vinyl tape (A) to the stepped portion of the pinion shaft, and coat the surface of the vinyl tape with the power steering fluid.
    Fig 20: Applying Vinyl Tape & Installing Wave Washer And Valve Oil Seal
    G01165728Courtesy of AMERICAN HONDA MOTOR CO., INC.
  30. Install the wave washer (B).
  31. Coat the inside surface of the new valve oil seal (C) with power steering fluid, and install the seal with its grooved side facing opposite the bearing, then slide it over the pinion shaft, being careful not to damage its sealing lip (D).
  32. Apply vinyl tape (A) to the splines and stepped portion of the shaft, and coat the surface of the vinyl tape with the power steering fluid.
    Fig 21: Applying Vinyl Tape & Installing O-Ring And Valve Seal Ring
    G01165729Courtesy of AMERICAN HONDA MOTOR CO., INC.
  33. Fit the new O-ring (B) in the groove of the pinion shaft. Then slide the new valve seal ring (C) over the shaft and in the groove on the pinion shaft.
  34. Remove the tape, and apply power steering fluid to the surface of the valve seal ring (A).
    Fig 22: Seating Valve Seal Ring
    G01165730Courtesy of AMERICAN HONDA MOTOR CO., INC.
  35. Apply power steering fluid to the inside of the special tool. Set the larger diameter end of the special tool over the valve seal ring, and move the special tool up and down several times to make the valve seal ring fit in the pinion shaft groove.
  36. Remove the special tool, turn it over, slide the smaller diameter end over the valve seal ring. Move it up and down several times to make the valve seal ring fit snugly in the pinion shaft groove.
  37. Apply power steering fluid to the surface of the special tool. Slip two new seal rings (A) over the special tool from the smaller diameter end, and expand them. Install only two rings at a time from each end of the pinion shaft sleeve (B).

    Note these items when installing the seal ring:

    • Do not over-expand the seal ring. Install the resin seal rings with care so as not to damage them. After installation, be sure to contract the seal rings using the special tool (sizing tool).
    • There are two types of sleeve seal rings: black and brown. Do not mix the different types of rings as they are not compatible.
    Fig 23: Installing Seal Rings
    G01165731Courtesy of AMERICAN HONDA MOTOR CO., INC.
  38. Align the special tool with each groove in the sleeve, and slide a sleeve seal ring into each groove. After installation, compress the seal rings with your fingers temporarily.
  39. Apply power steering fluid to the seal rings on the sleeve, and to the entire inside surface of the special tool, then slowly insert the sleeve into the special tool.
    Fig 24: Inserting The Sleeve Into The Special Tool
    G01165732Courtesy of AMERICAN HONDA MOTOR CO., INC.
  40. Move the sleeve back and forth several times to make the seal rings snugly fit in the sleeve. Be sure that the seal rings are not twisted.
  41. Apply power steering fluid to the surface of the pinion shaft (A). Slide the sleeve (B) onto the pinion shaft by aligning the locating pin (C) on the inside of the sleeve with the cutout (D) in the shaft. Then install the new snap ring (E) securely in the pinion shaft groove.

    Note these items during reassembly: 

    • Be careful not to damage the valve seal ring when inserting the sleeve.
    • Install the circlip with its radiused side facing in.
    Fig 25: Sliding The Sleeve Onto The Pinion Shaft
    G01165733Courtesy of AMERICAN HONDA MOTOR CO., INC.
  42. Apply power steering fluid to the seal ring lip of the new valve oil seal (A), then install the seal in the valve housing (B) using a hydraulic press and special tools. Install the seal with its grooved side facing the tool.
    Fig 26: Installing The Seal In The Valve Housing
    G01165734Courtesy of AMERICAN HONDA MOTOR CO., INC.
  43. Press the bushing (A) into the valve housing with a hydraulic press and special tool.
    Fig 27: Pressing The Bushing Into The Valve Housing
    G01165735Courtesy of AMERICAN HONDA MOTOR CO., INC.
  44. Apply vinyl tape (A) to the pinion shaft, then coat the vinyl tape with power steering fluid.
    Fig 28: Inserting The Pinion Shaft Into The Valve Housing
    G01165736Courtesy of AMERICAN HONDA MOTOR CO., INC.
  45. Insert the pinion shaft into the valve housing (B). Be careful not to damage the valve seal rings (C).
  46. Remove the vinyl tape from the pinion shaft, then remove any residue from the tape adhesive.
  47. Press the pinion shaft/sleeve into the valve housing with a hydraulic press. Check that the pinion shaft/ sleeve turns smoothly by hand after installing it.
    Fig 29: Pressing The Pinion Shaft/Sleeve Into The Valve Housing
    G01165737Courtesy of AMERICAN HONDA MOTOR CO., INC.
  48. Coat the special tool with power steering fluid, then slide it onto the rack, big end first.
  49. Position the new O-ring (A) and new piston seal ring (B) on the special tool, then slide them down toward the big end of the tool.

    Note these items during reassembly: 

    • Do not over expand the resin seal rings. Install the resin seal rings with care so as not to damage them. After installation, be sure to contract the seal ring using the special tool (sizing tool).
    • Replace piston's O-ring and seal ring as a set.
    Fig 30: Installing The Resin Seal Rings
    G01165738Courtesy of AMERICAN HONDA MOTOR CO., INC.
  50. Pull the O-ring off into the piston groove, then pull the piston seal ring off into the piston groove on top of the O-ring.
  51. Coat the piston seal ring (A) and the inside of the special tool with power steering fluid, then carefully slide the tool onto the rack and over the piston seal ring.
  52. Move the special tool back and forth several times to make the piston seal ring fit snugly in the piston.
    Fig 31: Seating Seals
    G01165739Courtesy of AMERICAN HONDA MOTOR CO., INC.
  53. Wrap vinyl tape (A) around the rack teeth and rack end edges, then coat the surface of the tape with power steering fluid. Make sure that the vinyl tape is wrapped carefully so there is no stepped portion.
    Fig 32: Wrapping Vinyl Tape Around The Rack Teeth And Rack End Edges
    G01165740Courtesy of AMERICAN HONDA MOTOR CO., INC.
  54. Coat the inside surface of the new cylinder end seal (A) with power steering fluid, then install it onto the steering rack with its grooved side toward the piston. When installing the cylinder end seal, be careful not damage the lip of the seal with the edges or teeth of the steering rack.
    Fig 33: Installing The Cylinder End Seal
    G01165741Courtesy of AMERICAN HONDA MOTOR CO., INC.
  55. Remove the vinyl tape from the steering rack, then remove any adhesive residue.
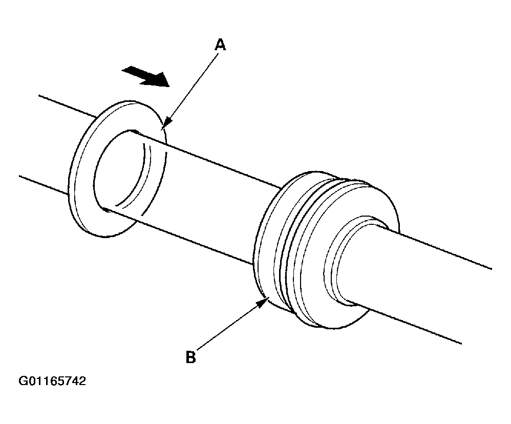
  56. Install the new backup ring (A) on the steering rack, then place the cylinder end seal (B) against the piston.
    Fig 34: Installing The NEW Backup Ring
    G01165742Courtesy of AMERICAN HONDA MOTOR CO., INC.
  57. Grease the steering rack teeth, then insert the steering rack into the gear box housing. Be careful not to damage to inner surface of the cylinder wall with the rack edges.
    Fig 35: Inserting The Steering Rack Into The Gear Box Housing
    G01165743Courtesy of AMERICAN HONDA MOTOR CO., INC.
  58. Insert an appropriate size deep socket wrench (A) onto the steering rack as shown.
    Fig 36: Installing The Cylinder End Seal Into The Bottom Of The Cylinder
    G01165744Courtesy of AMERICAN HONDA MOTOR CO., INC.
  59. Install the cylinder end seal (B) into the bottom of the cylinder by pressing on the tool with a press. Do not push on the tool with excessive force as it may damage the cylinder end seal.
  60. Remove the tool, and center the steering rack.
  61. Wrap vinyl tape around the rack end edges, and coat the surface of the tape with the power steering fluid. Make sure that the vinyl tape is wrapped carefully so there is no stepped portion.
    Fig 37: Wrapping Vinyl Tape Around The Rack End Edges
    G01165745Courtesy of AMERICAN HONDA MOTOR CO., INC.
  62. Coat the inside surface of the new cylinder end seal with power steering fluid, then install the seal onto the steering rack with its grooved side toward the piston.
    Fig 38: Installing The Seal Onto The Steering Rack
    G01165746Courtesy of AMERICAN HONDA MOTOR CO., INC.
  63. Push in the cylinder end seal with your finger. Be careful not to damage the face of the seal with the threads and burrs at the staked position of the cylinder housing.
  64. Remove the vinyl tape from the steering rack, then remove any adhesive residue.
  65. Attach the yoke of a universal puller (A) to the steering gearbox mounts with bolts, then clamp the yoke in a vise with soft jaws. Do not clamp the cylinder housing or gearbox housing in the vise.
    Fig 39: Attaching The Yoke Of A Universal Puller
    G01165747Courtesy of AMERICAN HONDA MOTOR CO., INC.
  66. Coat the inside surface of the cylinder end (A) with power steering fluid, then install the cylinder end by screwing it into the cylinder (B).
    Fig 40: Installing The Cylinder End
    G01165748Courtesy of AMERICAN HONDA MOTOR CO., INC.
  67. Remove the yoke from the gearbox, then, after tightening the cylinder end (C), stake the point of the cylinder shown (opposite from where the stake was removed during disassembly).
  68. Coat the new O-ring (A) with grease, and carefully fit it on the valve housing.
    Fig 41: Installing The Valve Body Unit
    G01165749Courtesy of AMERICAN HONDA MOTOR CO., INC.
  69. Apply grease to the needle bearing (B) in the gearbox housing, then install the valve body unit (C) by engaging the gears. Note the valve body unit installation position (direction of the line connections).
  70. Tighten the flange bolts (D) to the specified torque.
  71. Install the cylinder lines.

    Note these items during reassembly: 

    • Thoroughly clean the joints of the cylinder lines. The joints must be free of foreign material.
    • Install the cylinder lines by tightening the flare nuts by hand first, then tighten the flare nuts to the specified torque.
    Fig 42: Installing The Cylinder Lines
    G01165750Courtesy of AMERICAN HONDA MOTOR CO., INC.
  72. Grease the sliding surface of the rack guide (A), and install it onto the gearbox housing.
    Fig 43: Installing Rack Guide, Spring, Rack Guide Screw & Locknut
    G01165751Courtesy of AMERICAN HONDA MOTOR CO., INC.
  73. Remove the old sealant from the rack guide screw (B), then apply sealant all around the threads. Install the spring (C), rack guide screw and locknut (D).
  74. Adjust the rack guide screw (see RACK GUIDE ADJUSTMENT ). After adjusting, check that the rack moves smoothly by sliding it right and left.
  75. Install the stop washer (A), and screw each rack end (B) into the rack while holding the lock washer (C) so its tabs (D) are in the slots (E) in the end of the rack.
    Fig 44: Installing The Stop Washer And Rack End Into The Rack
    G01165752Courtesy of AMERICAN HONDA MOTOR CO., INC.
  76. Hold the flat surface sections of the right side steering rack with a wrench, and tighten the both rack ends. Be careful not to damage the rack surface with the wrench.
  77. Bend the lock washer back against the flat spots on the rack end joint housing.
    Fig 45: Bending The Lock Washer
    G01165753Courtesy of AMERICAN HONDA MOTOR CO., INC.
  78. Apply multipurpose grease to the circumference of the rack end joint housing (A).
    Fig 46: Applying Multipurpose Grease To The Circumference Of The Rack End Joint Housing
    G01165754Courtesy of AMERICAN HONDA MOTOR CO., INC.
  79. Apply a light coat of silicone grease to the boot grooves (B) on the rack end.
  80. Center the steering rack within its stroke. Install the boots on the rack ends with the tie-rod clips. After installing the boots, wipe the grease off the threaded section (A) of the rack end.
    Fig 47: Installing The Boots On The Rack Ends
    G01165755Courtesy of AMERICAN HONDA MOTOR CO., INC.
  81. Install the new boot bands by aligning the tabs (A) with holes (B) of the band.
    Fig 48: Installing The New Boot Bands
    G01165756Courtesy of AMERICAN HONDA MOTOR CO., INC.
  82. Close the ear portion (A) of the band with commercially available pincers Oetiker 1098 or equivalent (B).
    Fig 49: Closing The Ear Portion Of The Band
    G01165757Courtesy of AMERICAN HONDA MOTOR CO., INC.
  83. Slide the rack right and left to be certain that the boots are not deformed or twisted.