LEMON Manuals: Even more car manuals for everyone: 1960-2025
Home >> Acura >> 2002 >> 3.2TL Base >> Repair and Diagnosis >> Transmission >> Automatic Trans >> Servicing - A/T >> Shift Cable Replacement
April 5, 2026: LEMON Manuals is launched! Read the announcement.

Shift Cable Replacement

  1. Raise the front of the vehicle, and make sure it is securely supported.
  2. Set the parking brake, and block the rear wheels securely.
  3. Shift the transmission into the position.
  4. Remove the console panel. See CONSOLE PANEL REMOVAL/INSTALLATION .
  5. Remove the nut securing the shift cable end (A), then separate the end from the shift lever assembly.
    Fig 1: Removing Nut Securing Shift Cable End
    G01160442Courtesy of AMERICAN HONDA MOTOR CO., INC.
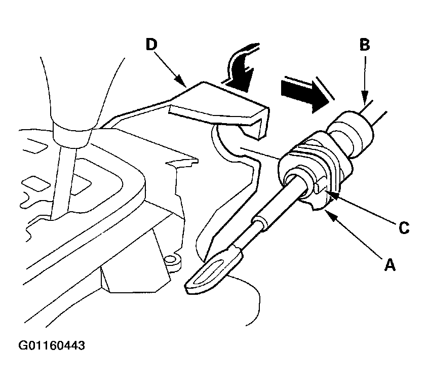
  6. Rotate the socket holder (A) on the shift cable (B) a quarter turn; the tab (C) on the socket holder will be in the opening of the shift lever bracket base (D). Then slide the holder to remove the shift cable from the shift lever bracket base (D).
    Fig 2: Rotating Socket Holder
    G01160443Courtesy of AMERICAN HONDA MOTOR CO., INC.
  7. Remove the floor heat shield.
  8. Remove the shift cable guide bracket (A) and grommet (B).
    Fig 3: Removing Shift Cable Guide Bracket & Grommet
    G01160444Courtesy of AMERICAN HONDA MOTOR CO., INC.
  9. Remove the bolts securing the shift cable holder (A), then remove the shift cable cover (B).
    Fig 4: Removing Bolt Securing Cable Holder
    G01160445Courtesy of AMERICAN HONDA MOTOR CO., INC.
  10. Remove the lock bolt (C) securing the control lever (D), then remove the shift cable (E) with the control lever.
  11. Insert the new shift cable through the grommet hole, then install the shift cable guide bracket.
  12. Verify that the transmission is in the position on the control shaft.
  13. Install the control lever (A) with the shift cable (B) on the control shaft (C). Do not bend the shift cable excessively.
    Fig 5: Installing Control Lever
    G01160446Courtesy of AMERICAN HONDA MOTOR CO., INC.
  14. Install the lock bolt (D) with a new lock washer (E), then bend the lock washer tab against the bolt.
  15. Install the shift cable cover (F), then install the shift cable holder (G) on the cover.
    NOTE: To prevent damage to the control lever joint, be sure to install the shift cable holder after installing the shift cable cover to the torque converter housing.
  16. Install the floor heat shield.
  17. Turn the ignition switch ON (II), and verify that the position indicator comes on.
  18. If necessary, push the shift cable (A) until it stops, then release your hand. Pull the shift cable back one step so that the shift position is in . Do not push and pull the shift cable by holding the shift cable guide (B).
    Fig 6: Placing Shift Cable In "R" Position
    G01160447Courtesy of AMERICAN HONDA MOTOR CO., INC.
  19. Turn the ignition switch OFF.
  20. Insert a 6.0 mm (0.24 in.) pin (A) into the positioning hole (B) on the shift lever bracket base through the positioning hole on the shift lever assembly. The shift lever is secured in the position.
    Fig 7: Locating Shift Lever Positioning Holes
    G01160448Courtesy of AMERICAN HONDA MOTOR CO., INC.
  21. Align the socket holder (A) on the shift cable (B) with the slot in the bracket base (C), then slide the holder into the base. Install the shift cable end (D) over the mounting stud (E) by aligning its square hole (F) with the square fitting (G) at the bottom of the stud. Rotate the holder a quarter turn to secure the shift cable. Do not install the shift cable by twisting the shift cable guide (H) and damper (I).
    Fig 8: Installing Shift Cable
    G01160449Courtesy of AMERICAN HONDA MOTOR CO., INC.
  22. Verify that the shift cable end (A) is properly installed on the mounting stud (B).
    Fig 9: Identifying Installed Shift Cable
    G01160450Courtesy of AMERICAN HONDA MOTOR CO., INC.
  23. If improperly installed, remove the shift cable from the shift lever bracket base, and reinstall the shift cable. Do not install the shift cable end on the mounting stud while the shift cable is on the shift cable bracket base.
  24. Install and tighten the nut.
    Fig 10: Installing Shift Cable Nut
    G01160451Courtesy of AMERICAN HONDA MOTOR CO., INC.
  25. Remove the 6.0 mm (0.24 in.) pin that was installed to hold the shift lever.
  26. Move the shift lever to each gear, and verify that the A/T gear position indicator follows the transmission range switch.
  27. Start the engine, and check the shift lever operation in all gears.