LEMON Manuals: Even more car manuals for everyone: 1960-2025
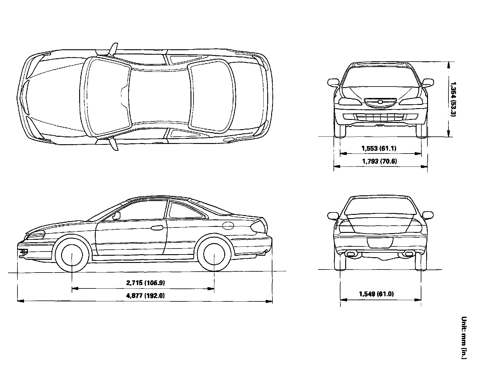
Home >> Acura >> 2002 >> CL V6-3.2L SOHC >> Repair and Diagnosis >> Body and Frame >> Specifications >> Service Specifications
April 5, 2026: LEMON Manuals is launched! Read the announcement.

Service Specifications