LEMON Manuals: Even more car manuals for everyone: 1960-2025
Home >> Acura >> 2003 >> 3.2CL Base >> Repair and Diagnosis >> Accessories & Equipment >> Cruise Control Systems >> Actuator/Cable Replacement
April 5, 2026: LEMON Manuals is launched! Read the announcement.

Actuator/Cable Replacement

  1. Loosen the locknut (A), then disconnect the actuator cable (B) from the throttle linkage.
    Fig 1: Loosening The Locknut & Disconnecting The Actuator Cable From The Throttle Linkage
    G01897481Courtesy of AMERICAN HONDA MOTOR CO., INC.
  2. Disconnect the 4P connector (A) from the actuator.
    Fig 2: Disconnecting The 4P Connector From The Actuator
    G01897482Courtesy of AMERICAN HONDA MOTOR CO., INC.
  3. Remove the three mounting bolts, and remove the actuator assembly (B).
  4. Remove the actuator cover (A), then remove the actuator cable (B) from the actuator.
    Fig 3: Removing The Actuator Cable From The Actuator
    G01897483Courtesy of AMERICAN HONDA MOTOR CO., INC.
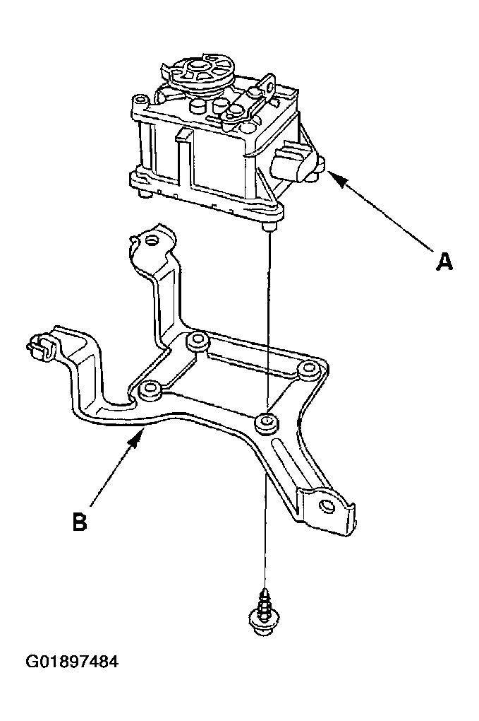
  5. Remove the actuator (A) from the bracket (B).
    Fig 4: Removing The Actuator From The Bracket
    G01897484Courtesy of AMERICAN HONDA MOTOR CO., INC.
  6. Install the reverse order of removal, and adjust the free play at the throttle linkage after connecting the actuator cable.