LEMON Manuals: Even more car manuals for everyone: 1960-2025
Home >> Acura >> 2003 >> 3.2CL Base >> Repair and Diagnosis >> External Pages >> Different car >> Section 7 (3.5L V6) >> Overhaul >> Cylinder Block Assembly >> Piston Ring Installation & Checking
April 5, 2026: LEMON Manuals is launched! Read the announcement.

Piston Ring Installation & Checking

WARNING: This page is about a different car, the 2002 Acura MDX and 2001 Acura MDX. However, it is still accessible from the selected car via links, so may be relevant.
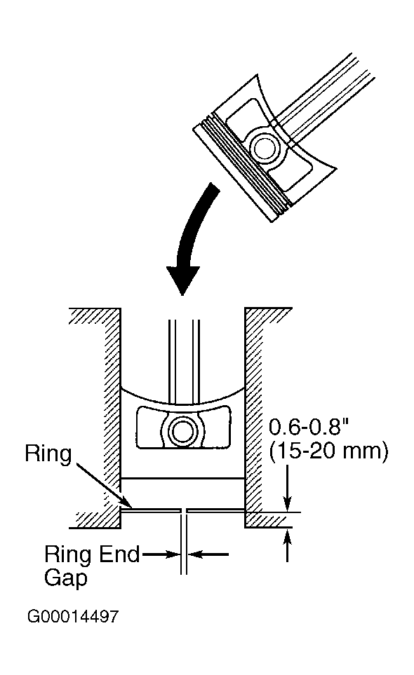
  1. Using a piston, push a NEW piston ring into cylinder bore to .6-.8" (15-20 mm) from bore bottom. See Fig 1.
  2. Measure piston ring end gap using a feeler gauge. If gap is too small, ensure proper ring is installed for this engine. If gap is too large, recheck cylinder bore diameter-to-wear limit specification. If bore exceeds service limits, rebore or replace cylinder block. See PISTONS, PINS & RINGS  table under ENGINE SPECIFICATIONS.
  3. Using ring expander, remove old piston rings. Clean ring grooves thoroughly (DO NOT use wire brush or hard tool that will cut ring grooves).
  4. Install NEW rings. Top ring have "1C" mark. Second ring has "2C" mark. Keep marks facing upward. Using feeler gauge, measure ring-to-groove clearance. See PISTONS, PINS & RINGS  table under ENGINE SPECIFICATIONS.
  5. Rotate rings to ensure rings do not bind. Position ring gaps as shown. See Fig 2 and Fig 3 .
Fig 1: Measuring Piston Ring End Gap
G00014497Courtesy of AMERICAN HONDA MOTOR CO., INC.
Fig 2: Identifying & Installing Piston Rings
G00014498Courtesy of AMERICAN HONDA MOTOR CO., INC.
Fig 3: Positioning Piston Ring End Gaps
G00014499Courtesy of AMERICAN HONDA MOTOR CO., INC.