LEMON Manuals: Even more car manuals for everyone: 1960-2025
Home >> Acura >> 2003 >> 3.2CL V6-3.2L SOHC >> Repair and Diagnosis >> Brakes and Traction Control >> Antilock Brakes / Traction Control Systems >> Traction Control Module >> Service and Repair
April 5, 2026: LEMON Manuals is launched! Read the announcement.

Traction Control Module: Service and Repair


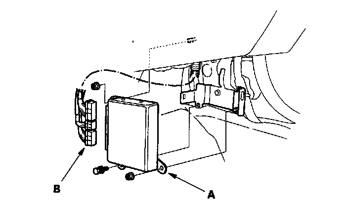
VSA Control Unit Replacement
1. Remove the passenger's kick panel.





2. Remove the VSA control unit (A).
3. Disconnect the VSA control unit connectors (B).
4. Install the VSA control unit in the reverse order of removal.
5. Do the neutral position memorization.