LEMON Manuals: Even more car manuals for everyone: 1960-2025
Home >> Acura >> 2003 >> 3.2CL V6-3.2L SOHC >> Repair and Diagnosis >> Heating and Air Conditioning >> Control Assembly >> Service and Repair >> Climate Control Unit Bulb Replacement
April 5, 2026: LEMON Manuals is launched! Read the announcement.

Climate Control Unit Bulb Replacement

Climate Control Unit Bulb Replacement

With Navigation System

1. Discharge the static electricity (which accumulated on you when you removed the climate control unit) by touching the door striker or other body parts.




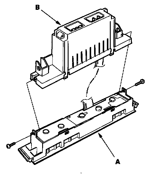
2. Remove the self-tapping screws, then carefully separate the climate control unit display (A) and control unit (B). Do not kink or pull on the wires between the display and the control unit. Do not touch the electronic components on the printed circuit board in the control unit.




3. Remove the bulb(s) with a flat-tip screwdriver.
4. Install the bulb in the reverse order of removal.