LEMON Manuals: Even more car manuals for everyone: 1960-2025
Home >> Acura >> 2003 >> 3.2TL Base >> Repair and Diagnosis (Single Page) >> Transmission >> Automatic Trans >> Automatic Transmission Diagnosis >> System Description >> Electronic Control System >> Lock-up Control
April 5, 2026: LEMON Manuals is launched! Read the announcement.

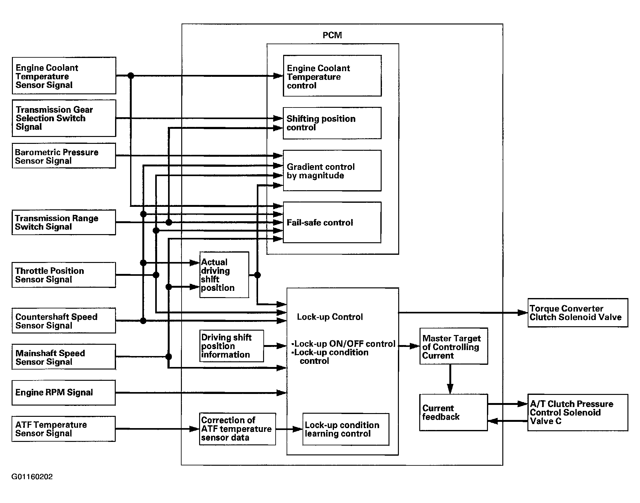
Lock-up Control

The torque converter clutch solenoid valve controls the hydraulic pressure to switch the lock-up shift valve and lock-up ON and OFF. The PCM actuates the torque converter clutch solenoid valve and the A/T clutch pressure control solenoid valve ON, the condition of the lock-up starts. The A/T clutch pressure control solenoid valve C regulates and apply the hydraulic pressure to the lock-up control valve to control the amount of the lock-up.

The lock-up mechanism operates in the [5 ] position (3rd, 4th, and 5th), in the [4 ] position (3rd, and 4th), and in the [3 ] position (3rd).

Fig 1: Lock-up Control Diagram
G01160202Courtesy of AMERICAN HONDA MOTOR CO., INC.