LEMON Manuals: Even more car manuals for everyone: 1960-2025
Home >> Acura >> 2003 >> 3.2TL Base >> Repair and Diagnosis >> Brakes >> Traction Control >> Vehicle Stability Assistance System >> General Troubleshooting Information >> How to Retrieve DTCs >> Service Check Signal Circuit Method:
April 5, 2026: LEMON Manuals is launched! Read the announcement.

Service Check Signal Circuit Method:

  1. With the ignition switch OFF, connect the Honda PGM Tester (A) to the 16P Data Link Connector (DLC) (B) located under the ashtray ('99-02 models) or behind the driver's dashboard lower cover ('03 model).
    Fig 1: Connecting PGM Tester To Data Link Connector (1999-02 Models)
    G01156230Courtesy of AMERICAN HONDA MOTOR CO., INC.
    Fig 2: Connecting PGM Tester To Data Link Connector (2003 Model)
    G01156231Courtesy of AMERICAN HONDA MOTOR CO., INC.
  2. Short the SCS circuit to body ground using the Honda PGM Tester.
  3. Turn the ignition switch ON (II) without pressing the brake pedal.
    NOTE: If the brake pedal is pressed when turning the ignition switch ON (II), the system shifts to the DTC clearing mode.
  4. The ABS indicator will blink. The blinking frequency indicates the DTC.
    NOTE: If the DTC is not memorized, the ABS indicator will go off for 3.6 seconds, and then come back on.

    The system will not indicate the DTC unless these conditions are met: 

    • The brake pedal is not pressed.
    • The SCS circuit is shorted to body ground before the ignition switch is turned ON (II).
    • The ignition switch is turned ON (II).
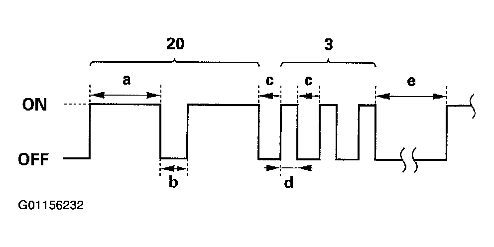
    Fig 3: Example Of DTC 23
    G01156232Courtesy of AMERICAN HONDA MOTOR CO., INC.
    Fig 4: Example Of DTC 111
    G01156233Courtesy of AMERICAN HONDA MOTOR CO., INC.
  5. Turn the ignition switch OFF.
  6. Disconnect the Honda PGM Tester from the DLC.