LEMON Manuals: Even more car manuals for everyone: 1960-2025
Home >> Acura >> 2003 >> 3.2TL Base >> Repair and Diagnosis >> Steering >> Power Steering System >> Steering Gearbox Overhaul >> Disassembly
April 5, 2026: LEMON Manuals is launched! Read the announcement.

Steering Gearbox Overhaul: Disassembly

  1. Remove the boot bands (A) and tie-rod clips (B). Pull the boots away from the ends of the gearbox.
    Fig 1: Removing Boot Bands & Tie-Rod Clips
    G01159345Courtesy of AMERICAN HONDA MOTOR CO., INC.
  2. Unbend the lock washer.
    Fig 2: Unbending Lock Washer
    G01159346Courtesy of AMERICAN HONDA MOTOR CO., INC.
  3. Hold the flat surface sections (A) of the right side steering rack (B) with a wrench, and unscrew the both rack ends (C) with a wrench. Be careful not to damage the rack surface with the wrench. Remove the lock washer (D) and stop washer (E).
    Fig 3: Holding Flat Surface Sections
    G01159347Courtesy of AMERICAN HONDA MOTOR CO., INC.
  4. Loosen the locknut (A), then remove the rack guide screw (B).
    Fig 4: Loosening Locknut
    G01159348Courtesy of AMERICAN HONDA MOTOR CO., INC.
  5. Remove the spring (C) and the rack guide (D) from the gearbox.
  6. Remove the cylinder lines from the gearbox.
    Fig 5: Removing Cylinder Lines From Gearbox
    G01159349Courtesy of AMERICAN HONDA MOTOR CO., INC.
  7. Drain the fluid from the cylinder fittings by slowly moving the steering rack back and forth.
  8. Remove the 2 flange bolts, then remove the valve body unit (A) from the gearbox (B).
    Fig 6: Removing Valve Body Unit From Gearbox
    G01159350Courtesy of AMERICAN HONDA MOTOR CO., INC.
  9. Drill a 3 mm (0.12 in.) diameter hole approximately 2.5-3.0 mm (0.10-0.12 in.) in depth in the staked point (A) on the cylinder. Do not allow metal shavings to enter the cylinder housing. After removing the cylinder end, remove any burrs (B) at the staked point.
    Fig 7: Drilling Hole In Staked Point On Cylinder
    G01159351Courtesy of AMERICAN HONDA MOTOR CO., INC.
  10. Attach the yoke of a universal puller (A) to the steering gearbox mounts with bolts. Clamp the yoke in a vise with soft jaws as shown, then loosen and remove the cylinder end (B). Do not clamp the cylinder housing or gearbox housing in the vise.
    Fig 8: Attaching Yoke Of Universal Puller To Steering Gearbox Mounts
    G01159352Courtesy of AMERICAN HONDA MOTOR CO., INC.
  11. Install the bearing separator (A) on the gearbox housing as shown.
    Fig 9: Installing Bearing Separator
    G01159353Courtesy of AMERICAN HONDA MOTOR CO., INC.
  12. Place a appropriate size deep socket wrench (B) on the steering rack (C).
  13. Set the steering gearbox in a press so the left side points upward, then press the cylinder end seal (D) and steering rack out of the gearbox. Hold the steering rack to keep it from falling when pressed clear. Be careful not to damage the inner surface of the cylinder housing with the tool.
  14. Remove the cylinder end seal from the steering rack.
  15. Insert a 24" long, 3/8" drive extension (A) and the special tool into the cylinder from the left side. Make sure that the special tool is securely positioned on the backup ring edges. Be careful not to damage the inner surface of the cylinder with the special tool.
    Fig 10: Inserting Drive Extension
    G01159354Courtesy of AMERICAN HONDA MOTOR CO., INC.
  16. Set the gearbox in a press, then press out the cylinder end seal (A) and backup ring (B) from the gearbox.

    Note these items when pressing the cylinder end seal:

    • Keep the tool straight to avoid damaging the cylinder wall. Check the tool angle, and correct it if necessary, when removing the cylinder end seal.
    • Use a press to remove the cylinder end seal. Do not try to remove the seal by striking the tool. It will break the backup ring, and the cylinder end seal will remain in the gearbox.
    Fig 11: Pressing Out Cylinder End Seal
    G01159355Courtesy of AMERICAN HONDA MOTOR CO., INC.
  17. Carefully pry the piston seal ring (A) and O-ring (B) off the rack piston. Be careful not to damage the inside of the seal ring groove and piston edges when removing the seal ring.
    Fig 12: Prying Piston Seal Ring & O-Ring
    G01159356Courtesy of AMERICAN HONDA MOTOR CO., INC.
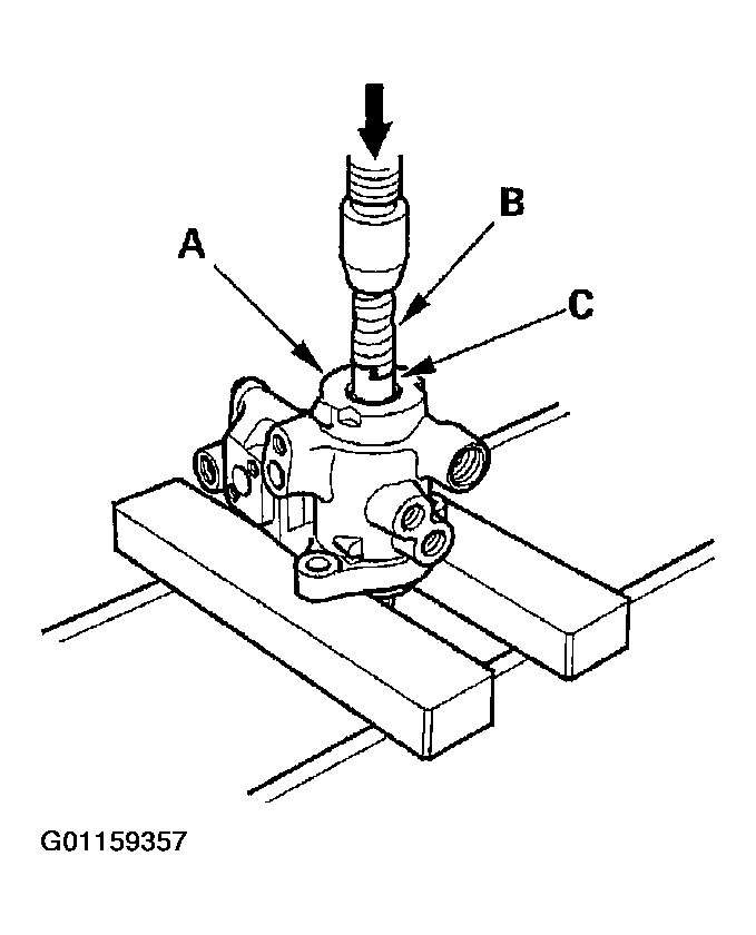
  18. Before removing the valve housing (A), apply vinyl tape (B) to the splines on the pinion shaft (C).
    Fig 13: Removing Valve Housing
    G01159357Courtesy of AMERICAN HONDA MOTOR CO., INC.
  19. Separate the valve housing from the pinion shaft/valve using a press.
  20. With your finger, check the inner wall of the valve housing where the seal ring slides. If there is a step in the wall, the housing is worn. Replace it.
    NOTE: There may be sliding marks from the seal ring on the wall of the valve housing. Replace the valve housing only if the wall is stepped.
    Fig 14: Checking Inner Wall Of Valve Housing
    G01159358Courtesy of AMERICAN HONDA MOTOR CO., INC.
  21. Check for wear, burrs and other damage to the edges of the grooves in the sleeve.
    NOTE: The pinion shaft and sleeve are a precision matched set. If either the pinion shaft or sleeve must be replaced, replace both parts as a set.
    Fig 15: Checking For Wear, Burrs & Other Damage To Grooves
    G01159359Courtesy of AMERICAN HONDA MOTOR CO., INC.
  22. Remove the snap ring (A) and sleeve (B) from the pinion shaft.
    Fig 16: Removing Snap Ring & Sleeve
    G01159360Courtesy of AMERICAN HONDA MOTOR CO., INC.
  23. Using a cutter or an equivalent tool, cut and remove the 5 seal rings from the sleeve. Be careful not to damage the edges of the sleeve grooves and outer surface when removing the seal rings.
    Fig 17: Cutting & Removing Seal Rings From Sleeve
    G01159361Courtesy of AMERICAN HONDA MOTOR CO., INC.
  24. Using a cutter or an equivalent tool, cut the valve seal ring (A) and O-ring (B) at the groove (C) in the pinion shaft. Remove the valve seal ring and O-ring. Be careful not to damage the edges of the pinion shaft groove and outer surface when removing the valve seal ring and O-ring.
    Fig 18: Cutting Valve Seal Ring
    G01159362Courtesy of AMERICAN HONDA MOTOR CO., INC.
  25. Remove the valve oil seal (A) and wave washer (B) from the pinion shaft.

    Note these items during disassembly:

    • Inspect the ball bearing (C) by rotating the outer race slowly. If there is any excessive play, replace the pinion shaft and sleeve as an assembly.
    • The pinion shaft and sleeve are a precise fit; do not intermix old and new pinion shafts and sleeves.
    Fig 19: Removing Valve Oil Seal
    G01159363Courtesy of AMERICAN HONDA MOTOR CO., INC.
  26. Press the valve oil seal (A) and bushing (B) out of the valve housing using a hydraulic press and special tool.
    Fig 20: Pressing Valve Oil Seal & Bushing
    G01159364Courtesy of AMERICAN HONDA MOTOR CO., INC.
  27. Remove the cap (A) and cap seal (B) from the valve body.
    Fig 21: Removing Cap & Cap Seal
    G01159365Courtesy of AMERICAN HONDA MOTOR CO., INC.
  28. Remove the pressure control valve (A), assist control valve (B) and springs (C).
    Fig 22: Removing Pressure Control Valve
    G01159366Courtesy of AMERICAN HONDA MOTOR CO., INC.
  29. Check the assist control valve (A) and pressure control valve (B). If the valves are damaged, replace the valve body as an assembly. Inspect its surface for scoring and scratches. Slip it back into the valve body unit, and make sure it slides smoothly without drag or side play.
    Fig 23: Checking Assist Control Valve
    G01159367Courtesy of AMERICAN HONDA MOTOR CO., INC.
    Fig 24: Checking Pressure Control Valve
    G01159368Courtesy of AMERICAN HONDA MOTOR CO., INC.
  30. Separate the valve body (A) and valve housing (B).
    Fig 25: Separating Valve Body
    G01159369Courtesy of AMERICAN HONDA MOTOR CO., INC.
  31. Remove the valve housing seal (C) dowel pins (D).
  32. Clean the disassembled parts with solvent, and dry them with compressed air. Do not dip rubber parts in the solvent.


  1. Remove the boot bands (A) and tie-rod clips (B). Pull the boots away from the ends of the gearbox.
    Fig 1: Removing Boot Bands & Tie-Rod Clips
    G01159403Courtesy of AMERICAN HONDA MOTOR CO., INC.
  2. Unbend the lock washer.
    Fig 2: Unbending Lock Washer
    G01159404Courtesy of AMERICAN HONDA MOTOR CO., INC.
  3. Hold the flat surface sections (A) of the right side steering rack (B) with a wrench, and unscrew the both rack ends (C) with a wrench. Be careful not to damage the rack surface with the wrench. Remove the lock washer (D) and stop washer (E).
    Fig 3: Holding Flat Surface Section Of Right Steering Rack
    G01159405Courtesy of AMERICAN HONDA MOTOR CO., INC.
  4. Loosen the locknut (A), then remove the rack guide screw (B).
    Fig 4: Loosening Locknut
    G01159406Courtesy of AMERICAN HONDA MOTOR CO., INC.
  5. Remove the spring (C) and the rack guide (D) from the gearbox.
  6. Remove the cylinder lines from the gearbox.
    Fig 5: Removing Cylinder Lines From Gearbox
    G01159407Courtesy of AMERICAN HONDA MOTOR CO., INC.
  7. Drain the fluid from the cylinder fittings by slowly moving the steering rack back and forth.
  8. Remove the two flange bolts, then remove the valve body unit (A) from the gearbox (B).
    Fig 6: Removing Valve Body Unit From Gearbox
    G01159408Courtesy of AMERICAN HONDA MOTOR CO., INC.
  9. Drill a 3 mm (0.12 in.) diameter hole approximately 2.5-3.0 mm (0.10-0.12 in.) in depth in the staked point (A) on the cylinder. Do not allow metal shavings to enter the cylinder housing. After removing the cylinder end (B), remove any burrs at the staked point.
    Fig 7: Drilling Hole In Depth In Staked Point
    G01159409Courtesy of AMERICAN HONDA MOTOR CO., INC.
  10. Attach the yoke of a universal puller (A) to the steering gearbox mounts with bolts. Clamp the yoke in a vise with soft jaws as shown, then loosen and remove the cylinder end (B). Do not clamp the cylinder housing or gearbox housing in the vise.
    Fig 8: Attaching Yoke Of Universal Puller To Steering Gearbox Mounts
    G01159410Courtesy of AMERICAN HONDA MOTOR CO., INC.
  11. Install the bearing separator (A) on the gearbox housing as shown.
    Fig 9: Installing Bearing Separator On Gearbox Housing
    G01159411Courtesy of AMERICAN HONDA MOTOR CO., INC.
  12. Place a appropriate size deep socket wrench (B) on the steering rack (C).
  13. Set the steering gearbox in a press so the left side points upward, then press the cylinder end seal (D) and steering rack out of the gearbox. Hold the steering rack to keep it from falling when pressed clear. Be careful not to damage the inner surface of the cylinder housing with the tool.
  14. Remove the cylinder end seal from the steering rack.
  15. Insert a 24" long, 3/8" drive extension (A) and the special tool into the cylinder from the left side. Make sure that the special tool is securely positioned on the backup ring edges. Be careful not to damage the inner surface of the cylinder with the special tool.
    Fig 10: Inserting Drive Extension
    G01159412Courtesy of AMERICAN HONDA MOTOR CO., INC.
  16. Set the gearbox in a press, then press out the cylinder end seal (A) and backup ring (B) from the gearbox.

    Note these items when pressing the cylinder end seal:

    • Keep the tool straight to avoid damaging the cylinder wall. Check the tool angle, and correct it if necessary, when removing the cylinder end seal.
    • Use a press to remove the cylinder end seal. Do not try to remove the seal by striking the tool. It will break the backup ring, and the cylinder end seal will remain in the gearbox.
    Fig 11: Pressing Out Cylinder End Seal
    G01159413Courtesy of AMERICAN HONDA MOTOR CO., INC.
  17. Carefully pry the piston seal ring (A) and O-ring (B) off the rack piston. Be careful not to damage the inside of the seal ring groove and piston edges when removing the seal ring.
    Fig 12: Prying Piston Seal Ring & O-Ring
    G01159414Courtesy of AMERICAN HONDA MOTOR CO., INC.
  18. Before removing the valve housing (A), apply vinyl tape (B) to the splines on the pinion shaft (C).
    Fig 13: Removing Valve Housing
    G01159415Courtesy of AMERICAN HONDA MOTOR CO., INC.
  19. Separate the valve housing from the pinion shaft/valve using a press.
  20. With your finger check the inner wall of the valve housing where the seal ring slides. If there is a step in the wall, the housing is worn. Replace it.
    NOTE: There may be sliding marks from the seal ring on the wall of the valve housing. Replace the valve housing only if the wall is stepped.
    Fig 14: Checking Inner Wall Of Valve Housing
    G01159416Courtesy of AMERICAN HONDA MOTOR CO., INC.
  21. Check for wear, burrs and other damage to the edges of the grooves in the sleeve.
    NOTE: The pinion shaft and sleeve are a precision matched set. If either the pinion shaft or sleeve must be replaced, replace both parts as a set.
    Fig 15: Checking For Wear, Burrs & Other Damage To Edges Of Grooves
    G01159417Courtesy of AMERICAN HONDA MOTOR CO., INC.
  22. Remove the circlip (A) and sleeve (B) from the pinion shaft.
    Fig 16: Removing Circlip & Sleeve From Pinion Shaft
    G01159418Courtesy of AMERICAN HONDA MOTOR CO., INC.
  23. Using a cutter or an equivalent tool, cut and remove the four seal rings from the sleeve. Be careful not to damage the edges of the sleeve grooves and outer surface when removing the seal rings.
    Fig 17: Cutting & Removing Seal Rings From Sleeve
    G01159419Courtesy of AMERICAN HONDA MOTOR CO., INC.
  24. Using a cutter or an equivalent tool, cut the valve seal ring (A) and O-ring (B) at the cutting groove position (C) in the pinion shaft. Remove the valve seal ring and O-ring. Be careful not to damage the edges of the pinion shaft groove and outer surface when removing the valve seal ring and O-ring.
    Fig 18: Cutting Valve Seal Ring & O-Ring
    G01159420Courtesy of AMERICAN HONDA MOTOR CO., INC.
  25. Remove the valve oil seal (A) and wave washer (B) from the pinion shaft.

    Note these items during disassembly:

    • Inspect the ball bearing (C) by rotating the outer race slowly. If there is any excessive play or wear, replace the pinion shaft and sleeve as an assembly.
    • The pinion shaft and sleeve are a precise fit; do not intermix old and new pinion shafts and sleeves.
    Fig 19: Removing Valve Oil Seal
    G01159421Courtesy of AMERICAN HONDA MOTOR CO., INC.
  26. Press the valve oil seal (A) and bushing (B) out of the valve housing using a hydraulic press and special tool.
    Fig 20: Pressing Valve Oil Seal & Bushing
    G01159422Courtesy of AMERICAN HONDA MOTOR CO., INC.
  27. Clean the disassembled parts with solvent, and dry them with compressed air. Do not dip rubber parts in the solvent.