LEMON Manuals: Even more car manuals for everyone: 1960-2025
Home >> Acura >> 2003 >> 3.2TL Base >> Repair and Diagnosis >> Steering >> Power Steering System >> Steering Gearbox Overhaul >> Reassembly
April 5, 2026: LEMON Manuals is launched! Read the announcement.

Steering Gearbox Overhaul: Reassembly

  1. Apply vinyl tape (A) to the stepped portion of the pinion shaft, and coat the surface of the vinyl tape with the power steering fluid.
    Fig 1: Applying Vinyl Tape To Stepped Portion
    G01159370Courtesy of AMERICAN HONDA MOTOR CO., INC.
  2. Install the wave washer (B).
  3. Coat the inside surface of the new valve oil seal (C) with power steering fluid, and install the seal with its grooved side facing opposite the bearing, then slide it over the pinion shaft, being careful not to damage its sealing lip (D). Remove the vinyl tape.
  4. Apply vinyl tape (A) to the splines and stepped portion of the shaft, and coat the surface of the vinyl tape with the power steering fluid.
    Fig 2: Applying Vinyl Tape To Splines
    G01159371Courtesy of AMERICAN HONDA MOTOR CO., INC.
  5. Fit the new O-ring (B) in the groove of the pinion shaft. Then slide the new valve seal ring (C) over the shaft and in the groove on the pinion shaft.
  6. Remove the tape, and apply power steering fluid to the surface of the valve seal ring (A).
    Fig 3: Removing Tape & Applying Power Steering Fluid
    G01159372Courtesy of AMERICAN HONDA MOTOR CO., INC.
  7. Apply power steering fluid to the inside of the special tool. Set the larger diameter end of the special tool over the valve seal ring, and move the special tool up and down several times to make the valve seal ring fit in the pinion shaft groove.
  8. Remove the special tool, turn it over, slide the smaller diameter end over the valve seal ring. Move it up and down several times to make the valve seal ring fit snugly in the pinion shaft groove.
  9. Apply power steering fluid to the surface of the pinion shaft (A). Slide the sleeve (B) onto the pinion shaft by aligning the locating pin (C) on the inside of the sleeve with the cutout (D) in the shaft. Then install the new snap ring (E) securely in the pinion shaft groove.

    Note these items during reassembly:

    • Be careful not to damage the valve seal ring when inserting the sleeve.
    • Install the snap ring with its radiused side toward the sleeve.
    Fig 4: Applying Power Steering Fluid To Surface
    G01159373Courtesy of AMERICAN HONDA MOTOR CO., INC.
  10. Apply power steering fluid to the surface of the special tool. Slip 5 new seal rings (A) over the special tool from the smaller diameter end, and expand them.

    Note these items when installing the seal ring:

    • Do not over-expand the seal ring. Install the resin seal rings with care so as not to damage them. After installation, be sure to contract the seal rings using the special tool (sizing tool).
    • There are 2 types of sleeve seal rings: black and brown. Do not mix the different types of rings as they are not compatible.
    Fig 5: Slipping New Seal Rings
    G01159374Courtesy of AMERICAN HONDA MOTOR CO., INC.
  11. Align the special tool with each groove (B) in the sleeve, and slide a sleeve seal ring into each groove. After installation, compress the seal rings with your fingers temporarily.
  12. Apply power steering fluid to the seal rings on the sleeve, and to the entire inside surface of the special tool, then slowly insert the sleeve into the special tool.
    Fig 6: Slowly Inserting Sleeve Into Sleeve Ring
    G01159375Courtesy of AMERICAN HONDA MOTOR CO., INC.
  13. Move the special tool back and forth several times to make the seal rings snugly fit in the sleeve. Be sure that the seal rings are not twisted.
  14. Coat the housing seal (A) with power steering fluid, and install it in the groove of the valve housing (B). Install the 2 dowel pins (C) and valve body (D) on the valve housing.
    Fig 7: Coating Housing Seal
    G01159376Courtesy of AMERICAN HONDA MOTOR CO., INC.
  15. Install the valve springs (A).
    Fig 8: Installing Valve Springs
    G01159377Courtesy of AMERICAN HONDA MOTOR CO., INC.
  16. Coat the pressure control valve (B) and assist control valve (C) with power steering fluid, and install them into the valve body.
  17. Coat the cap seal (A) with power steering fluid, and install it in the groove of the cap (B). Install the cap on the valve body.
    Fig 9: Coating Cap Seal
    G01159378Courtesy of AMERICAN HONDA MOTOR CO., INC.
  18. Apply power steering fluid to the seal ring lip of the new valve oil seal (A), then install the seal in the valve housing (B) using a hydraulic press and special tools. Install the seal with its grooved side (C) facing the tool.
    Fig 10: Applying Power Steering Fluid To Seal Ring Lip
    G01159379Courtesy of AMERICAN HONDA MOTOR CO., INC.
  19. Press the bushing (D) into the valve housing with a hydraulic press and special tool.
  20. Apply vinyl tape (A) to the pinion shaft, then coat the vinyl tape with power steering fluid.
    Fig 11: Applying Vinyl Tape To Pinion Shaft
    G01159380Courtesy of AMERICAN HONDA MOTOR CO., INC.
  21. Insert the pinion shaft into the valve housing (B). Be careful not to damage the valve seal rings (C).
  22. Remove the vinyl tape from the pinion shaft, then remove any residue from the tape adhesive.
  23. Press the pinion shaft/sleeve into the valve housing with a hydraulic press. Check that the pinion shaft/sleeve turns smoothly by hand after installing it.
    Fig 12: Checking Pinion Shaft/Sleeve Turns Smoothly
    G01159381Courtesy of AMERICAN HONDA MOTOR CO., INC.
  24. Coat the special tool with power steering fluid, then slide it onto the rack, big end first.
  25. Position the new O-ring (A) and new piston seal ring (B) on the special tool, then slide them down toward the big end of the tool.

    Note these items during reassembly:

    • Do not over expand the resin seal rings. Install the resin seal rings with care so as not to damage them. After installation, be sure to contract the seal ring using the special tool (sizing tool).
    • Replace piston's O-ring and seal ring as a set.
    Fig 13: Positioning New O-Ring & New Piston Seal Ring
    G01159382Courtesy of AMERICAN HONDA MOTOR CO., INC.
  26. Pull the O-ring off into the piston groove, then pull the piston seal ring off into the piston groove on top of the O-ring.
  27. Coat the piston seal ring (A) and the inside of the special tool with power steering fluid, then carefully slide the tool onto the rack and over the piston seal ring.
  28. Move the special tool back and forth several times to make the piston seal ring fit snugly in the piston.
    Fig 14: Moving Piston Seal Ring Back & Forth
    G01159383Courtesy of AMERICAN HONDA MOTOR CO., INC.
  29. Wrap vinyl tape (A) around the rack teeth and rack end edges, then coat the surface of the tape with power steering fluid. Make sure that the vinyl tape is wrapped carefully so there is no stepped portion.
    Fig 15: Wrapping Vinyl Tape Around Rack Teeth & Rack End Edges
    G01159384Courtesy of AMERICAN HONDA MOTOR CO., INC.
  30. Coat the inside surface of the new cylinder end seal (A) with power steering fluid, then install it onto the steering rack with its grooved side toward the piston. When installing the cylinder end seal, be careful not damage the lip of the seal with the edges or teeth of the steering rack.
    Fig 16: Coating Inside Surface Of New Cylinder End Seal
    G01159385Courtesy of AMERICAN HONDA MOTOR CO., INC.
  31. Remove the vinyl tape from the steering rack, then remove any adhesive residue.
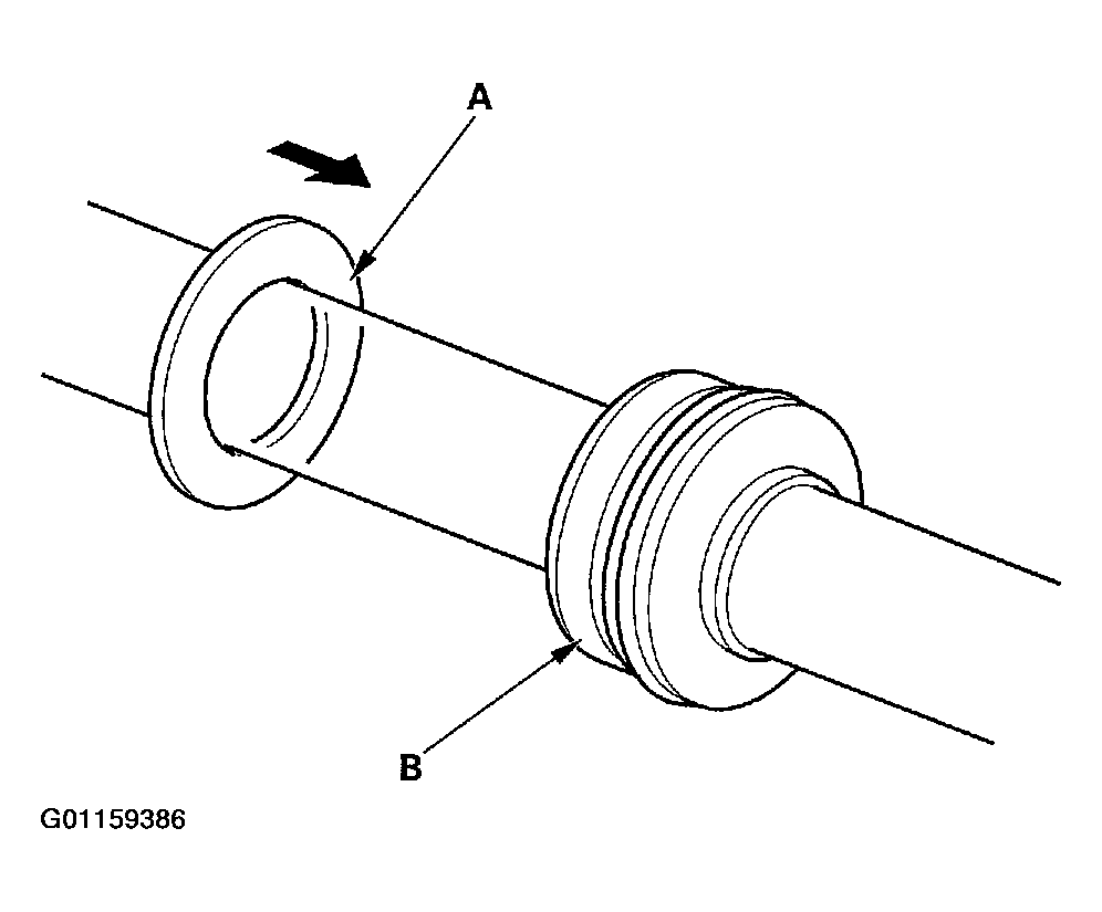
  32. Install the new backup ring (A) on the steering rack, then place the cylinder end seal (B) against the piston.
    Fig 17: Installing Backup Ring On Steering Rack
    G01159386Courtesy of AMERICAN HONDA MOTOR CO., INC.
  33. Grease the steering rack teeth, then insert the steering rack into the gearbox housing. Be careful not to damage the inner surface of the cylinder wall with the rack edges.
    Fig 18: Greasing Steering Rack Teeth
    G01159387Courtesy of AMERICAN HONDA MOTOR CO., INC.
  34. Insert an appropriate size deep socket wrench (A) onto the steering rack as shown.
    Fig 19: Inserting Appropriate Size Deep Socket Wrench
    G01159388Courtesy of AMERICAN HONDA MOTOR CO., INC.
  35. Install the cylinder end seal (B) into the bottom of the cylinder by pressing on the tool with a press. Do not push on the tool with excessive force as it may damage the cylinder end seal.
  36. Remove the deep socket wrench, and center the steering rack.
  37. Wrap vinyl tape around the rack end edges, and coat the surface of the tape with the power steering fluid. Make sure that the vinyl tape is wrapped carefully so there is no stepped portion.
    Fig 20: Wrapping Vinyl Tape Around Rack End Edges
    G01159389Courtesy of AMERICAN HONDA MOTOR CO., INC.
  38. Coat the inside surface of the new cylinder end seal with power steering fluid, then install the seal onto the steering rack with its grooved side toward the piston.
    Fig 21: Installing Seal Onto Steering Rack
    G01159390Courtesy of AMERICAN HONDA MOTOR CO., INC.
  39. Push in the cylinder end seal with your finger. Be careful not to damage the face of the seal with the threads and burrs at the staked position of the cylinder housing.
  40. Remove the vinyl tape from the steering rack, then remove any adhesive residue.
  41. Attach the yoke of a universal puller (A) to the steering gearbox mounts with bolts, then clamp the yoke in a vise with soft jaws. Do not clamp the cylinder housing or gearbox housing in the vise.
    Fig 22: Attaching Yoke Of Universal Puller To Steering Gearbox Mounts
    G01159391Courtesy of AMERICAN HONDA MOTOR CO., INC.
  42. Coat the inside surface (A) of the cylinder end with power steering fluid, then install the cylinder end by screwing it into the cylinder (B).
    Fig 23: Coating Inside Surface Of Cylinder End
    G01159392Courtesy of AMERICAN HONDA MOTOR CO., INC.
  43. Remove the yoke from the gearbox, then, after tightening the cylinder end (C), stake the point of the cylinder shown (opposite from where the stake was removed during disassembly).
  44. Coat the new O-ring (A) with grease, and carefully fit it on the valve housing.
    Fig 24: Coating O-Ring
    G01159393Courtesy of AMERICAN HONDA MOTOR CO., INC.
  45. Apply grease to the needle bearing (B) in the gearbox housing, then install the valve body unit (C) by engaging the gears. Note the valve body unit installation position (direction of the line connections).
  46. Tighten the flange bolts (D) to the specified torque.
  47. Install the cylinder lines.

    Note these items during reassembly:

    • Thoroughly clean the joints of the cylinder lines. The joints must be free of foreign material.
    • Install the cylinder lines by tightening the flare nuts by hand first, then tighten the flare nuts to the specified torque.
    Fig 25: Installing Cylinder Lines
    G01159394Courtesy of AMERICAN HONDA MOTOR CO., INC.
  48. Grease the sliding surface of the rack guide (A), and install it onto the gearbox housing.
    Fig 26: Greasing Sliding Surface Of Rack Guide
    G01159395Courtesy of AMERICAN HONDA MOTOR CO., INC.
  49. Apply sealant to the all around threads on the rack guide screw (B), then install the spring (C), rack guide screw and locknut (D).
  50. Adjust the rack guide screw. See RACK GUIDE ADJUSTMENT  . After adjusting, check that the rack moves smoothly by sliding it right and left.
  51. Install the stop washer (A), and the lock washer (B) on the rack (C). Align the lock washer tabs (D) with the slots (E) in the rack. Install the rack end (F) while holding with lock washer in place. Repeat this step for the other side of the rack.
    Fig 27: Installing Stop Washer & Lock Washer
    G01159396Courtesy of AMERICAN HONDA MOTOR CO., INC.
  52. Hold the flat surface sections of the right side steering rack with a wrench, and tighten the both rack ends. Be careful not to damage the rack surface with the wrench.
  53. Bend the lock washer back against the flat spots on the rack end joint housing.
    Fig 28: Bending Lock Washer
    G01159397Courtesy of AMERICAN HONDA MOTOR CO., INC.
  54. Apply multipurpose grease to the circumference of the rack end joint housing (A).
    Fig 29: Applying Multipurpose Grease To Circumference
    G01159398Courtesy of AMERICAN HONDA MOTOR CO., INC.
  55. Apply a light coat of silicone grease to the boot grooves (B) on the rack end.
  56. Center the steering rack within its stroke. Install the boots on the rack ends with the tie-rod clips. After installing the boots, wipe the grease off the threaded section (A) of the rack end.
    Fig 30: Wiping Grease Off Threaded Section Of Rack End
    G01159399Courtesy of AMERICAN HONDA MOTOR CO., INC.
  57. Install the new boot bands by aligning the tabs (A) with holes (B) of the band.
    Fig 31: Installing New Boot Bands Aligning Tabs
    G01159400Courtesy of AMERICAN HONDA MOTOR CO., INC.
  58. Close the ear portion (A) of the band with commercially available Pincers (Oetiker 1098 or equivalent) (B).
    Fig 32: Closing Ear Portion
    G01159401Courtesy of AMERICAN HONDA MOTOR CO., INC.
  59. Slide the rack right and left to be certain that the boots are not deformed or twisted.


  1. Apply vinyl tape (A) to the stepped portion of the pinion shaft, and coat the surface of the vinyl tape with the power steering fluid.
    Fig 1: Applying Vinyl Tape To Stepped Portion Of Pinion Shaft
    G01159423Courtesy of AMERICAN HONDA MOTOR CO., INC.
  2. Install the wave washer (B).
  3. Coat the inside surface of the new valve oil seal (C) with power steering fluid, and install the seal with its grooved side facing opposite the bearing, then slide it over the pinion shaft, being careful not to damage its sealing lip (D).
  4. Apply vinyl tape (A) to the splines and stepped portion of the shaft, and coat the surface of the vinyl tape with the power steering fluid.
    Fig 2: Applying Vinyl Tape To Splines
    G01159424Courtesy of AMERICAN HONDA MOTOR CO., INC.
  5. Fit the new O-ring (B) in the groove of the pinion shaft. Then slide the new valve seal ring (C) over the shaft and in the groove on the pinion shaft.
  6. Remove the tape, and apply power steering fluid to the surface of the valve seal ring (A).
    Fig 3: Applying Power Steering Fluid To Surface Of Valve Seal Ring
    G01159425Courtesy of AMERICAN HONDA MOTOR CO., INC.
  7. Apply power steering fluid to the inside of the special tool. Set the larger diameter end of the special tool over the valve seal ring, and move the special tool up and down several times to make the valve seal ring fit in the pinion shaft groove.
  8. Remove the special tool, turn it over, slide the smaller diameter end over the valve seal ring. Move it up and down several times to make the valve seal ring fit snugly in the pinion shaft groove.
  9. Apply power steering fluid to the surface of the special tool. Slip two new seal rings (A) over the special tool from the smaller diameter end, and expand them. Install only two rings at a time from each end of the pinion shaft sleeve (B).

    Note these items when installing the seal ring:

    • Do not over-expand the seal ring. Install the resin seal rings with care so as not to damage them. After installation, be sure to contract the seal rings using the special tool (sizing tool).
    • There are two types of sleeve seal rings: black and brown. Do not mix the different types of rings as they are not compatible.
    Fig 4: Slipping Seal Rings Over Ball Joint Slip Guide
    G01159426Courtesy of AMERICAN HONDA MOTOR CO., INC.
  10. Align the special tool with each groove in the sleeve, and slide a sleeve seal ring into each groove. After installation, compress the seal rings with your fingers temporarily.
  11. Apply power steering fluid to the seal rings on the sleeve, and to the entire inside surface of the special tool, then slowly insert the sleeve into the special tool.
    Fig 5: Inserting Sleeve Into Sleeve Ring Sizing Tool
    G01159427Courtesy of AMERICAN HONDA MOTOR CO., INC.
  12. Move the sleeve back and forth several times to make the seal rings snugly fit in the sleeve. Be sure that the seal rings are not twisted.
  13. Apply power steering fluid to the surface of the pinion shaft (A). Slide the sleeve (B) onto the pinion shaft by aligning the locating pin (C) on the inside of the sleeve with the cutout (D) in the shaft. Then install the new circlip (E) securely in the pinion shaft groove.

    Note these items during reassembly:

    • Be careful not to damage the valve seal ring when inserting the sleeve.
    • Install the circlip with its radiused side facing in.
    Fig 6: Applying Power Steering Fluid To Surface Of Pinion Shaft
    G01159428Courtesy of AMERICAN HONDA MOTOR CO., INC.
  14. Apply power steering fluid to the seal ring lip of the new valve oil seal (A), then install the seal in the valve housing (B) using a hydraulic press and special tools. Install the seal with its grooved side facing the tool.
    Fig 7: Applying Power Steering Fluid To Seal Ring Lip Of Valve Oil Seal
    G01159429Courtesy of AMERICAN HONDA MOTOR CO., INC.
  15. Press the bushing (A) into the valve housing with a hydraulic press and special tool.
    Fig 8: Pressing Bushing into Valve Housing
    G01159430Courtesy of AMERICAN HONDA MOTOR CO., INC.
  16. Apply vinyl tape (A) to the pinion shaft, then coat the vinyl tape with power steering fluid.
    Fig 9: Applying Vinyl Tape To Pinion Shaft
    G01159431Courtesy of AMERICAN HONDA MOTOR CO., INC.
  17. Insert the pinion shaft into the valve housing (B). Be careful not to damage the valve seal rings (C).
  18. Remove the vinyl tape from the pinion shaft, then remove any residue from the tape adhesive.
  19. Press the pinion shaft/sleeve into the valve housing with a hydraulic press. Check that the pinion shaft/sleeve turns smoothly by hand after installing it.
    Fig 10: Pressing Pinion Shaft/Sleeve Into Valve Housing With Hydraulic Press
    G01159432Courtesy of AMERICAN HONDA MOTOR CO., INC.
  20. Coat the special tool with power steering fluid, then slide it onto the rack, big end first.
  21. Position the new O-ring (A) and new piston seal ring (B) on the special tool, then slide them down toward the big end of the tool.

    Note these items during reassembly:

    • Do not over expand the resin seal rings. Install the resin seal rings with care so as not to damage them. After installation, be sure to contract the seal ring using the special tool (sizing tool).
    • Replace piston's O-ring and seal ring as a set.
    Fig 11: Positioning O-Ring & Piston Seal ring On Piston Seal Ring Guide
    G01159433Courtesy of AMERICAN HONDA MOTOR CO., INC.
  22. Pull the O-ring off into the piston groove, then pull the piston seal ring off into the piston groove on top of the O-ring.
  23. Coat the piston seal ring (A) and the inside of the special tool with power steering fluid, then carefully slide the tool onto the rack and over the piston seal ring.
  24. Move the special tool back and forth several times to make the piston seal ring fit snugly in the piston.
    Fig 12: Moving Piston Seal Ring Sizing Tool Back & Forth
    G01159434Courtesy of AMERICAN HONDA MOTOR CO., INC.
  25. Wrap vinyl tape (A) around the rack teeth and rack end edges, then coat the surface of the tape with power steering fluid. Make sure that the vinyl tape is wrapped carefully so there is no stepped portion.
    Fig 13: Wrapping Vinyl Tape Around Rack Teeth & Rack End Edges
    G01159435Courtesy of AMERICAN HONDA MOTOR CO., INC.
  26. Coat the inside surface of the new cylinder end seal (A) with power steering fluid, then install it onto the steering rack with its grooved side toward the piston. When installing the cylinder end seal, be careful not damage the lip of the seal with the edges or teeth of the steering rack.
    Fig 14: Coating Inside Surface Of Cylinder End Seal
    G01159436Courtesy of AMERICAN HONDA MOTOR CO., INC.
  27. Remove the vinyl tape from the steering rack, then remove any adhesive residue.
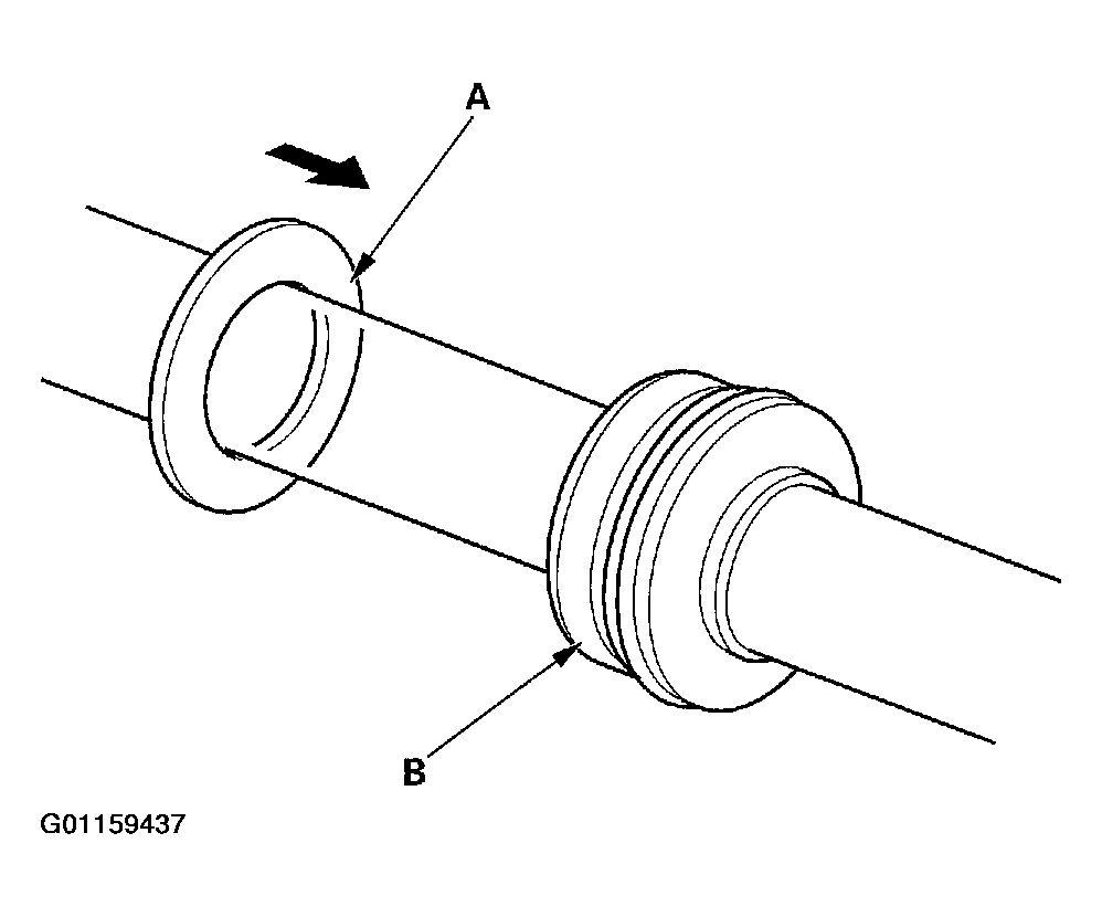
  28. Install the new backup ring (A) on the steering rack, then place the cylinder end seal (B) against the piston.
    Fig 15: Installing Backup ring On Steering Rack
    G01159437Courtesy of AMERICAN HONDA MOTOR CO., INC.
  29. Grease the steering rack teeth, then insert the steering rack into the gear box housing. Be careful not to damage to inner surface of the cylinder wall with the rack edges.
    Fig 16: Inserting Steering Rack Into Gear Box Housing
    G01159438Courtesy of AMERICAN HONDA MOTOR CO., INC.
  30. Insert an appropriate size deep socket wrench (A) onto the steering rack as shown.
    Fig 17: Inserting Appropriate Size Deep Socket Wrench
    G01159439Courtesy of AMERICAN HONDA MOTOR CO., INC.
  31. Install the cylinder end seal (B) into the bottom of the cylinder by pressing on the tool with a press. Do not push on the tool with excessive force as it may damage the cylinder end seal.
  32. Remove the tool, and center the steering rack.
  33. Wrap vinyl tape around the rack end edges, and coat the surface of the tape with the power steering fluid. Make sure that the vinyl tape is wrapped carefully so there is no stepped portion.
    Fig 18: Wrapping Vinyl Tape Around Rack & Edges
    G01159440Courtesy of AMERICAN HONDA MOTOR CO., INC.
  34. Coat the inside surface of the new cylinder end seal with power steering fluid, then install the seal onto the steering rack with its grooved side toward the piston.
    Fig 19: Installing Seal Onto Steering Rack
    G01159441Courtesy of AMERICAN HONDA MOTOR CO., INC.
  35. Push in the cylinder end seal with your finger. Be careful not to damage the face of the seal with the threads and burrs at the staked position of the cylinder housing.
  36. Remove the vinyl tape from the steering rack, then remove any adhesive residue.
  37. Attach the yoke of a universal puller (A) to the steering gearbox mounts with bolts, then clamp the yoke in a vise with soft jaws. Do not clamp the cylinder housing or gearbox housing in the vise.
    Fig 20: Attaching Yoke Of Universal Puller To Steering Gearbox Mounts
    G01159442Courtesy of AMERICAN HONDA MOTOR CO., INC.
  38. Coat the inside surface of the cylinder end (A) with power steering fluid, then install the cylinder end by screwing it into the cylinder (B).
    Fig 21: Coating Inside Surface Of Cylinder End
    G01159443Courtesy of AMERICAN HONDA MOTOR CO., INC.
  39. Remove the yoke from the gearbox, then, after tightening the cylinder end (C), stake the point of the cylinder shown (opposite from where the stake was removed during disassembly).
  40. Coat the new O-ring (A) with grease, and carefully fit it on the valve housing.
    Fig 22: Coating O-Ring With Grease
    G01159444Courtesy of AMERICAN HONDA MOTOR CO., INC.
  41. Apply grease to the needle bearing (B) in the gearbox housing, then install the valve body unit (C) by engaging the gears. Note the valve body unit installation position (direction of the line connections).
  42. Tighten the flange bolts (D) to the specified torque.
  43. Install the cylinder lines.

    Note these items during reassembly:

    • Thoroughly clean the joints of the cylinder lines. The joints must be free of foreign material.
    • Install the cylinder lines by tightening the flare nuts by hand first, then tighten the flare nuts to the specified torque.
    Fig 23: Installing Cylinder Lines
    G01159445Courtesy of AMERICAN HONDA MOTOR CO., INC.
  44. Grease the sliding surface of the rack guide (A), and install it onto the gearbox housing.
    Fig 24: Greasing Sliding Surface Of Rack Guide
    G01159446Courtesy of AMERICAN HONDA MOTOR CO., INC.
  45. Remove the old sealant from the rack guide screw (B), then apply sealant all around the threads. Install the spring (C), rack guide screw and locknut (D).
  46. Adjust the rack guide screw. See RACK GUIDE ADJUSTMENT  . After adjusting, check that the rack moves smoothly by sliding it right and left.
  47. Install the stop washer (A), and screw each rack end (B) into the rack while holding the lock washer (C) so its tabs (D) are in the slots (E) in the end of the rack.
    Fig 25: Installing Stop Washer
    G01159447Courtesy of AMERICAN HONDA MOTOR CO., INC.
  48. Hold the flat surface sections of the right side steering rack with a wrench, and tighten the both rack ends. Be careful not to damage the rack surface with the wrench.
  49. Bend the lock washer back against the flat spots on the rack end joint housing.
    Fig 26: Bending Lock Washer
    G01159448Courtesy of AMERICAN HONDA MOTOR CO., INC.
  50. Apply multipurpose grease to the circumference of the rack end joint housing (A).
    Fig 27: Applying Multipurpose Grease To Circumference Of Rack End Joint Housing
    G01159449Courtesy of AMERICAN HONDA MOTOR CO., INC.
  51. Apply a light coat of silicone grease to the boot grooves (B) on the rack end.
  52. Center the steering rack within its stroke. Install the boots on the rack ends with the tie-rod clips. After installing the boots, wipe the grease off the threaded section (A) of the rack end.
    Fig 28: Wiping Grease Off Threaded Section Of Rack End
    G01159450Courtesy of AMERICAN HONDA MOTOR CO., INC.
  53. Install the new boot bands by aligning the tabs (A) with holes (B) of the band.
    Fig 29: Installing Boot Bands By Aligning Tabs
    G01159451Courtesy of AMERICAN HONDA MOTOR CO., INC.
  54. Close the ear portion (A) of the band with commercially available pincers Oetiker 1098 or equivalent (B).
    Fig 30: Closing Ear Portion
    G01159452Courtesy of AMERICAN HONDA MOTOR CO., INC.
  55. Slide the rack right and left to be certain that the boots are not deformed or twisted.