LEMON Manuals: Even more car manuals for everyone: 1960-2025
Home >> Acura >> 2003 >> 3.2TL V6-3.2L SOHC >> Repair and Diagnosis >> Specifications >> Mechanical Specifications >> Engine >> System Specifications >> Main Bearing Cap
April 5, 2026: LEMON Manuals is launched! Read the announcement.

Main Bearing Cap





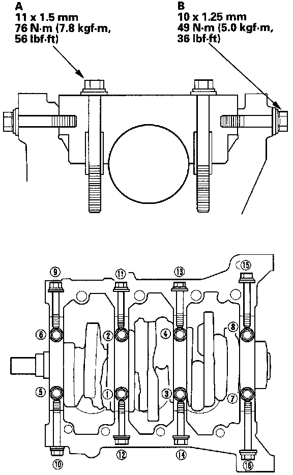
Install the bearings (A) and bearing caps (B) with the arrow (C) facing the timing belt end of the engine.

Apply engine oil to the bolt threads and flanges, then install the bearing cap bolts (D) and bearing cap side bolts (E).





Tighten the bearing cap bolts (A), and then the bearing cap side bolts (B) to the specified torque in the sequence shown. Repeat the torque sequence again to assure the bolts are properly torqued.