LEMON Manuals: Even more car manuals for everyone: 1960-2025
Home >> Acura >> 2003 >> MDX Base >> Repair and Diagnosis (Single Page) >> Transmission >> Automatic Trans >> Automatic Transmission >> System Description >> Electronic Control System >> Shift Control
April 5, 2026: LEMON Manuals is launched! Read the announcement.

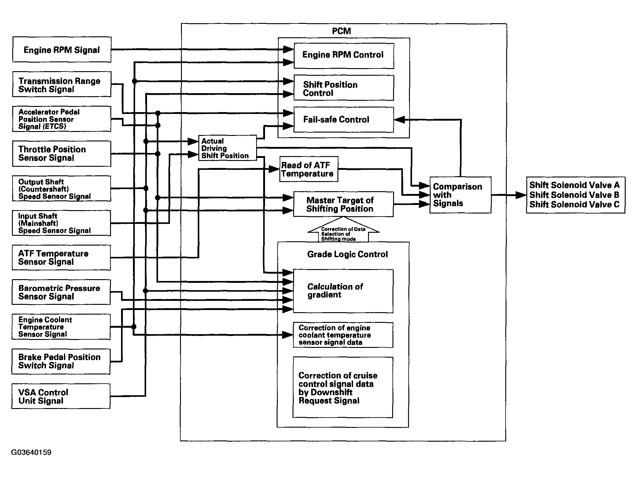
Shift Control

The PCM instantly determines which gear should be selected by various signals sent from sensors and switches, and it actuates the shift solenoid valves A, B, and C to control shifting.

Also, a grade logic control system has been adopted to control shifting in the D5, D4, and D3 positions. The PCM compares actual driving conditions with programmed driving conditions, based on the input from the throttle position sensor, the engine coolant temperature sensor, the barometric pressure sensor, the brake pedal position switch signal, and the shift lever position signal, to control shifting while the vehicle is ascending or descending a slope.

Fig 1: Identifying Shift Control - Functional Diagram
G03640159Courtesy of AMERICAN HONDA MOTOR CO., INC.

The PCM turns on the shift solenoid valves A, B, and C to control shifting transmission gear. The combination of driving signals to shift solenoid valves A, B, and C are shown in the table.

SHIFT SOLENOID VALVES

Position Gear position Shift solenoid valves
A B C
D5, D4, D3 Shifting from the N position OFF ON OFF
Stays in 1st ON ON ON
Shifting gears between 1st and 2nd ON ON ON
Stays in 2nd ON ON OFF
Shifting gears between 2nd and 3rd OFF ON OFF
Stays in 3rd OFF ON ON
D5, D4 Shifting gears between 3rd and 4th OFF OFF ON
Stays in 4th OFF OFF OFF
D5 Shifting gears between 4th and 5th ON OFF OFF
Stays in 5th ON OFF ON
2 2nd ON ON OFF
1 1st ON ON ON
R Shifting from the P and N position OFF ON ON
Stays in reverse OFF ON OFF
Reverse inhibit ON ON ON
P Park OFF ON OFF
N Neutral OFF ON OFF