LEMON Manuals: Even more car manuals for everyone: 1960-2025
Home >> Acura >> 2003 >> MDX Base >> Repair and Diagnosis >> Body & Frame >> Windows >> Glass >> Quarter Glass Replacement
April 5, 2026: LEMON Manuals is launched! Read the announcement.

Quarter Glass Replacement

NOTE:
  • Put on gloves to protect your hands.
  • Wear eye protection while cutting the glass adhesive with piano wire.
  • Cover interior surfaces to avoid damaging them.
  1. Remove these items:
  2. Pull the upper portion of the rear side trim panel back, then remove the C-pillar trim, '03 model (see C-PILLAR - '03 MODEL ), '04-06 models (see C-PILLAR - '04-06 MODELS ).
  3. Pull down the rear side portion of the headliner as necessary (see step 20 in CARPET REPLACEMENT ).
  4. Apply protective tape along the inside and outside edges of the body. Using an awl, make a hole through the adhesive from inside the vehicle. Push a piece of piano wire through the hole, and wrap each end around a piece of wood.
  5. '05-06 models with XM radio: Disconnect the glass antenna connector (A) from the right quarter glass.
    Fig 1: Disconnecting Glass Antenna Connector From Right Quarter Glass
    G03641564Courtesy of AMERICAN HONDA MOTOR CO., INC.
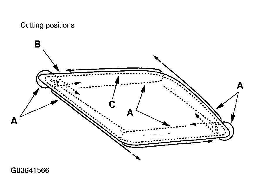
  6. With a helper on the outside, pull the piano wire (A) back and forth in a sawing motion. Hold the piano wire as close to the quarter glass (B) as possible to prevent damage to the body, and carefully cut through the adhesive (C) around the entire quarter glass.
    Fig 2: Cutting Positions Using Piano Wire (1 Of 2)
    G03641565Courtesy of AMERICAN HONDA MOTOR CO., INC.
    Fig 3: Cutting Positions Using Piano Wire (2 Of 2)
    G03641566Courtesy of AMERICAN HONDA MOTOR CO., INC.
  7. Carefully remove the quarter glass.
  8. With a putty knife, scrape the old adhesive until smooth to a thickness of about 2 mm (0.08 in.) on the bonding surface around the entire quarter glass opening flange:
    • Do not scrape down to the painted surface of the body; damaged paint will interfere with proper bonding.
    • Remove the fasteners from the body.
  9. Clean the body bonding surface with a sponge dampened in alcohol. After cleaning, keep oil, grease, and water from getting on the surface.
  10. If the old quarter glass will be reinstalled, use a putty knife to scrape off all of the old adhesive and the rubber dam from the glass. Clean the inside face and the edge of the glass with alcohol where new adhesive will be applied. Make sure the bonding surface is kept free of water, oil, and grease.
  11. Attach the rubber dam (A) with adhesive tape A to the inside surface of the glass (B) as shown in Fig 4 :
    • Be sure both ends of the rubber dam line up with the alignment marks (C).
    • Be careful not to touch the glass where adhesive will be applied.

      Adhesive tape A: Thickness 0.16 mm (0.006 in.) Width 3.5 mm (0.14 in.) 

      Fig 4: Attaching Rubber Dam With Adhesive Tape A To Inside Surface Of Glass
      G03641567Courtesy of AMERICAN HONDA MOTOR CO., INC.
  12. Attach the clips (A) with adhesive tape A to the inside face of the quarter glass (B) as shown in Fig 5 . Be careful not to touch the quarter glass where adhesive will be applied.

    Adhesive tape A: Thickness 0.4 mm (0.016 in.) Width 11 mm (0.43 in.) 

    Fig 5: Attaching Clips With Adhesive Tape A To Inside Face Of Quarter Glass
    G03641568Courtesy of AMERICAN HONDA MOTOR CO., INC.
  13. With a sponge, apply a light coat of glass primer to the edge of the glass (A) and along the rubber dam (B) as shown in Fig 6 , then lightly wipe it off with gauze or cheesecloth:
    • Do not apply body primer to the quarter glass, and do not get the body and glass primer sponges mixed up.
    • Never touch the primed surfaces with your hands. If you do, the adhesive may not bond to the quarter glass properly, causing a leak after the quarter glass is installed.
    • Keep water, dust, and abrasive materials away from the primed surfaces.
      Fig 6: Applying Light Coat Of Glass Primer To Edge Of Glass And Along Rubber Dam
      G03641569Courtesy of AMERICAN HONDA MOTOR CO., INC.
  14. With a sponge, carefully apply a light coat of body primer to any exposed paint around the flange where new adhesive will be applied. Let the primer dry for at least 10 minutes:
    • Do NOT apply body primer to any remaining original adhesive on the flange.
    • Be careful not to mix up the body and glass primer sponges.
    • Never touch the primed surface with your hands.
      Fig 7: Applying Light Coat Of Body Primer To Any Exposed Paint
      G03641570Courtesy of AMERICAN HONDA MOTOR CO., INC.
  15. Cut a "V" in the end of the nozzle (A) on the adhesive cartridge as shown in Fig 8 .
    Fig 8: Cutting "V" End Of Nozzle On Adhesive Cartridge
    G03641571Courtesy of AMERICAN HONDA MOTOR CO., INC.
  16. Put the cartridge in a caulking gun, and run a bead of adhesive (A) around the edge of the glass (B) as shown in Fig 9 . Apply the adhesive within 30 minutes after applying the glass primer. Make a slightly thicker bead at each corner.
    Fig 9: Running Bead Of Adhesive Around Edge Of Glass
    G03641572Courtesy of AMERICAN HONDA MOTOR CO., INC.
  17. Use suction cups (A) to hold the quarter glass over the opening, align it and set it down on the adhesive. Lightly push on the quarter glass until its edges are fully seated on the adhesive all the way around. Do not open or close the doors until the adhesive is dry.
    Fig 10: Using Suction Cups To Hold Quarter Glass Over Opening
    G03641573Courtesy of AMERICAN HONDA MOTOR CO., INC.
  18. Scrape or wipe any excess adhesive off with a putty knife or towel. To remove adhesive from a painted surface or the rear window, use a soft shop towel dampened with alcohol.
  19. Let the adhesive dry for at least 1 hour, then spray water over the sliding door glass and check for leaks. Mark the leaking areas, let the quarter glass dry, then seal with sealant. Let the vehicle stand for at least 4 hours after quarter glass installation. If the vehicle has to be used within the first 4 hours, it must be driven slowly.
  20. Reinstall all remaining removed parts.
    NOTE: Advise the customer not to do the following things for 2 to 3 days:
    • Slam the doors with all the windows rolled up.
    • Twist the body excessively (such as when going in and out of driveways at an angle or driving over rough, uneven roads).