LEMON Manuals: Even more car manuals for everyone: 1960-2025
Home >> Acura >> 2003 >> MDX Base >> Repair and Diagnosis >> Engine Performance >> System >> Fuel Supply System >> Fuel Line/Quick-Connect Fitting Removal
April 5, 2026: LEMON Manuals is launched! Read the announcement.

Fuel Line/Quick-Connect Fitting Removal

NOTE: Read the FUEL LINE/QUICK-CONNECT FITTING PRECAUTIONS  before doing this procedure.
  1. Relieve fuel pressure (see FUEL PRESSURE RELIEVING  ).
  2. Check the fuel quick-connect fittings for dirt, and clean if necessary.
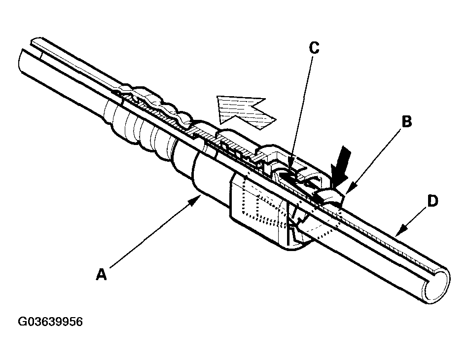
  3. Hold the connector (A) with one hand, and squeeze the retainer tabs (B) with the other hand to release them from the locking pawls (C). Pull the connector off.
    NOTE:
    • Be careful not to damage the line (D) or other parts.

      Do not use tools.

    • If the connector does not move, keep the retainer tabs pressed down, and alternately pull and push the connector until it comes off easily.
    • Do not remove the retainer from the line; once removed, the retainer must be replaced with a new one.
    Fig 1: Holding Connector And Squeezing Retainer Tabs To Release From Locking Pawls
    G03639956Courtesy of AMERICAN HONDA MOTOR CO., INC.
  4. Check the contact area (A) of the line (B) for dirt and damage.
    • If the surface is dirty, clean it.
    • If the surface is rusty or damaged, replace the fuel pump, fuel filter, or fuel feed line.
    Fig 2: Checking Contact Area Line
    G03639957Courtesy of AMERICAN HONDA MOTOR CO., INC.
  5. To prevent damage and keep foreign matter out, cover the disconnected connector and line end with plastic bags (A).
    NOTE:
    • The retainer cannot be reused once it has been removed from the line.
    • Replace the retainer when:
      • - replacing the fuel rails.
      • - replacing the fuel pump.
      • - replacing the fuel filter.
      • - replacing the fuel feed line.
      • - it has been removed from the line.
      • - it is damaged.
        Fig 3: Covering Disconnected Connector And Line End With Plastic Bags
        G03639958Courtesy of AMERICAN HONDA MOTOR CO., INC.