LEMON Manuals: Even more car manuals for everyone: 1960-2025
Home >> Acura >> 2003 >> RSX Base, Automatic >> Repair and Diagnosis (Single Page) >> Transmission >> Automatic Trans >> Automatic Transmission >> System Description >> Electronic Control System >> Lock up Control
April 5, 2026: LEMON Manuals is launched! Read the announcement.

Lock up Control

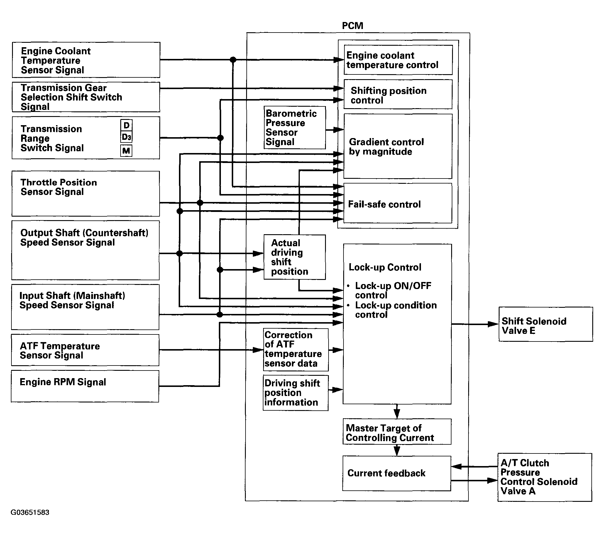
The shift solenoid valve E controls the hydraulic pressure to switch the lock up shift valve and lock up ON and OFF.

The PCM actuates the shift solenoid valve E and the A/T clutch pressure control solenoid valve A to control the torque converter clutch lock up. When the shift solenoid valve E is turned ON, the condition of the lock up starts.

The A/T clutch pressure control solenoid valve A regulates and applies the hydraulic pressure to the lock up control valve to control the amount of the lock up.

The lock up mechanism operates in 2nd, 3rd, 4th, and 5th gears in D position, 2nd and 3rd gears in D3 position, and 3rd, 4th, and 5th gears in M position.

Fig 1: Identifying Lock-Up Control Flow Chart
G03651583Courtesy of AMERICAN HONDA MOTOR CO., INC.