LEMON Manuals: Even more car manuals for everyone: 1960-2025
Home >> Acura >> 2003 >> RSX Base, Standard >> Repair and Diagnosis (Single Page) >> Engine Mechanical >> Auxiliary Emission Control Systems >> Fuel System & Emissions Systems >> System Description >> Intake Manifold Tuning (IMT) (Intake Manifold Runner Control (IMRC)) System (K20A3 engine)
April 5, 2026: LEMON Manuals is launched! Read the announcement.

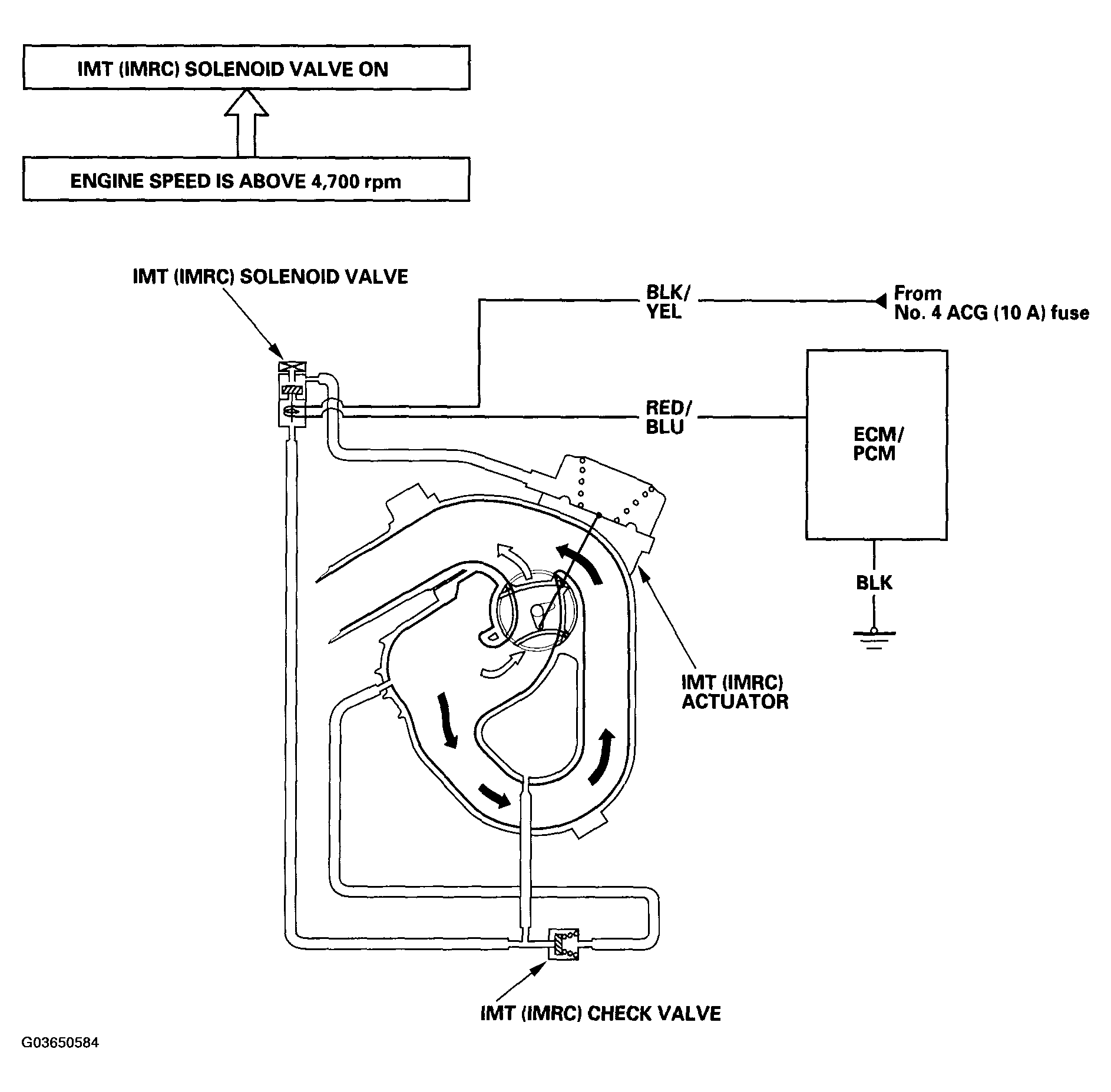
Intake Manifold Tuning (IMT) (Intake Manifold Runner Control (IMRC)) System (K20A3 engine)

Engine power is achieved by closing and opening the intake manifold tuning (IMT) (intake manifold runner control (IMRC)) valve. When the valve is closed, there is high torque at low engine speed. When the valve is open, there is high torque at high engine speed.

Fig 1: Identifying Intake Manifold Tuning System Diagram
G03650584Courtesy of AMERICAN HONDA MOTOR CO., INC.