LEMON Manuals: Even more car manuals for everyone: 1960-2025
Home >> Acura >> 2003 >> RSX Base, Standard >> Repair and Diagnosis >> Steering >> Power Steering >> Power Steering System >> Pump Replacement
April 5, 2026: LEMON Manuals is launched! Read the announcement.

Pump Replacement

  1. Place a suitable container under the vehicle.
  2. Drain the power steering fluid from the reservoir (see FLUID REPLACEMENT  ).
  3. Remove the drive belt (A) from the pump pulley (see DRIVE BELT REPLACEMENT ).
    Fig 1: Removing Drive Belt From Pump Pulley And Torque Specifications
    G03652275Courtesy of AMERICAN HONDA MOTOR CO., INC.
  4. Cover the auto-tensioner, alternator and A/C compressor with several shop towels to protect them from spilled power steering fluid. Disconnect the pump inlet hose (C) and the pump outlet hose (D) from the pump (E), and plug them. Take care not to spill the fluid on the body or parts. Wipe off any spilled fluid at once. Do not turn the steering wheel with the pump removed.
  5. Remove the pump mounting bolts (B).
  6. Cover the opening of the pump with a piece of tape to prevent foreign material from entering the pump.
  7. Install the pump in the pump bracket with the mounting bolts.
  8. Connect the pump inlet hose and the pump outlet hose with new O-ring.
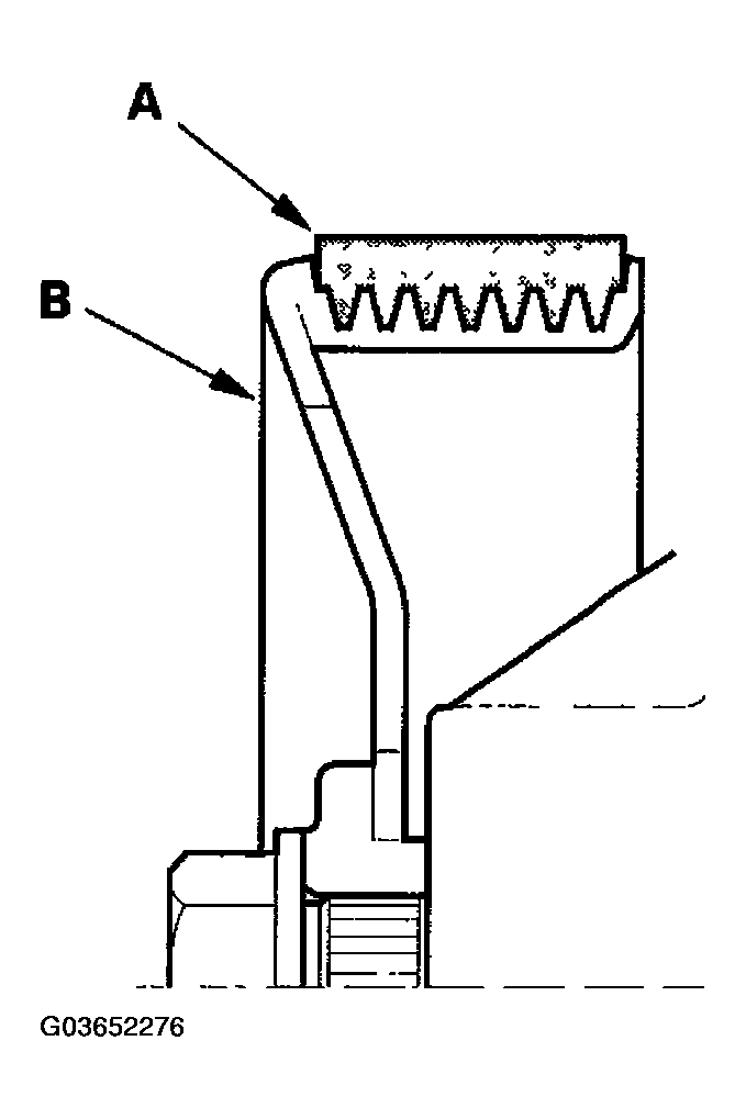
  9. Install the drive belt (A).

    Note these item during drive belt installation:

    • Make sure that the drive belt is properly positioned on the pulleys (B).
    • Do not get power steering fluid or grease on the auto-tensioner, alternator, A/C compressor and drive belt, or pulley faces. Clean off any fluid or grease before installation.
      Fig 2: Installing Drive Belt
      G03652276Courtesy of AMERICAN HONDA MOTOR CO., INC.
  10. Fill the reservoir to the upper level line with recommended power steering fluid (see FLUID REPLACEMENT  ).