LEMON Manuals: Even more car manuals for everyone: 1960-2025
Home >> Acura >> 2003 >> RSX Base, Standard >> Repair and Diagnosis >> Steering >> Power Steering >> Power Steering System >> Steering Gearbox Overhaul >> Exploded View >> Reassembly
April 5, 2026: LEMON Manuals is launched! Read the announcement.

Exploded View: Reassembly

  1. 33. Apply vinyl tape (A) to the stepped portion of the pinion shaft, and coat the surface of the vinyl tape with power steering fluid.
    Fig 1: Applying Vinyl Tape To Stepped Portion Of Pinion Shaft
    G03652358Courtesy of AMERICAN HONDA MOTOR CO., INC.
  2. 34. Install the wave washer (B). Coat the inside surface of the new valve oil seal (C) with power steering fluid, and install the seal with its grooved side facing opposite the bearing, then slide it over the pinion shaft, being careful not to damage its sealing lip (D). Remove the vinyl tape.
  3. 35. Install the special tool over the pinion, and coat the surface of the tool with power steering fluid. Slip the new O-ring (A) and new valve seal ring (B) over the special tool, and expand them.
    Fig 2: Slipping O-Ring And New Valve Seal Ring
    G03652359Courtesy of AMERICAN HONDA MOTOR CO., INC.
  4. 36. Fit the O-ring into the groove of the pinion shaft. Then slide the valve seal ring over the shaft and into the groove on the pinion shaft.
  5. 37. Remove the valve seal ring guide special tool, and apply power steering fluid to the surface of the valve seal ring (A).
    Fig 3: Applying Power Steering Fluid To Surface Of Valve Seal Ring
    G03652360Courtesy of AMERICAN HONDA MOTOR CO., INC.
  6. 38. Apply power steering fluid to the inside of the valve seal ring sizing special tool, and install it. Set the larger diameter end of the special tool over the valve seal ring, and move the special tool up and down several times to make the valve seal ring fit in the pinion shaft groove.
  7. 39. Remove the special tool, turn it over, slide the smaller diameter end over the valve seal ring. Move it up and down several times to make the valve seal ring fit snugly in the pinion shaft groove.
  8. 40. Apply power steering fluid to the surface of the special tool. Slip two new seal rings (A) over the special tool from the smaller diameter end, and expand them. Install only two rings at a time from each end of the sleeve (B).
    NOTE: Note these items when installing the seal ring:
    • Do not over-expand the seal ring. Install the resin seal rings with care so as not to damage them. After installation, make sure you contract the seal rings using the special tool (sizing tool).
    • There are two types of sleeve seal rings; black and brown. Do not mix the different types of rings as they are not compatible.
      Fig 4: Slipping Seal Rings Over Special Tool From Smaller Diameter End
      G03652361Courtesy of AMERICAN HONDA MOTOR CO., INC.
  9. 41. Align the special tool with each groove in the sleeve, and slide a sleeve seal ring into each groove. After installation, compress the seal rings with your fingers temporarily.
  10. 42. Apply power steering fluid to the seal rings on the sleeve, and to the entire inside surface of the special tool, then slowly insert the sleeve into the special tool.
    Fig 5: Applying Power Steering Fluid To Seal Rings On Sleeve
    G03652362Courtesy of AMERICAN HONDA MOTOR CO., INC.
  11. 43. Move the sleeve back and forth several times to make the seal rings snugly fit in the sleeve. Make sure the seal rings are not twisted.
  12. 44. Apply power steering fluid to the surface of the pinion shaft (A). Slide the sleeve (B) onto the pinion shaft by aligning the locating pin (C) on the inside of the sleeve with the cutout (D) in the shaft. Then install the new snap ring (E) securely in the pinion shaft groove. Be careful not to damage the valve seal ring when inserting the sleeve.
    Fig 6: Applying Power Steering Fluid To Surface Of Pinion Shaft
    G03652363Courtesy of AMERICAN HONDA MOTOR CO., INC.
  13. 45. Apply power steering fluid to the seal ring lip of the new valve oil seal (A), then install the seal in the valve housing (B) using a hydraulic press and special tools. Install the seal with its grooved side facing the tool.
    Fig 7: Applying Power Steering Fluid To Seal Ring Lip Of New Valve Oil Seal
    G03652364Courtesy of AMERICAN HONDA MOTOR CO., INC.
  14. 46. Press the roller bearing (C) into the valve housing with a hydraulic press and special tool.
  15. 47. Apply vinyl tape (A) to the pinion shaft, then coat the vinyl tape with power steering fluid.
    Fig 8: Applying Vinyl Tape To Pinion Shaft
    G03652365Courtesy of AMERICAN HONDA MOTOR CO., INC.
  16. 48. Insert the pinion shaft into the valve housing (B). Be careful not to damage the valve seal rings (C) and valve oil seal sealing lip (D).
  17. 49. Remove the vinyl tape from the pinion shaft, then remove any residue from the tape adhesive.
  18. 50. Press the pinion shaft/sleeve into the valve housing with a hydraulic press. Check that the pinion shaft/sleeve turns smoothly by hand after installing it.
    Fig 9: Inserting Pinion Shaft Into Valve Housing
    G03652366Courtesy of AMERICAN HONDA MOTOR CO., INC.
  19. 51. Coat the special tool with power steering fluid, then slide it onto the steering rack, big end first.
  20. 52. Position the new O-ring (A) and new piston seal ring (B) on the special tool, then slide them down toward the big end of the tool.
    NOTE: Note these items during reassembly:
    • Do not over expand the resin seal rings. Install the resin seal rings with care so as not to damage them. After installation, make sure you contract the seal ring using the special tool (sizing tool).
    • Replace piston's O-ring and seal ring as a set.
      Fig 10: Positioning New O-Ring And New Piston Seal Ring On Special Tool
      G03652367Courtesy of AMERICAN HONDA MOTOR CO., INC.
  21. 53. Pull the O-ring off into the piston groove, then pull the piston seal ring off into the piston groove on top of the O-ring.
  22. 54. Coat the piston seal ring (A) and the inside of the special tool with power steering fluid, then carefully slide the tool onto the rack and over the piston seal ring.
    Fig 11: Coating Piston Seal Ring And Inside Of Special Tool
    G03652368Courtesy of AMERICAN HONDA MOTOR CO., INC.
  23. 55. Move the special tool back and forth several times to make the piston seal ring fits snugly in the piston.
  24. 56. Set the new bushing (A) on the special tool, and insert the special tools into the cylinder housing (B).
    Fig 12: Inserting Special Tools Into Cylinder Housing
    G03652369Courtesy of AMERICAN HONDA MOTOR CO., INC.
  25. 57. Set the cylinder in a press, and install the bushing into the bottom of the cylinder by pressing on the tool with a press. Do not push on the tool with excessive force as it may damage the new bushing.
  26. 58. Coat the sliding surface of the special tool (A) and new cylinder end seal (B) with power steering fluid. Place the seal on the special tool with its grooved side (C) facing opposite the special tool.
    Fig 13: Coating Sliding Surface Of Special Tool
    G03652370Courtesy of AMERICAN HONDA MOTOR CO., INC.
  27. 59. Apply a thin coat of multipurpose grease to the inside of the special tool.
  28. 60. Install the cylinder end seal (A) onto the steering rack (B) with its grooved side (C) toward the piston (D). Make sure the gap in the special tool is opposite of rack teeth.
    Fig 14: Installing Cylinder End Seal Onto Steering Rack
    G03652371Courtesy of AMERICAN HONDA MOTOR CO., INC.
  29. 61. Separate the cylinder end seal from the special tool, then remove the special tool.
    Fig 15: Removing Special Tool
    G03652372Courtesy of AMERICAN HONDA MOTOR CO., INC.
  30. 62. Install the new backup ring (A) on the steering rack, then place the backup ring and cylinder end seal (B) against the piston (C).
    Fig 16: Installing Backup Ring On Steering Rack
    G03652373Courtesy of AMERICAN HONDA MOTOR CO., INC.
  31. 63. Mark (A) a position on the steering rack surface with a felt-tip marker, 14.5 mm (0.57 in.) from the rack end edge.
    Fig 17: Positioning Steering Rack Surface With Felt-Tip Marker
    G03652374Courtesy of AMERICAN HONDA MOTOR CO., INC.
  32. 64. Apply multipurpose grease to the steering rack teeth, then insert the steering rack (A) into the cylinder (B). Be careful not to damage the inner surface of the cylinder wall and bushing with the rack edges.
    Fig 18: Inserting Steering Rack Into Cylinder
    G03652375Courtesy of AMERICAN HONDA MOTOR CO., INC.
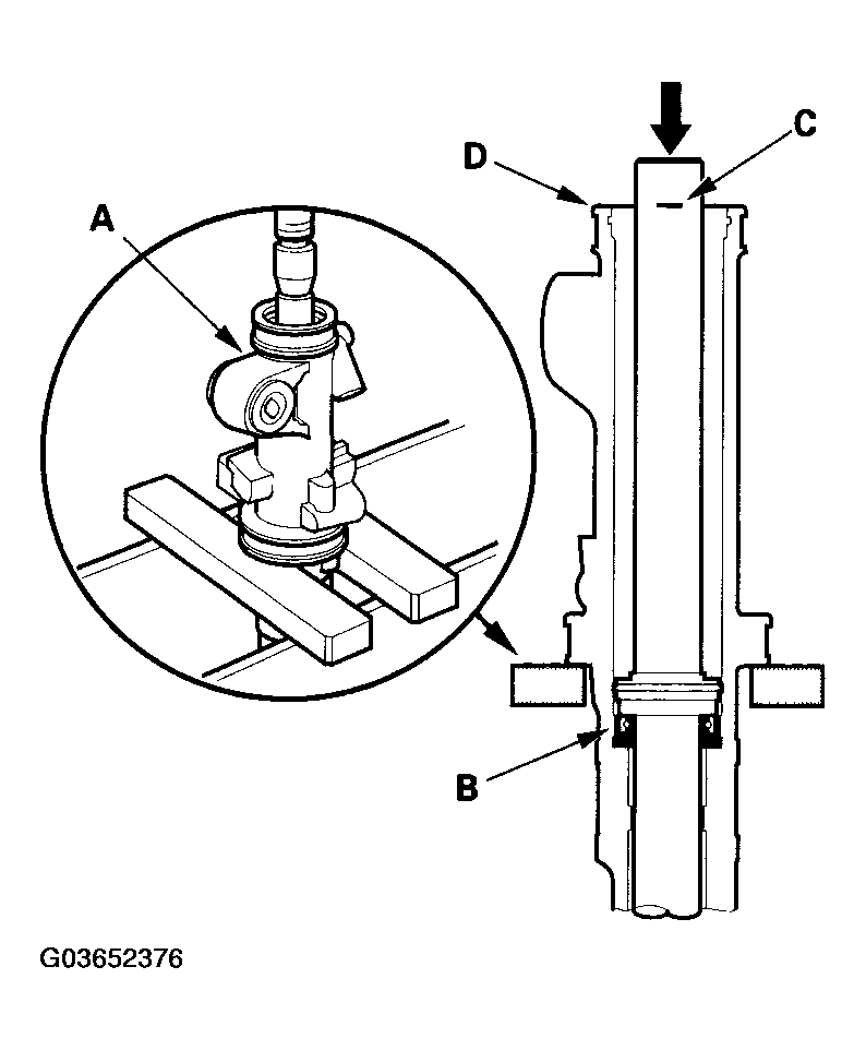
  33. 65. Set the cylinder (A) in a press, then press the cylinder end seal (B) into the bottom of the cylinder until the mark (C) on the rack meets the edge (D) of the cylinder.
    Fig 19: Pressing Cylinder End Seal Into Bottom Of Cylinder
    G03652376Courtesy of AMERICAN HONDA MOTOR CO., INC.
  34. 66. Coat the inside and outside surfaces of the new cylinder end seal (A) with power steering fluid.
    Fig 20: Coating Inside And Outside Surfaces Of Cylinder End Seal With Power Steering Fluid
    G03652377Courtesy of AMERICAN HONDA MOTOR CO., INC.
  35. 67. Install the cylinder end seal onto the steering rack (B) with its grooved side (C) toward the piston. Push in the cylinder end seal with your finger.
  36. 68. Place the backup ring (D) on the cylinder end seal with its flat side facing upward. Then drive the backup ring in with the appropriate size socket wrench until its surface is below the snap ring groove (E). Install the snap ring (F) in the groove.
  37. 69. Install the new lock screw (A) on the cylinder.
    Fig 21: Installing New Lock Screw On Cylinder
    G03652378Courtesy of AMERICAN HONDA MOTOR CO., INC.
  38. 70. Install the new stop ring (B) in the groove (C) on the cylinder by expanding it with snap ring pliers. Be careful not to scratch or damage on the cylinder surface with the stop ring edges.
  39. 71. Set the new boot bands (B) on the band installation grooves of boot A by aligning the tabs (C) with the holes (D) of the band. Do not close the ear portion of the boot band yet. Coat the housing surface with multipurpose grease in the shaded area shown.
    Fig 22: Aligning Tabs With Holes Of Band
    G03652379Courtesy of AMERICAN HONDA MOTOR CO., INC.
  40. 72. Compress boot A by hand, and apply vinyl tape (E) to the bellows so the boots stay collapsed and pulled back. Pass boot A over the cylinder so the smaller diameter end of the boot faces the gearbox housing.
  41. 73. Apply multipurpose grease to the sliding surface of the slider guide (A). Keep grease off of the rack-to-slider guide matching surfaces and the boot-to-slider guide matching surfaces. Slide the steering rack all the way to left, and place the slider guide on the steering rack by aligning the bolt holes (B).
    Fig 23: Applying Multipurpose Grease To Sliding Surface Of Slider Guide
    G03652380Courtesy of AMERICAN HONDA MOTOR CO., INC.
  42. 74. Hold the gearbox housing using a C-clamp (commercially available) (A) and the wooden block (B) as shown.
    Fig 24: Holding Gearbox Housing Using A C-Clamp And Wooden Block
    G03652381Courtesy of AMERICAN HONDA MOTOR CO., INC.
  43. 75. Push the cylinder (A) into the gearbox housing (B) so the notch (C) is aligned with the pin (D) inside of the gearbox housing.
    Fig 25: Pushing Cylinder Into Gearbox Housing
    G03652382Courtesy of AMERICAN HONDA MOTOR CO., INC.
  44. 76. Tighten the lock screw (A) by hand first, then install the special tool (B) on the lock screw. Lightly tighten the lock screw. Do not tighten the lock screw to the specified torque yet.
    Fig 26: Installing Special Tool On Lock Screw
    G03652383Courtesy of AMERICAN HONDA MOTOR CO., INC.
  45. 77. Remove the special tool.
  46. 78. Coat the new O-ring (A) with multipurpose grease, and carefully fit it on the valve housing.
    Fig 27: Coating New O-Ring With Multipurpose Grease
    G03652384Courtesy of AMERICAN HONDA MOTOR CO., INC.
  47. 79. Apply multipurpose grease to the needle bearing (B) in the gearbox housing, then install the valve body unit (C) by engaging the gears. Note the valve body unit installation position (direction of the line connections). Tighten the flange bolts (D) to the specified torque. Remove the gearbox housing from the C-clamp.
  48. 80. Grease the sliding surface and circumference of the rack guide (A) with multipurpose grease, and install it onto the gearbox housing. Wipe the grease off the threaded section of the housing.
    Fig 28: Greasing Sliding Surface And Rack Guide With Multipurpose Grease
    G03652385Courtesy of AMERICAN HONDA MOTOR CO., INC.
  49. 81. Install the disc washer (B) with its convex side facing the rack guide. Install the spring (C). Apply sealant to the middle of the threads on the rack guide screw (D), then install and tighten it to 25 N.m (2.5 kgf.m, 18 lbf.ft). Loosely install the lock nut (E).
  50. 82. Center the steering rack within its stroke, and align the slider guide (B) with the holes (C) in boot A. Fit the slider guide to boot A by pressing around the edges of the holes securely.
    Fig 29: Aligning Slider Guide With Holes In Boot
    G03652386Courtesy of AMERICAN HONDA MOTOR CO., INC.
  51. 83. Before installing the bracket (D), clean the mating surface of the 12 mm flange bolts (E) and bracket. Coat the new O-rings (F) with multipurpose grease, and install them on the 12 mm flange bolts.
  52. 84. Loosely install the bracket on the steering rack by tightening the 12 mm flange bolts to 25 N.m (2.5 kgf.m, 18 lbf.ft).
  53. 85. Install the special tool on the lock screw (A). Retighten the lock screw to the specified torque values.
    Fig 30: Installing Special Tool On Lock Screw And Torque Specifications
    G03652387Courtesy of AMERICAN HONDA MOTOR CO., INC.
  54. 86. Remove the special tool.
  55. 87. Retighten the 12 mm flange bolts (A) to the specified torque values.
    Fig 31: Retightening Flange Bolts To Specified Torque Values
    G03652388Courtesy of AMERICAN HONDA MOTOR CO., INC.
  56. 88. After tightening the 12 mm flange bolts, install a new stop washer (B) over one of the bolt heads (C). Be sure the tabs (D) of the stop washer are aligned with the flat surfaces (E) of the bolt head.
  57. 89. Clean off any grease or contamination from the boot installation grooves around on the housing.
  58. 90. Expand boot A by removing the vinyl tape, and fit the boot ends (B) in the installation grooves on the cylinder housing.
    Fig 32: Removing Vinyl Tape And Fitting Boot Ends
    G03652389Courtesy of AMERICAN HONDA MOTOR CO., INC.
  59. 91. Close the ear portion (A) of the band (B) with commercially available pincers, Oetiker 1098 or equivalent (C).
    Fig 33: Identifying Band
    G03652390Courtesy of AMERICAN HONDA MOTOR CO., INC.
  60. 92. Install the rack end plug (A).
    Fig 34: Installing Rack End Plug And Torque Specifications
    G03652391Courtesy of AMERICAN HONDA MOTOR CO., INC.
  61. 93. Clean off any grease or contamination from the boot installation grooves (C) around on the housing.
  62. 94. Install boot B, and set the boot end in the installation grooves in the cylinder housing and rack end plug properly. Install the clip (D) and boot guard (E). Install the new boot band (F) in the band grooves of boot B by aligning the tabs (G) with the holes (H) in the band.
  63. 95. Close the ear portion (A) of the band (B) with commercially available pincers, Oetiker 1098 or equivalent (C). Slide the rack right and left to be certain that the boots are not deformed or twisted.
    Fig 35: Identifying Band
    G03652392Courtesy of AMERICAN HONDA MOTOR CO., INC.
  64. 96. Install a new lock washer (A) on the tie-rod (B) with the radius side of the washer toward the tie-rod, and screw the tie-rod on the bracket (C). Repeat this step for the other tie-rod. Hold the bracket with one wrench, and tighten both tie-rods to the specified torque with another wrench.
    Fig 36: Installing New Lock Washer On Tie-Rod And Torque Specifications
    G03652393Courtesy of AMERICAN HONDA MOTOR CO., INC.
  65. 97. Bend the lock washers (A) against the flat spots on the bracket with a large pair of pliers.
    Fig 37: Identifying Bend Lock Washers
    G03652394Courtesy of AMERICAN HONDA MOTOR CO., INC.
  66. 98. Install the cylinder lines.
    NOTE: Note these items during reassembly:
    • Thoroughly clean the joints of the cylinder lines. The joints must be free of foreign material.
    • Install the cylinder lines by tightening the flare nuts by hand first, then tighten them to the specified torque.
      Fig 38: Installing Cylinder Lines And Torque Specifications
      G03652395Courtesy of AMERICAN HONDA MOTOR CO., INC.
  67. 99. Adjust the rack guide screw (see RACK GUIDE ADJUSTMENT  ). After adjusting, check that the rack moves smoothly by sliding it right and left. Reinstall the steering gearbox (see STEERING GEARBOX INSTALLATION  ).