LEMON Manuals: Even more car manuals for everyone: 1960-2025
Home >> Acura >> 2003 >> RSX L4-2.0L >> Repair and Diagnosis >> Relays and Modules >> Relays and Modules - Restraints and Safety Systems >> Air Bag Control Module >> Service and Repair >> OPDS Unit Replacement
April 5, 2026: LEMON Manuals is launched! Read the announcement.

OPDS Unit Replacement

OPDS Unit Replacement

NOTE: Review the seats replacement procedure in the body section before performing repair or service.

Removal

1. Disconnect the negative battery cable, and wait at least 3 minutes before beginning work.
2. Disconnect the side airbag harness 2P connector.
3. Remove the seat assembly and seat-back cover.




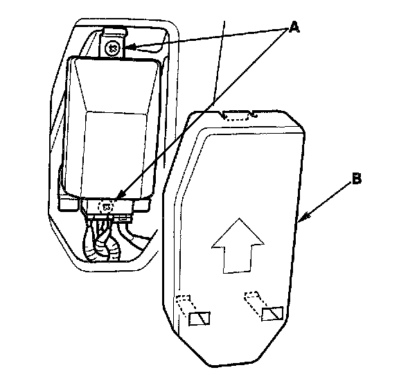
4. Remove the cover (A), then disconnect the OPDS unit harness 8P and sensor connectors from the OPDS unit.
5. Remove the two screws (B) and OPDS unit (C).

Installation




1. Place the new OPDS unit on the seat-back frame. Tighten the two screws (A), and connect the OPDS unit harness 8P and sensor connector to the OPDS unit. Reinstall the cover.
2. Install the seat-back cover.
3. Install the seat assembly, then connect the side airbag harness 2P connector.
4. Reconnect the battery negative cable.
5. Set the seat-back in the normal position, and make sure there is nothing sitting on the front passenger's seat.
6. Initialize the OPDS unit.
7. After installing the OPDS unit, confirm proper system operation: Turn the ignition switch ON (II); the SRS indicator should come on for about 6 seconds and then go off.