LEMON Manuals: Even more car manuals for everyone: 1960-2025
Home >> Acura >> 2003 >> RSX L4-2.0L >> Repair and Diagnosis >> Windows and Glass >> Windows >> Power Window Switch >> Service and Repair >> Master Switch Test/Replacement
April 5, 2026: LEMON Manuals is launched! Read the announcement.

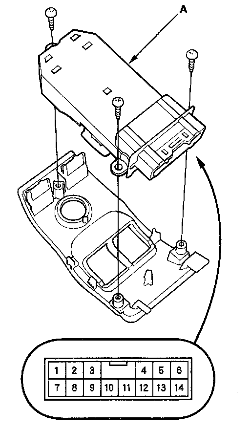
Master Switch Test/Replacement

Master Switch Test/Replacement

1. Remove the switch panel from the door panel.




2. Disconnect the 14P connector from the power window master switch (A).
3. Remove the three screws and power window master switch.
4. Check for continuity between the terminals in each switch according to the table.

Driver's Switch:




The driver's switch is combined with the control unit so you cannot isolate the switch to test it.

Instead, run the master switch input test procedures. If the tests are normal, the driver's switch must be faulty.

5. If the switch is faulty, replace the switch.