LEMON Manuals: Even more car manuals for everyone: 1960-2025
Home >> Acura >> 2004 >> 1.7EL Standard >> Repair and Diagnosis >> General Information >> OEM General Information >> Service Specifications >> Body Specifications
April 5, 2026: LEMON Manuals is launched! Read the announcement.

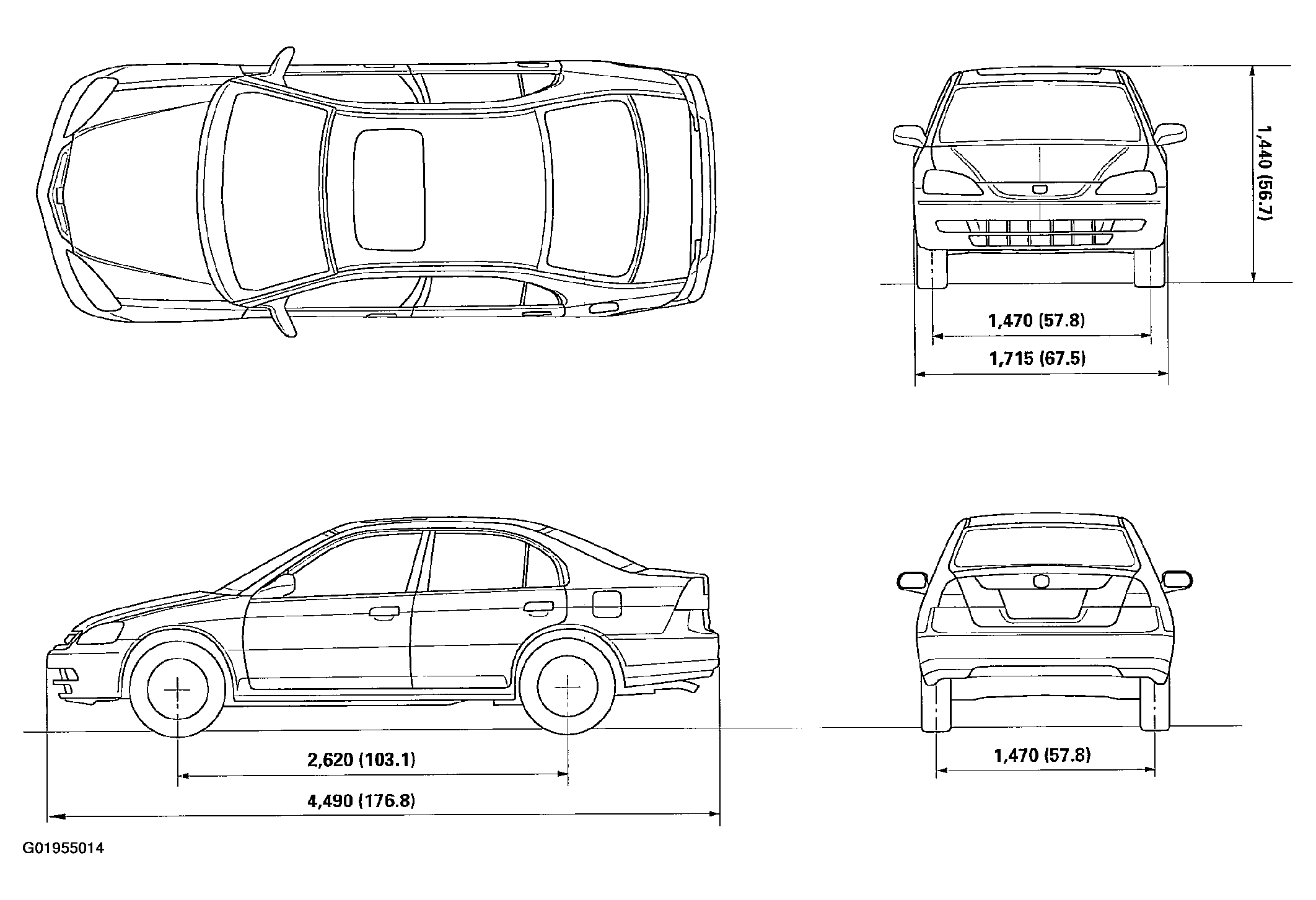
Body Specifications

Fig 1: Identifying Body Specifications
G01955014