LEMON Manuals: Even more car manuals for everyone: 1960-2025
Home >> Acura >> 2004 >> 3.5RL V6-3474cc 3.5L >> Repair and Diagnosis >> Heating and Air Conditioning >> Control Module HVAC >> Description and Operation
April 5, 2026: LEMON Manuals is launched! Read the announcement.

Control Module HVAC: Description and Operation




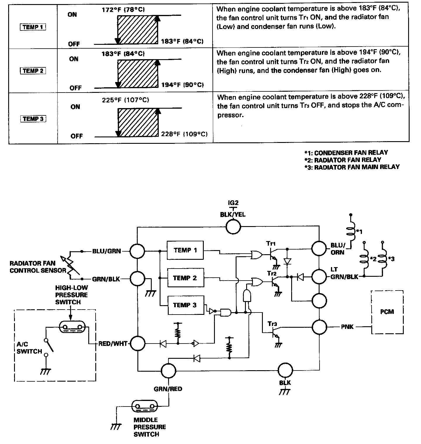
The fan control unit makes calculations based on signals from the radiator fan control sensor. It then controls the operation of the radiator fan, condenser fan and A/C system.