LEMON Manuals: Even more car manuals for everyone: 1960-2025
Home >> Acura >> 2004 >> MDX Base >> Repair and Diagnosis >> Engine Performance >> System >> Fuel Supply System >> Fuel Pump Circuit Troubleshooting
April 5, 2026: LEMON Manuals is launched! Read the announcement.

Fuel Pump Circuit Troubleshooting

If you suspect a problem with the fuel pump, check that the fuel pump actually runs; when it is on, you will hear some noise if you listen to the fuel fill port with the fuel fill cap removed. The fuel pump should run for 2 seconds when the ignition switch is first turned on. If the fuel pump does not make noise, check as follows:

  1. Turn the ignition switch ON (II).
  2. Clear the DTC with the HDS.
  3. Start the engine.
  4. Check for Temporary DTCs or DTCs with the HDS.

    Is DTC P0657 indicated? 

    1. YES  - Go to the indicated DTCs troubleshooting first, then recheck.
    2. NO  - Go to step 5.
  5. Turn the ignition switch OFF.
  6. Remove the driver's dashboard lower cover (see DASHBOARD LOWER COVER REMOVAL/INSTALLATION ), then remove PGM-FI main relay 2 (FUEL PUMP) (A) from the multi-relay box.
    Fig 1: Removing PGM-FI Main Relay 2 (FUEL PUMP)
    G03639936Courtesy of AMERICAN HONDA MOTOR CO., INC.
  7. Turn the ignition switch ON (II).
  8. Measure voltage between PGM-FI main relay 2 (FUEL PUMP) 5P connector terminal No. 1 and body ground.
    Fig 2: Measuring Voltage Between PGM-FI Main Relay 2 (FUEL PUMP) 5P Connector Terminal 1 And Body Ground
    G03639937Courtesy of AMERICAN HONDA MOTOR CO., INC.

    Is there battery voltage? 

    1. YES  - Go to step 9.
    2. NO  -
      • Check the No. 1 FUEL PUMP (15 A) fuse in the under-dash fuse/relay box.
      • Replace the under-dash fuse/relay box.
  9. Turn the ignition switch OFF.
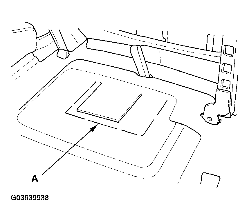
  10. Remove the driver's second row seat (see SECOND ROW SEAT REMOVAL/INSTALLATION ).
  11. Cut the carpet at the dotted line (A). Be careful not to cut the wire harness under the carpet.
    Fig 3: Cutting Carpet At Dotted Line
    G03639938Courtesy of AMERICAN HONDA MOTOR CO., INC.
  12. Remove the access panel from the floor (see FUEL TANK UNIT REMOVAL/INSTALLATION  ).
  13. Measure voltage between fuel pump 5P connector terminal No. 5 and body ground within the first 2 seconds after the ignition switch is turned on.
    Fig 4: Measuring Voltage Between Fuel Pump 5P Connector Terminal 5 And Body Ground
    G03639939Courtesy of AMERICAN HONDA MOTOR CO., INC.

    Is there battery voltage? 

    1. YES  - Go to step  19.
    2. NO  - Go to step 14.
  14. Turn the ignition switch OFF.
  15. Remove PGM-FI main relay 2 (FUEL PUMP).
  16. Connect PGM-FI main relay 2 (FUEL PUMP) 5P connector terminals No. 1 and No. 2 with a jumper wire.
    Fig 5: Connecting PGM-FI Main Relay 2 (FUEL PUMP) 5P Connector Terminals 1 And 2 With Jumper Wire
    G03639940Courtesy of AMERICAN HONDA MOTOR CO., INC.
  17. Turn the ignition switch ON (II)
  18. Measure voltage between fuel pump 5P connector terminal No. 5 and body ground.
    Fig 6: Measuring Voltage Between FUEL PUMP 5P Connector Terminal 5 And Body Ground
    G03639941Courtesy of AMERICAN HONDA MOTOR CO., INC.

    Is there battery voltage? 

    1. YES  - Replace PGM-FI main relay 2 (FUEL PUMP).
    2. NO  - Repair open in the wire between PGM-FI main relay 2 (FUEL PUMP) and the fuel pump 5P connector.
  19. Turn the ignition switch OFF.
  20. Check for continuity between fuel pump 5P connector terminal No. 4 and body ground.
    Fig 7: Checking Continuity Between Fuel Pump 5P Connector Terminal 4 And Body Ground
    G03639942Courtesy of AMERICAN HONDA MOTOR CO., INC.

    Is there continuity? 

    1. YES  - Replace the fuel pump (see FUEL PUMP/FUEL GAUGE SENDING UNIT REPLACEMENT  ).
    2. NO  - Repair open in the wire between the fuel pump 5P connector and G601.