LEMON Manuals: Even more car manuals for everyone: 1960-2025
Home >> Acura >> 2004 >> MDX Base >> Repair and Diagnosis >> External Pages >> Different car >> Section 110 (Active Damper System) >> Active Damper Control Unit Replacement
April 5, 2026: LEMON Manuals is launched! Read the announcement.

Active Damper Control Unit Replacement

WARNING: This page is about a different car, the 2009 Acura MDX, 2008 Acura MDX, and 2007 Acura MDX. However, it is still accessible from the selected car via links, so may be relevant.
  1. Turn the ignition switch to LOCK (0).
  2. Remove the cargo rear trim panel (see TRIM REMOVAL/INSTALLATION - CARGO AREA ).
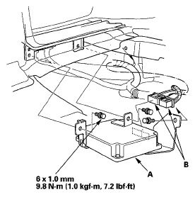
  3. Remove the mounting bolts, and pull out the active damper control unit (A).
    Fig 1: Active Damper Control Unit And Connectors With Torque Specification
    G05486720Courtesy of AMERICAN HONDA MOTOR CO., INC.
  4. Disconnect the active damper control unit connectors (B).
  5. Install the active damper control unit in the reverse order of removal.
    NOTE: Do not pinch the wire harnesses between the frame and the active damper control unit.
  6. Do the memorizing rear suspension full rebound position (see MEMORIZING REAR SUSPENSION FULL REBOUND POSITION  ).
  7. Start the engine, then make sure there are no active damper system DTCs with the HDS (see HOW TO RETRIEVE DTCS AND FREEZE DATA WITH THE HDS (HONDA DIAGNOSTIC SYSTEM)  ).
  8. Do the DAMPER FORCE OPERATION in the ACTIVE DAMPER SYSTEM INSPECTION MENU with the HDS, then make sure the all four damper units function normally.
  9. Test-drive the vehicle, and check that the active damper system indicator does not come on (see ACTIVE DAMPER SYSTEM DAMPER UNITS  ).