LEMON Manuals: Even more car manuals for everyone: 1960-2025
Home >> Acura >> 2004 >> MDX Base >> Repair and Diagnosis >> Transmission >> Automatic Trans >> Automatic Transmission >> System Description >> Electronic Control System >> Clutch Pressure Control
April 5, 2026: LEMON Manuals is launched! Read the announcement.

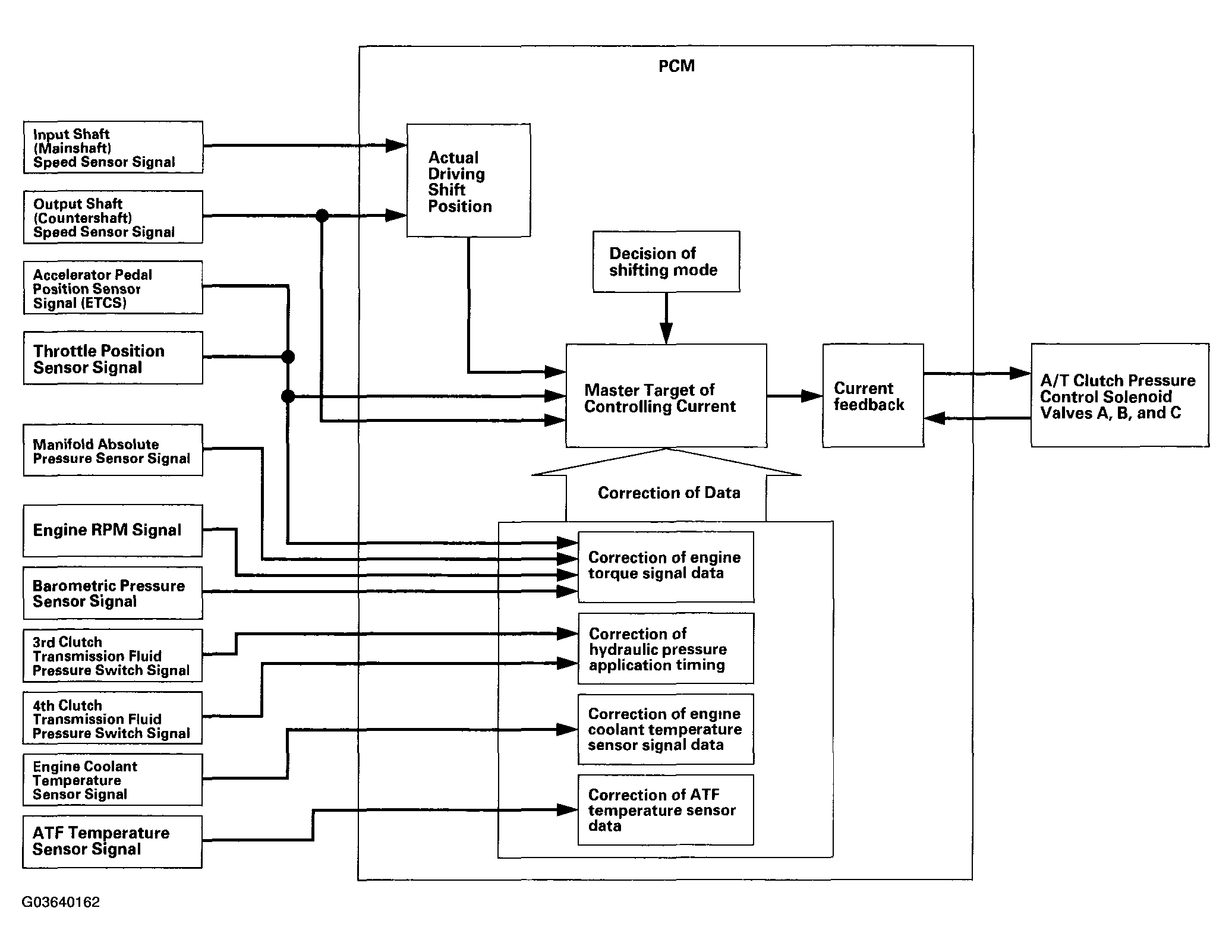
Clutch Pressure Control

The PCM actuates the A/T clutch pressure control solenoid valves A, B, and C to control the clutch pressure. When shifting between lower and higher gears, the clutch pressure regulated by the A/T clutch pressure control solenoid valves A, B, and C engages and disengages the clutch smoothly.

The PCM receives input signals from the various sensors and switches, performs processing data, and outputs a current to the A/T clutch pressure control solenoid valves A, B, and C.

Fig 1: Identifying Clutch Pressure Control - Functional Diagram
G03640162Courtesy of AMERICAN HONDA MOTOR CO., INC.