LEMON Manuals: Even more car manuals for everyone: 1960-2025
Home >> Acura >> 2004 >> RSX Base, Standard >> Repair and Diagnosis (Single Page) >> Electrical >> Body Electrical >> Fuse/Relay Boxes >> Connector to Fuse/Relay Box Index >> Under-dash Fuse/Relay Box
April 5, 2026: LEMON Manuals is launched! Read the announcement.

Under-dash Fuse/Relay Box

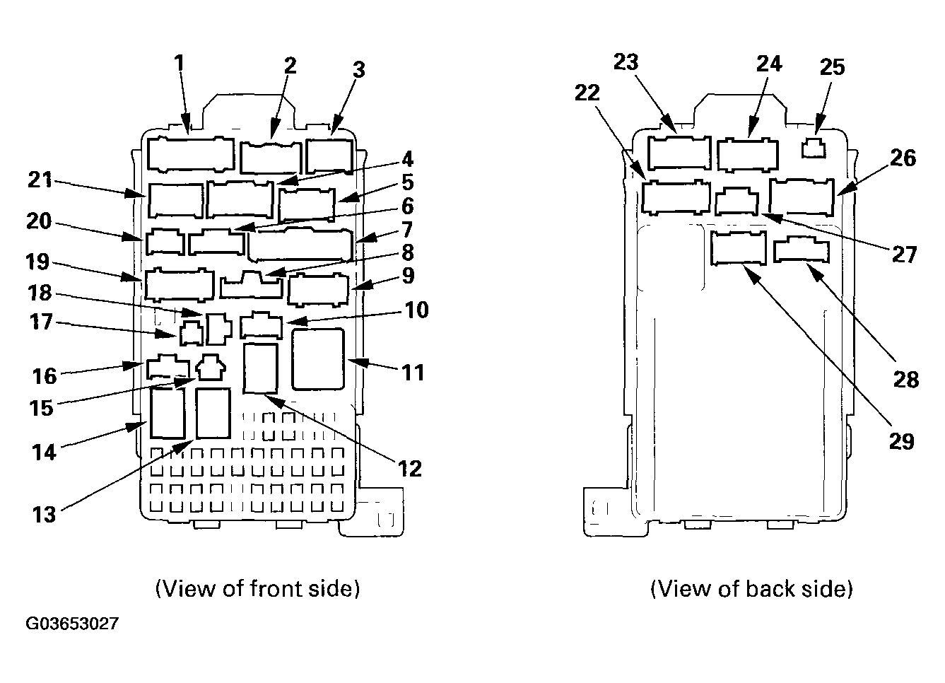
SOCKET AND TERMINAL REFERENCE CHART

Socket Ref Terminal Connects to
A 2 5 Dashboard wire harness (see DASHBOARD WIRE HARNESS (LEFT BRANCH) )
B 3 6 Dashboard wire harness (see DASHBOARD WIRE HARNESS (LEFT BRANCH) )
C 1 14 Dashboard wire harness (see DASHBOARD WIRE HARNESS (LEFT BRANCH) )
D 4 12 Dashboard wire harness (see DASHBOARD WIRE HARNESS (LEFT BRANCH) )
E 5 13 Dashboard wire harness (see DASHBOARD WIRE HARNESS (LEFT BRANCH) )
F 19 12 Engine compartment wire harness (see ENGINE COMPARTMENT WIRE HARNESS (DASHBOARD) )
G 9 10 Engine compartment wire harness (see ENGINE COMPARTMENT WIRE HARNESS (DASHBOARD) )
H 8 3 Engine compartment wire harness (see ENGINE COMPARTMENT WIRE HARNESS (DASHBOARD) )
I 20 5 Engine compartment wire harness (see ENGINE COMPARTMENT WIRE HARNESS (DASHBOARD) )
J 21 8 Engine compartment wire harness (see ENGINE COMPARTMENT WIRE HARNESS (DASHBOARD) )
K 23 17 Dashboard wire harness (see DASHBOARD WIRE HARNESS (LEFT BRANCH) )
L 24 10 Dashboard wire harness (see DASHBOARD WIRE HARNESS (LEFT BRANCH) )
M 22 12 Dashboard wire harness (see DASHBOARD WIRE HARNESS (LEFT BRANCH) )
N 27 6 Dashboard wire harness (see DASHBOARD WIRE HARNESS (LEFT BRANCH) )
O 26 12 Dashboard wire harness (see DASHBOARD WIRE HARNESS (LEFT BRANCH) )
P 7 18 Floor wire harness (see FLOOR WIRE HARNESS (FRONT BRANCH) )
Q 6 8 Floor wire harness (see FLOOR WIRE HARNESS (FRONT BRANCH) )
R 10 6 Dashboard wire harness (see DASHBOARD WIRE HARNESS (LEFT BRANCH) )
Power window relay 12 4  
S 25 2 Dashboard wire harness (see DASHBOARD WIRE HARNESS (LEFT BRANCH) )
Starter cut relay 14 4  
T 18 3 Multiplex control unit service check connector
Taillight relay 13 4  
Turn signal/hazard relay 11 3  
U 15 1 Optional connector
V 16 4 Optional connector
W (Memory erase signal (MES) connector) 17 2 Floor wire harness (see FLOOR WIRE HARNESS (FRONT BRANCH) )
X 28 8 (Plugs directly into the multiplex control unit)
Y 29 13 (Plugs directly into the multiplex control unit)
Fig 1: Identifying Under-dash Fuse/Relay Box Sockets
G03653027Courtesy of AMERICAN HONDA MOTOR CO., INC.