LEMON Manuals: Even more car manuals for everyone: 1960-2025
Home >> Acura >> 2004 >> RSX Base, Standard >> Repair and Diagnosis >> Engine Mechanical >> Auxiliary Emission Control Systems >> EVAP System >> FTP Sensor Replacement >> 2002-2004 models
April 5, 2026: LEMON Manuals is launched! Read the announcement.

2002-2004 models

  1. Remove the EVAP canister (see EVAP CANISTER REPLACEMENT  ).
  2. Remove the clips, hoses, connectors and bolts, then remove FTP sensor assembly (A).
    Fig 1: Removing Clips, Hoses, Connectors, Bolts And FTP Sensor Assembly
    G03651274Courtesy of AMERICAN HONDA MOTOR CO., INC.
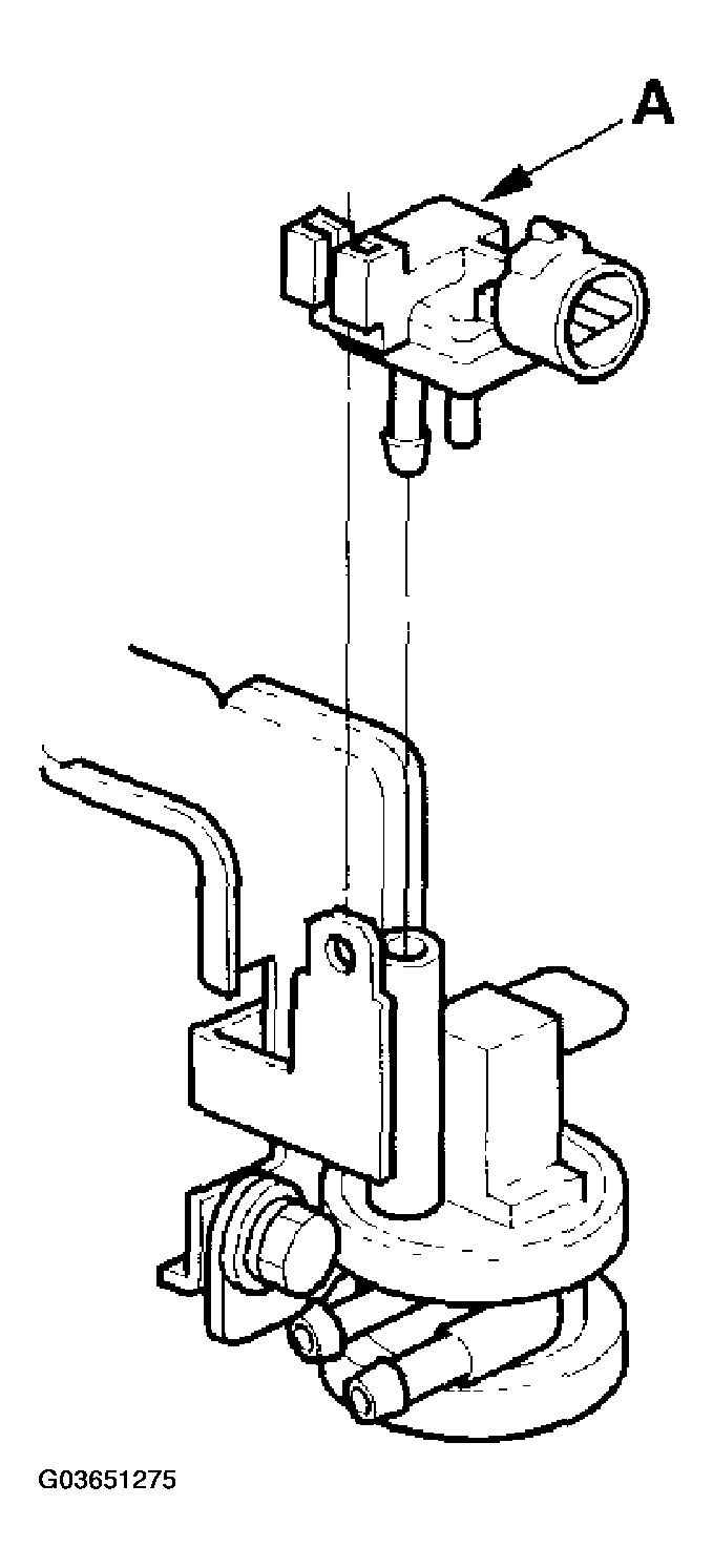
  3. Remove the FTP sensor (A).
    Fig 2: Removing FTP Sensor Assembly
    G03651275Courtesy of AMERICAN HONDA MOTOR CO., INC.
  4. Install the sensor in the reverse order of removal.