LEMON Manuals: Even more car manuals for everyone: 1960-2025
Home >> Acura >> 2004 >> RSX Type S >> Repair and Diagnosis >> Body & Frame >> Windows >> Power Windows >> Passenger's Window Switch Test/Replacement
April 5, 2026: LEMON Manuals is launched! Read the announcement.

Passenger's Window Switch Test/Replacement

  1. Remove the switch panel from the door panel (see DOOR PANEL REMOVAL/INSTALLATION ).
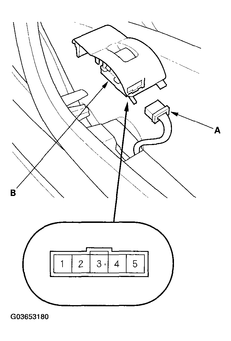
  2. Disconnect the 5P connector (A) from the passenger's power window switch (B).
    Fig 1: Disconnecting 5P Connector From Passenger's Power Window Switch
    G03653180Courtesy of AMERICAN HONDA MOTOR CO., INC.
  3. Remove the two screws and passenger's power window switch.
    Fig 2: Removing Screws And Passenger's Power Window Switch
    G03653181Courtesy of AMERICAN HONDA MOTOR CO., INC.
  4. Check for continuity between the terminals in each switch position according to the table.
    Fig 3: Switch Terminals Continuity Table
    G03653182Courtesy of AMERICAN HONDA MOTOR CO., INC.
  5. If the continuity is not as specified, replace the switch.