LEMON Manuals: Even more car manuals for everyone: 1960-2025
Home >> Acura >> 2004 >> TL Standard >> Repair and Diagnosis >> Steering >> Power Steering >> Power Steering System >> Steering Gearbox Overhaul >> Exploded View >> Reassembly
April 5, 2026: LEMON Manuals is launched! Read the announcement.

Exploded View: Reassembly

  1. Apply vinyl tape (A) to the stepped portion of the pinion shaft, and coat the surface of the vinyl tape with power steering fluid.
    Fig 1: Applying Vinyl Tape To Stepped Portion Of Pinion Shaft
    G03661058Courtesy of AMERICAN HONDA MOTOR CO., INC.
  2. Install the wave washer (B).
  3. Coat the inside surface of the new valve oil seal (C) with power steering fluid, and install the seal with its grooved side facing opposite the bearing, then slide it over the pinion shaft, being careful not to damage its sealing lip (D).
  4. Apply vinyl tape (A) to the splines and stepped portion of the shaft, and coat the surface of the vinyl tape with power steering fluid.
    Fig 2: Applying Vinyl Tape To Splines
    G03661059Courtesy of AMERICAN HONDA MOTOR CO., INC.
  5. Fit the new O-ring (B) in the groove of the pinion shaft. Then slide the new valve seal ring (C) over the shaft and in the groove on the pinion shaft.
  6. Remove the tape, and apply power steering fluid to the surface of the valve seal ring (A).
    Fig 3: Applying Power Steering Fluid To Surface Of Valve Seal Ring
    G03661060Courtesy of AMERICAN HONDA MOTOR CO., INC.
  7. Apply power steering fluid to the inside of the special tool. Set the larger diameter end of the special tool over the valve seal ring, and move the special tool up and down several times to make the valve seal ring fit in the pinion shaft groove.
  8. Remove the special tool, turn it over, slide the smaller diameter end over the valve seal ring. Move it up and down several times to make sure the valve seal ring fits snugly in the pinion shaft groove.
  9. Apply power steering fluid to the surface of the special tool. Slip two new seal rings (A) over the special tool from the smaller diameter end, and expand them. Install only two rings at a time from each end of the pinion shaft sleeve (B).

    Note these items when installing the seal ring:

    • Do not over-expand the seal ring. Install the resin seal rings with care so as not to damage them. After installation, make sure you contract the seal rings using the special tool (sizing tool).
    • There are two types of sleeve seal rings: black and brown. Do not mix the different types of rings as they are not compatible.
      Fig 4: Applying Power Steering Fluid To Surface Of Special Tool
      G03661061Courtesy of AMERICAN HONDA MOTOR CO., INC.
  10. Align the special tool with each groove in the sleeve, and slide a sleeve seal ring into each groove. After installation, compress the seal rings with your fingers temporarily.
  11. Apply power steering fluid to the seal rings on the sleeve, and to the entire inside surface of the special tool, then slowly insert the sleeve into the special tool.
    Fig 5: Applying Steering Fluid To Seal Rings On Sleeve
    G03661062Courtesy of AMERICAN HONDA MOTOR CO., INC.
  12. Move the sleeve back and forth several times to make the seal rings snugly fit in the sleeve. Make sure the seal rings are not twisted.
  13. Apply power steering fluid to the surface of the pinion shaft (A). Slide the sleeve (B) onto the pinion shaft by aligning the locating pin (C) on the inside of the sleeve with the cutout (D) in the shaft. Then install the new snap ring (E) securely in the pinion shaft groove. Be careful not to damage the valve seal ring when inserting the sleeve.
    Fig 6: Applying Power Steering Fluid to Surface Of Pinion Shaft
    G03661063Courtesy of AMERICAN HONDA MOTOR CO., INC.
  14. Apply power steering fluid to the seal ring lip of the new valve oil seal (A), then install the seal in the valve housing (B) using a hydraulic press and special tools. Install the seal with its grooved side facing the tool.
    Fig 7: Applying Power Steering Fluid To Seal Ring Lip Of Valve Oil Seal
    G03661064Courtesy of AMERICAN HONDA MOTOR CO., INC.
  15. Press the roller bearing (C) into the valve housing with a hydraulic press and special tools.
  16. Apply vinyl tape (A) to the pinion shaft, then coat the vinyl tape with power steering fluid.
    Fig 8: Applying Vinyl Tape To Pinion Shaft
    G03661065Courtesy of AMERICAN HONDA MOTOR CO., INC.
  17. Insert the pinion shaft into the valve housing (B). Be careful not to damage the valve seal rings (C) and valve oil seal sealing lip (D).
  18. Remove the vinyl tape from the pinion shaft, then remove any residue from the tape adhesive.
  19. Press the pinion shaft/sleeve into the valve housing with a hydraulic press. Check that the pinion shaft/ sleeve turns smoothly by hand after installing it.
    Fig 9: Pressing Pinion Shaft/Sleeve Into Valve Housing With Hydraulic Press
    G03661066Courtesy of AMERICAN HONDA MOTOR CO., INC.
  20. Coat the special tool with power steering fluid, then slide it onto the rack, big end first.
  21. Position the new O-ring (A) and new piston seal ring (B) on the special tool, then slide them down toward the big end of the tool.

    Note these items during reassembly:

    • Do not over expand the resin seal rings. Install the resin seal rings with care so as not to damage them. After installation, make sure you contract the seal ring using the special tool (sizing tool).
    • Replace the piston's O-ring and seal ring as a set.
      Fig 10: Positioning O-ring And Piston Seal Ring On Special Tool
      G03661067Courtesy of AMERICAN HONDA MOTOR CO., INC.
  22. Pull the O-ring off into the piston groove, then pull the piston seal ring off into the piston groove on top of the O-ring.
  23. Coat the piston seal ring (A) and the inside of the special tool with power steering fluid, then carefully slide the tool onto the rack and over the piston seal ring.
    Fig 11: Coating Piston Seal Ring And Inside Of Special With Power Steering Fluid
    G03661068Courtesy of AMERICAN HONDA MOTOR CO., INC.
  24. Move the special tool back and forth several times to make the piston seal ring fits snugly in the piston.
  25. Coat the sliding surface of the special tool (A) and new cylinder end seal (B) with power steering fluid. Place the seal on the special tool with its grooved side (C) facing opposite the special tool.
    Fig 12: Coating Sliding Surface Of Special Tool And New Cylinder End Seal With Power Steering Fluid
    G03661069Courtesy of AMERICAN HONDA MOTOR CO., INC.
  26. Coat the surface of the steering rack (A) with power steering fluid.
    Fig 13: Coating Surface Of Steering Rack With Power Steering Fluid
    G03661070Courtesy of AMERICAN HONDA MOTOR CO., INC.
  27. Install the cylinder end seal (B) onto the steering rack with its grooved side (C) toward the piston (D).
  28. Separate the cylinder end seal from the special tool, then remove the special tool.
  29. Install the new backup ring (A) on the steering rack, then place the backup ring and cylinder end seal (B) against the piston (C).
    Fig 14: Installing Backup Ring On Steering Rack
    G03661071Courtesy of AMERICAN HONDA MOTOR CO., INC.
  30. Apply multipurpose grease to the steering rack teeth, then insert the steering rack into the gearbox housing. Be careful not to damage the inner surface of the cylinder wall with the rack edges.
    Fig 15: Applying Multipurpose Grease To Steering Rack Teeth
    G03661072Courtesy of AMERICAN HONDA MOTOR CO., INC.
  31. Insert an appropriate size deep socket wrench (A) onto the steering rack as shown in Fig 16.
    Fig 16: Inserting Appropriate Size Deep Socket Wrench Onto Steering Rack
    G03661073Courtesy of AMERICAN HONDA MOTOR CO., INC.
  32. Install the cylinder end seal (B) into the bottom of the cylinder by pressing on the tool with a press. Do not push on the tool with excessive force as it may damage the cylinder end seal.
  33. Remove the tool, and center the steering rack.
  34. Coat the sliding surface of the special tool (A) and new cylinder end seal (B) with power steering fluid. Place the seal on the special tool with its grooved side (C) facing opposite the special tool.
    Fig 17: Coating Sliding Surface Of Special Tool And Cylinder End Seal With Power Steering Fluid
    G03661074Courtesy of AMERICAN HONDA MOTOR CO., INC.
  35. Coat the inside surface of the special tool and steering rack with power steering fluid, then install the cylinder end seal (A) onto the steering rack with its grooved side toward the cylinder.
    Fig 18: Coating Inside Surface Of Special Tool And Steering Rack With Power Steering Fluid
    G03661075Courtesy of AMERICAN HONDA MOTOR CO., INC.
  36. Separate the cylinder end seal from the special tool, then remove the special tool.
  37. Push in the cylinder end seal with your finger. Be careful not to damage the face of the seal with the threads and burrs at the staked position of the cylinder housing.
  38. Hold the gearbox housing using a C-clamp (commercially available) (A) and the wooden blocks (B). Do not clamp the cylinder part of the gearbox housing in the vise.
    Fig 19: Holding Gearbox Housing Using C-Clamp And Wooden Blocks
    G03661076Courtesy of AMERICAN HONDA MOTOR CO., INC.
  39. Coat the inside surface of the cylinder end (A) with power steering fluid, then install the cylinder end by screwing it into the cylinder (B). Tighten the cylinder end to the specified torque.
    Fig 20: Coating Inside Surface Of Cylinder End With Power Steering Fluid
    G03661077Courtesy of AMERICAN HONDA MOTOR CO., INC.
  40. Stake the point of the cylinder shown in Fig 20(opposite from where the stake was removed during disassembly).
  41. Coat the new O-ring (A) with multipurpose grease, and carefully fit it on the valve housing.
    Fig 21: Coating New O-Ring With Multipurpose Grease
    G03661078Courtesy of AMERICAN HONDA MOTOR CO., INC.
  42. Apply multipurpose grease to the needle bearing (B) in the gearbox housing, then install the valve body unit (C) by engaging the gears. Note the valve body unit installation position (direction of the line connections).
  43. Tighten the flange bolts (D) to the specified torque.
  44. Install the cylinder lines.

    Note these items during reassembly:

    • Thoroughly clean the joints of the cylinder lines. The joints must be free of foreign material.
    • Install the cylinder lines by tightening the flare nuts by hand first, then tighten the flare nuts to the specified torque.
      Fig 22: Installing Cylinder Lines
      G03661079Courtesy of AMERICAN HONDA MOTOR CO., INC.
  45. Apply multipurpose grease to the sliding surface and circumference of the rack guide (A), and install it onto the gearbox housing.
    Fig 23: Applying Multipurpose Grease To Sliding Surface Of Rack Guide
    G03661080Courtesy of AMERICAN HONDA MOTOR CO., INC.
  46. Apply new sealant (Three Bond 1215 or Loctite 5699) to the middle of the threads on the rack guide screw (B), then install the spring (C) and rack guide screw.
  47. Tighten the rack guide screw, and loosely install the locknut (D).
  48. Adjust the rack guide screw (see RACK GUIDE ADJUSTMENT  ). After adjusting, check that the rack moves smoothly by sliding it right and left.
  49. Install a new stop rubber (A) and a new lock washer (B). Align the lock washer tabs (C) with the slots (D) on the rack end (E) while holding the lock washer in place. Repeat this step for the other side of the rack.
    Fig 24: Installing Stop Rubber And Lock Washer
    G03661081Courtesy of AMERICAN HONDA MOTOR CO., INC.
  50. Hold the flat surface sections of the steering rack with a wrench, and tighten both rack ends. Be careful not to damage the rack surface with the wrench.
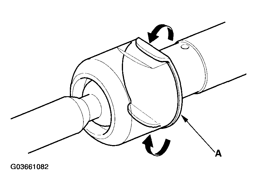
  51. Bend the lock washer (A) back against the flat spots on the rack end joint housing.
    Fig 25: Bending Lock Washer
    G03661082Courtesy of AMERICAN HONDA MOTOR CO., INC.
  52. Apply multipurpose grease to the circumference of the rack end joint housing (A).
    Fig 26: Applying Multipurpose Grease To Circumference Of Rack End Joint Housing
    G03661083Courtesy of AMERICAN HONDA MOTOR CO., INC.
  53. Apply a light coat of silicone grease to the boot grooves (B) on the rack ends.
  54. Center the steering rack within its stroke.
  55. Clean off any grease or contamination from the boot installation grooves (A) and around the gearbox housing. Install the boots (B) on the rack ends with the tie-rod clips (C), and fit the boot end in the installation grooves in the housing properly.
    Fig 27: Installing Boots On Rack Ends With Tie-Rod Clips
    G03661084Courtesy of AMERICAN HONDA MOTOR CO., INC.
  56. After installing the boots, wipe any grease off the threaded section (D) of the rack end.
  57. Install the new boot bands by aligning the tabs (A) with the holes (B) of the band.
    Fig 28: Installing Boot Bands By Aligning Tabs With Holes Of Band
    G03661085Courtesy of AMERICAN HONDA MOTOR CO., INC.
  58. Close the ear portion (A) of the band (B) with commercially available pincers, Oetiker 1098 or equivalent (C).
    Fig 29: Closing Ear Portion Of Band With Commercially Available Pincers
    G03661086Courtesy of AMERICAN HONDA MOTOR CO., INC.
  59. Slide the rack right and left to be certain that the boots are not deformed or twisted.