LEMON Manuals: Even more car manuals for everyone: 1960-2025
Home >> Acura >> 2004 >> TL V6-3.2L >> Repair and Diagnosis >> Relays and Modules >> Relays and Modules - Lighting and Horns >> Headlamp Control Module >> Service and Repair
April 5, 2026: LEMON Manuals is launched! Read the announcement.

Headlamp Control Module: Service and Repair

HID Unit Replacement

1. Make sure you have the anti-theft code for the radio and the navigation system, then write down the channels for the XM radio presets. Make sure the ignition switch is OFF.
2. Turn the combination light switch OFF.
3. Disconnect the battery negative cable, then disconnect the positive cable.
4. Remove the headlight assembly.
5. Remove the bulb socket from the HID bulb.




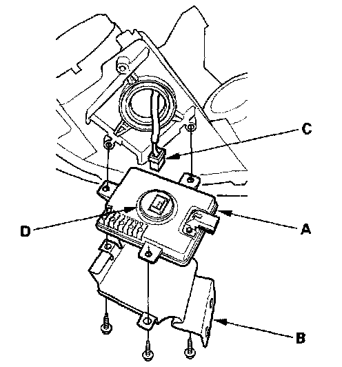
6. Remove the three mounting screws, the HID unit (A) and HID unit cover (B).
7. Disconnect the 4P connector (C) from the HID unit.
8. Inspect the gasket (D) for damage. If damaged, replace it.
9. Install in the reverse order of removal.
10. Enter the anti-theft codes for the radio and the navigation system, then enter the customer's XM radio channel presets.