LEMON Manuals: Even more car manuals for everyone: 1960-2025
Home >> Acura >> 2004 >> TL V6-3.2L >> Repair and Diagnosis >> Specifications >> Mechanical Specifications >> Engine >> Cylinder Block Assembly >> System Specifications >> Torque Specifications >> Main Bearing Cap
April 5, 2026: LEMON Manuals is launched! Read the announcement.

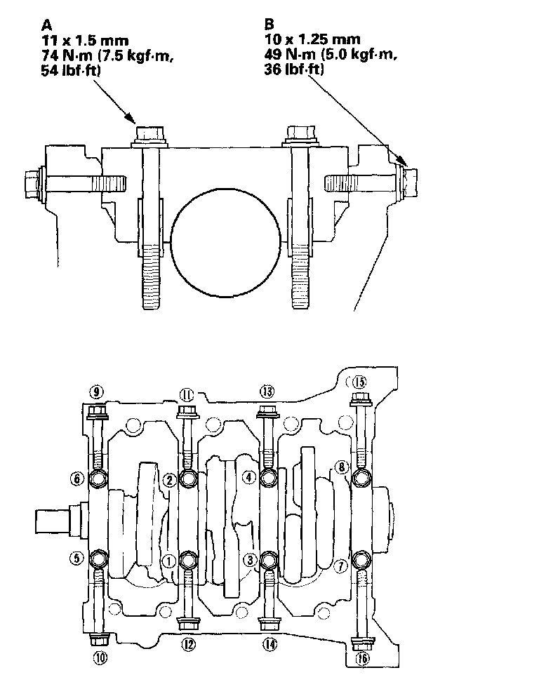
Main Bearing Cap





Tighten the bearing cap bolts (A), and then the bearing cap side bolts (B) to the specified torque in the sequence shown. Repeat the torque sequence again to assure the bolts are properly torqued.