LEMON Manuals: Even more car manuals for everyone: 1960-2025
Home >> Acura >> 2004 >> TSX L4-2.4L >> Repair and Diagnosis >> Accessories and Optional Equipment >> Navigation System >> Description and Operation >> System Description >> Navigation Function
April 5, 2026: LEMON Manuals is launched! Read the announcement.

Navigation Function

Navigation Function

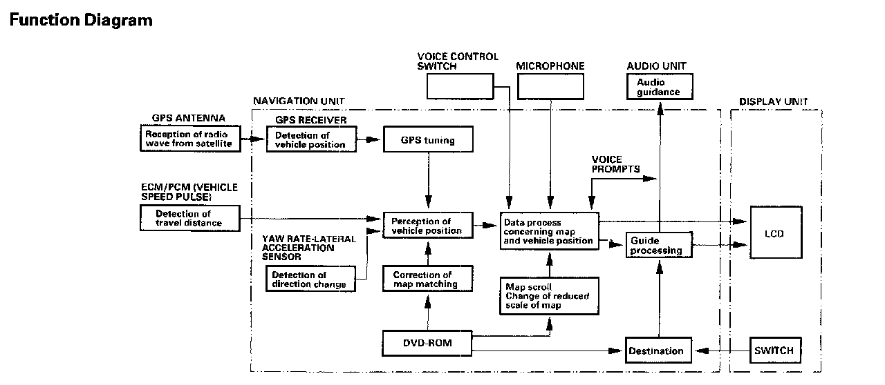
Function Diagram:




The navigation system is composed of the navigation unit, the ECM/PCM (vehicle speed signal), the GPS antenna, microphone, voice control switch, audio unit, climate control unit, and the display unit.




Vehicle Speed Pulse
The vehicle speed pulse is sent by the ECM/PCM. The ECM/PCM receives a signal from the countershaft speed sensor, then the processes the signal and transmits it to the speedometer and other systems.

Yaw Rate-Lateral Acceleration Sensor
The yaw rate-lateral acceleration sensor (located in the navigation unit) detects the direction change (angular speed) of the vehicle. The sensor is an oscillation gyro built into the navigation unit.

Sensor Element Structure
The sensor element is shaped like a tuning fork, and it consists of the piezoelectric parts, the metal block, and the support pin. There are four piezoelectric parts: one to drive the oscillators, one to monitor and maintain the oscillation at a regular frequency, and two to detect angular velocity. The two oscillators, which have a 90-degree twist in the center, are connected at the bottom by the metal block and supported by the support pin. A detection piezoelectric part is attached to the top of each oscillator. The driving piezoelectric part is attached to the bottom of one oscillator, and the monitoring piezoelectric part is attached to the bottom of the other oscillator.

Oscillation Gyro Principles
The piezoelectric parts have "electric/mechanical transfer characteristics. " They bend vertically when voltage is applied to both sides of the parts, and voltage is generated between both sides of the piezoelectric parts when they are bent by an external force. The oscillation gyro functions by utilizing this characteristic of the piezoelectric parts and "Coriolis force. " (Coriolis force deflects moving objects as a result of the earth's rotation.) In the oscillation gyro, this force moves the sensor element when angular velocity is applied.

Operation
1. The driving piezoelectric part oscillates the oscillator by repeatedly bending and returning when an AC voltage of 6 kHz is applied to the part. The monitoring-side oscillator resonates because it is connected to the driving-side oscillator by the metal block.
2. The monitoring piezoelectric part bends in proportion to the oscillation and outputs voltage (the monitor signal). The navigation unit control circuit controls the drive signal to stabilize the monitor signal.
3. When the vehicle is stopped, the detecting piezoelectric parts oscillate right and left with the oscillators, but no signal is output because the parts are not bent (no angular force)
4. When the vehicle turns to the right, the sensor element moves in a circular motion with the right oscillator bending forward and the left oscillator bending rearward. The amount of forward/rearward bend varies according to the angular velocity of the vehicle.




5. The detecting piezoelectric parts output voltage (the yaw rate signal) according to the amount of bend. The amount of vehicle direction change is determined by measuring this voltage.




Global Positioning System (GPS)
The global positioning system (GPS) enables the navigation system to determine the current position of the vehicle by utilizing the signals transmitted from the satellites in orbit around the earth. The satellites transmit the satellite identification signal, orbit information, transmission time signal, and other information. When the GPS receiver receives a signal from three or more satellites simultaneously, it calculates the current position of the vehicle based on the distance to each satellite and the satellite positions on their respective orbits.




Precision of GPS
The precision of the GPS varies according to the number of satellites from which electric waves are received and the control condition. The precision is indicated by the color of the GPS icon shown on the upper right of the display.

GPS Antenna
The GPS antenna amplifies and transmits the signals received from the satellites to the GPS receiver.

GPS Receiver
The GPS receiver is built in the navigation unit. It calculates the vehicle position by receiving the signal from the GPS antenna. The vehicle position and signal reception condition is transmitted from the GPS receiver to the navigation control unit to adjust vehicle position.

Navigation Unit
The navigation unit calculates the vehicle position and guides you to the destination. The unit performs map matching correction, GPS correction, and distance tuning. It also controls the menu functions and the DVD-ROM drive, and interprets voice commands. With control of all these items, the navigation unit makes the navigation picture signal, then it transmits the signal to the display unit and audio driving instructions to the audio unit.

Calculation of Vehicle Position
The navigation unit calculates the vehicle position (the driving direction and the current position) by receiving the directional change signals from the yaw rate sensor and the travel distance signals from the PCMs vehicle speed pulse (VSP) signal.

Map Matching Tuning
The map matching tuning is accomplished by indicating the vehicle position on the roads on the map. The map data transmitted from the DVD-ROM is checked against the vehicle position data, and the vehicle position is indicated on the nearest road. Map matching tuning does not occur when the vehicle travels on a road not shown on the map, or when the vehicle position is far away from a road on the map.

GPS Tuning
The GPS tuning is accomplished by indicating the vehicle position as the GPS's vehicle position. The navigation unit compares its calculated vehicle position data with the GPS vehicle position data. If there is large difference between the two, the indicated vehicle position is adjusted to the GPS vehicle position.

Distance Tuning
The distance tuning reduces the difference between the travel distance signal from the VSP and the distance data on the map. The navigation unit compares its calculated vehicle position data with the GPS vehicle position data. The navigation unit then decreases the tuning value when the vehicle position is always ahead of the GPS vehicle position, and it increases the tuning value when the vehicle position is always behind the GPS vehicle position.

Route Guidance
The navigation unit can calculate different routes to a selected destination. You have five options:
- Direct Route - Calculate a route that is the most direct.
- Easy Route - Calculate a route that minimizes the number of turns needed.
- Minimize Freeways - Calculate a route that avoids freeway travel. If that is not possible, keep the amount of freeway travel to a minimum.
- Minimize Toll Roads - Calculate a route that avoids, or minimizes travel on toll roads.
- Maximize Freeways - Calculate a route that uses freeways as much as possible.

Audio Guidance
The navigation unit transmits audio driving instructions before entering an intersection or passing a junction. The audio instructions come through the audio unit to the front speakers.

NOTE: The front speakers are muted whenever the navigation system is giving guidance commands, and all of the speakers when the voice control system is being used.

DVD-ROM
The map data (including all scale rates) is stored in the DVD-ROM. The map data includes:
- Road distances, road widths, speed limits, traffic regulations, passing time at junction, distances to junctions, and the driving instructions for audio guidance.
- Latitude and longitude GPS.

Audio Unit
The audio unit receives the audio driving instructions from the navigation unit and transmits the instructions through the front speakers even when the audio system is in use.

Display Unit
The display unit uses a liquid crystal display (LCD). The LCD is a 8-inch-diagonal, thin film transistor (TFT), stripe type with 336,960 picture elements. The color film and fluorescent light are laid out on the back of the liquid crystal film. The touch sensor on the front of the LCD consists of a touch sensitive resistive membrane with an infinite number of possible touch locations. To maintain compatibility with earlier display units the sensing locations are confined to a grid of 20 vertical and 9 horizontal touch locations. This produces 180 total sensing points. The display unit transmits the signal from each operation key and the touch switches to the navigation unit over the GA-Net bus.

Microphone
The microphone receives voice commands and transmits them to the navigation unit for interpretation.

Talk Button (Voice Control Switch)
Activates the voice control system in the navigation unit to accept voice commands.

Back Button (Voice Control Switch)
Returns the display to the previous screen.