LEMON Manuals: Even more car manuals for everyone: 1960-2025
Home >> Acura >> 2004 >> TSX L4-2.4L >> Repair and Diagnosis >> Specifications >> Mechanical Specifications >> Engine >> Cylinder Head Assembly >> System Specifications >> Torque Specifications
April 5, 2026: LEMON Manuals is launched! Read the announcement.

Torque Specifications

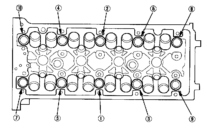
Cylinder Head Bolts





Tighten the cylinder head bolts in sequence to 39 Nm (4.0 kgf-m, 29 ft. lbs.). Use a beam-type torque wrench. When using a preset-type torque wrench, be sure to tighten slowly and do not overtighten.
If a bolt makes any noise while you are torquing it, loosen the bolt and retighten it from the first step.
Specified Torque 39 Nm (4.0 kgf-m, 29 ft. lbs.)





After torquing, tighten all cylinder head bolts in two steps (90° per step). If you are using a new cylinder head bolt, tighten the bolt an extra 90°.

Note: Apply engine oil to the threads and under the bolt heads of all cylinder head bolts.


Cylinder Head Bolt Reusability





Measure the diameter of each cylinder head bolt at point A and point B.
If either diameter is less than 10.6 mm (0.42 inch), replace the cylinder head bolt.


Intake Manifold

Specified Torque 22 Nm (2.2 kgf-m, 16 ft. lbs.)


Camshaft Holders / Caps





Tighten the bolts in sequence to the specified torque.

Specified Torque
8 mm bolts: 22 Nm (2.2 kgf-m, 16 ft. lbs.)
6 mm bolts: 12 Nm (1.2 kgf-m, 8.7 ft. lbs.)
6 mm bolts: (21), (22), (23)


Camshaft Pulley/Gear

Specified torque
VTC actuator mounting bolt: 113 Nm (11.5 kgf-m, 83 ft. lbs.)
Exhaust camshaft sprocket mounting bolt: 72 Nm (7.3 kgf-m, 53 ft. lbs.)


Exhaust Manifold




Refer to the illustration or the Manifold Replacement procedure.