LEMON Manuals: Even more car manuals for everyone: 1960-2025
Home >> Acura >> 2004 >> TSX L4-2.4L >> Repair and Diagnosis >> Specifications >> Mechanical Specifications >> Engine >> System Specifications >> Torque and Sequence
April 5, 2026: LEMON Manuals is launched! Read the announcement.

Torque and Sequence

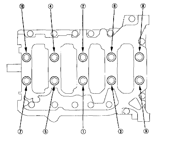
Cylinder Head Bolts





Tighten the cylinder head bolts in sequence to 39 Nm (4.0 kgf-m, 29 ft. lbs.). Use a beam-type torque wrench. When using a preset-type torque wrench, be sure to tighten slowly and do not overtighten.
If a bolt makes any noise while you are torquing it, loosen the bolt and retighten it from the first step.
Specified Torque 39 Nm (4.0 kgf-m, 29 ft. lbs.)





After torquing, tighten all cylinder head bolts in two steps (90° per step). If you are using a new cylinder head bolt, tighten the bolt an extra 90°.

Note: Apply engine oil to the threads and under the bolt heads of all cylinder head bolts.


Cylinder Head Bolt Reusability





Measure the diameter of each cylinder head bolt at point A and point B.
If either diameter is less than 10.6 mm (0.42 inch), replace the cylinder head bolt.


Intake Manifold

Specified Torque 22 Nm (2.2 kgf-m, 16 ft. lbs.)


Camshaft Holders / Caps





Tighten the bolts in sequence to the specified torque.

Specified Torque
8 mm bolts: 22 Nm (2.2 kgf-m, 16 ft. lbs.)
6 mm bolts: 12 Nm (1.2 kgf-m, 8.7 ft. lbs.)
6 mm bolts: (21), (22), (23)


Main Bearing Caps, Lower Cylinder Block Bolts





Tighten the bearing cap bolts in sequence to 29 Nm (3.0 kgf-m, 22 ft. lbs.).





Tighten the bearing cap bolts an additional 56°.





Tighten the 8 mm bolts in sequence to 22 Nm (2.2 kgf-m, 16 ft. lbs.).


Connecting Rod Caps

Tighten the connecting rod bolts to 36 Nm (3.7 kgf-m, 27 ft. lbs.).





Tighten the connecting rod bolts an additional 120°.


Crankshaft Pulley Bolt





Tighten the bolt to 49 Nm (5.0 kgf-m, 36 ft. lbs.) with a torque wrench and 19 mm socket (C). Do not use an impact wrench.

Then tighten the pulley bolt an additional 90°.


Flywheel/Flexplate Bolt Torque and Sequence

Flywheel:
Bolts to 103 Nm (10.5 kgf-m, 76 ft. lbs.)
Sequence = in a crisscross pattern in two or more steps

Flexplate:
Bolts to 76 Nm (7.5 kgf-m, 54 ft. lbs.)
Sequence = in a crisscross pattern in two or more steps


Oil Pump Torque and Sequence




Refer to the illustration or the Oil Pump Overhaul procedure.


Exhaust Manifold




Refer to the illustration or the Manifold Replacement procedure.


Water Pump




Refer to the illustration or the Water Pump Replacement procedure.