LEMON Manuals: Even more car manuals for everyone: 1960-2025
Home >> Acura >> 2004 >> TSX L4-2.4L >> Repair and Diagnosis >> Windows and Glass >> Windows >> Power Window Switch >> Service and Repair >> Master Switch Replacement
April 5, 2026: LEMON Manuals is launched! Read the announcement.

Master Switch Replacement

Master Switch Replacement

1. Carefully pry off the driver's door switch trim.




2. Disconnect the power mirror and power window switch connectors (A).




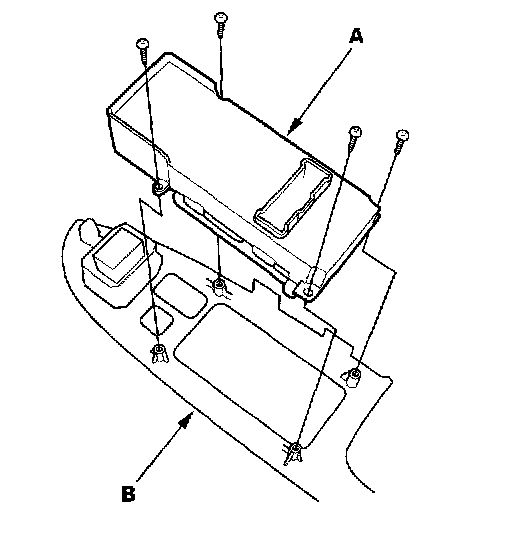
3. Remove the four mounting screws, then remove the master switch (A) from the panel (B).