LEMON Manuals: Even more car manuals for everyone: 1960-2025
Home >> Acura >> 2004 >> TSX Standard >> Repair and Diagnosis >> Body & Frame >> Windows >> Power Windows >> Master Switch Replacement
April 5, 2026: LEMON Manuals is launched! Read the announcement.

Master Switch Replacement

  1. Carefully pry off the driver's door switch trim (see FRONT DOOR PANEL REMOVAL/INSTALLATION ).
  2. Disconnect the power mirror and power window master switch connectors (A).
    Fig 1: Identifying Power Mirror And Power Window Switch Connectors
    G05492917Courtesy of AMERICAN HONDA MOTOR CO., INC.
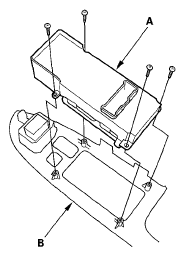
  3. Remove the four mounting screws, then remove the master switch (A) from the panel (B).
    Fig 2: Identifying Master Switch And Panel With Mounting Screws
    G05492918Courtesy of AMERICAN HONDA MOTOR CO., INC.